电动法兰球阀产品概述
电动法兰球阀由端部连接形式为法兰的球阀与电动执行机构组成,该阀可以电动遥控控制,也可就地手动操作,带有行程开关信号灯和就地开度指示,其电装无须另配伺服放大器,接入电压为单相220V或三相380V、频率50Hz/60Hz的电源即可在阀杆上端施加一定的转矩并传递给球体,使它旋转90度,球体的通孔则与阀体通道中心线重合或垂直,阀门便完成了全开或全关的动作,从而实现对管道内介质的流通或截断。本产品通常用于远程切断或接通管路中的介质,亦可用于流体的流量调节与控制,具有启闭迅速、结构紧凑,体积小,重量轻,流体阻力小、阀座与端面法兰距离近,物料滞留少,密封性能好等特点,广泛应用于石油、石化、化工、冶金、造纸、制药、环保等行业。
电动法兰球阀部件材料
序号 | 部件名称 | 材料名称 | ||||
1 | 左 阀 体 | WCB | CF8 | CF3 | CF8M | CF3M |
2 | 右 阀 体 | WCB | CF8 | CF3 | CF8M | CF3M |
3 | 球 体 | A105 | 304 | 304L | 316 | 316L |
4 | 阀 座 | RPTFE、PTFE、TEFLON、NYLON、PPL、PEEK、DEVLON、不锈钢+表面硬化处理 | ||||
5 | 阀 杆 | 2Cr13 | 304 | 304L | 316 | 316L |
6 | 填料压盖 | WCB | CF8 | CF3 | CF8M | CF3M |
7 | 填 料 | 柔性石墨环、V形聚四氟乙烯、碳纤维编织 | ||||
8 | 螺 柱 | 35CrMoA | 06Cr19Ni10 | 06Cr19Ni10 | 06Cr17Ni12Mo2 | 06Cr17Ni12Mo2 |
9 | 螺 母 | 30CrMoA | 06Cr19Ni10 | 06Cr19Ni10 | 06Cr17Ni12Mo2 | 06Cr17Ni12Mo2 |
10 | 电动装置 | 组合件 | 组合件 | 组合件 | 组合件 | 组合件 |
电动法兰球阀技术规范
公称压力PN(MPa) | 1.6 | 2.5 | 4.0 | 6.4 | 10.0 |
壳体试验压力(MPa) | 2.4 | 3.75 | 6.0 | 9.6 | 15.0 |
液体高压密封试验压力(MPa) | 1.76 | 2.75 | 4.4 | 7.04 | 11.0 |
气体低压密封试验压力(MPa) | 0.6 | 0.6 | 0.6 | 0.6 | 0.6 |
设计制造 | GB/T 12237、GB/T 21385、API 6D、API 608、ASME B16.34 | ||||
结构长度 | GB/T 12221、API 6D、ASME B16.10 | ||||
法兰尺寸 | JB/T 79、GB/T 9113、HG/T 20592、HG/T 20615、SH/T 3406、ASME B16.5等 | ||||
检验试验 | JB/T 9092、GB/T 26480、API 6D、API 598 | ||||
控制方式 | 开关到位灯(开关两位控制)、智能调节(4~20mA模拟量信号控制) | ||||
电源电压 | 220VAC或380V | ||||
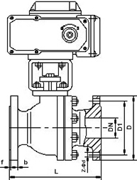
电动法兰球阀外型尺寸
公称压力 PN(MPa) | 公称通径 DN(mm) | 尺寸(mm) | |||||
L | D | D1 | D2 | b-f | Z-ød | ||
1.6 | 15 | 130 | 95 | 65 | 45 | 16-2 | 4-14 |
20 | 140 | 105 | 75 | 58 | 18-2 | 4-14 | |
25 | 150 | 115 | 85 | 68 | 18-2 | 4-14 | |
32 | 165 | 140 | 100 | 78 | 18-2 | 4-18 | |
40 | 180 | 150 | 110 | 88 | 18-2 | 4-18 | |
50 | 200 | 165 | 125 | 102 | 18-2 | 4-18 | |
65 | 220 | 185 | 145 | 122 | 18-2 | 8-18 | |
80 | 250 | 200 | 160 | 138 | 20-2 | 8-18 | |
100 | 280 | 220 | 180 | 158 | 20-2 | 8-18 | |
125 | 320 | 250 | 210 | 188 | 22-2 | 8-18 | |
150 | 360 | 285 | 240 | 212 | 22-2 | 8-22 | |
200 | 400 | 340 | 295 | 268 | 24-2 | 12-22 | |
250 | 450 | 405 | 355 | 320 | 26-2 | 12-26 | |
注:以上为HG/T 20592-2009标准PN16整体钢制管法兰尺寸。如需其他尺寸,请来电咨询! | |||||||
电动法兰球阀结构图

如果你需订购我厂电动球阀产品,咨询时烦请注明产品型号,如无法提供型号数据,请说明公称通径、公称压力、阀体材质、内件材质、介质温度,本产品电动执行器可选用普通开关型、调节型、防爆型等,密封面材料可根据使用介质和工作温度的不同需求有软密封和硬密封等可供选择。