衬氟放料阀产品简介
衬氟放料阀是一种在金属阀门与流体接触的各个部位,其中包括阀体内腔、阀瓣和阀杆光杆部分等均包衬了一层氟塑料,使其与腐蚀性介质隔断开来,从而让它既有钢制放料阀的机械强度,又有氟塑料的耐腐性的衬四氟放料阀。该阀衬里层由于分子结构中引入具有负电性的氟原子,因而拥有较高的化学稳定性和耐高低温性能,除了熔融碱金属、ClF₃及元素氟外,它能抵抗无论何种浓度的酸、碱、盐、氧化剂和其它强腐蚀性介质的消损和破坏,而且它可以产生弹性变形,因此有助于密封,泄漏等级可以做到IV级。本产品有手动、气动、气动带手动、电动等传动方式,端部采用法兰连接,适用于无硬质固体颗粒的酸、碱、盐等腐蚀性的物料储槽、反应釜、储罐和其他容器之放料及取样。
衬氟放料阀部件材料
序号 | 部件名称 | 材料名称 | ||||
1 | 阀 体 | WCB | CF8 | CF3 | CF8M | CF3M |
2 | 阀 盖 | WCB | CF8 | CF3 | CF8M | CF3M |
3 | 阀 瓣 | WCB | CF8 | CF3 | CF8M | CF3M |
4 | 阀 杆 | WCB | CF8 | CF3 | CF8M | CF3M |
5 | 阀 座 | F46/FEP聚全氟乙丙烯、F4/PTFE聚四氟乙烯、PFA可溶性聚四氟乙烯 | ||||
6 | 衬 里 层 | F46/FEP聚全氟乙丙烯、F4/PTFE聚四氟乙烯、PFA可溶性聚四氟乙烯 | ||||
7 | 填 料 | PTFE | PTFE | PTFE | PTFE | PTFE |
8 | 填料压盖 | WCB | CF8 | CF3 | CF8M | CF3M |
9 | 螺 栓 | 35 | 304 | 304 | 316 | 316 |
10 | 螺 母 | 45 | 304 | 304 | 316 | 316 |
衬氟放料阀技术规范
公称压力PN(MPa) | 0.6 | 1.0 | 1.6 | 2.5 | 2.0 |
壳体强度试验压力(MPa) | 0.9 | 1.5 | 2.4 | 3.75 | 3.0 |
高压液密封试验压力(MPa) | 0.66 | 1.1 | 1.76 | 2.75 | 2.2 |
低压气密封试验压力(MPa) | 0.6 | 0.6 | 0.6 | 0.6 | 0.6 |
设计制造 | HG/T 3704-2003 氟塑料衬里阀门通用技术条件 | ||||
法兰标准 | JB/T 79、GB/T 9113、HG/T 20592、HG/T 20615、SH/T 3406、ASME B16.5 | ||||
检验试验 | HG/T 3704-2003 氟塑料衬里阀门通用技术条件 | ||||
适用温度 | -29℃ ~ 150℃ | ||||
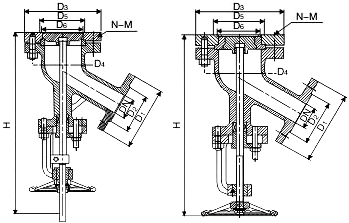
衬氟放料阀外型尺寸
公称压力 PN(MPa) | 公称通径 DN(mm) | 上展式尺寸(mm) | 下展式尺寸(mm) | ||||||||||
D1 | D2 | D3 | D4 | D5 | D6 | D1 | D2 | D3 | D4 | D5 | D6 | ||
1.6 | 25 | 115 | 85 | 115 | 85 | — | — | 115 | 85 | 135 | 100 | 70 | 40 |
32 | 135 | 100 | 135 | 100 | 70 | 40 | 135 | 100 | 145 | 110 | 75 | 55 | |
40 | 145 | 110 | 145 | 110 | 70 | 50 | 145 | 110 | 160 | 125 | 80 | 60 | |
50 | 165 | 125 | 160 | 125 | 80 | 60 | 160 | 125 | 180 | 145 | 100 | 80 | |
65 | 180 | 145 | 180 | 145 | 95 | 75 | 180 | 145 | 195 | 160 | 135 | 110 | |
80 | 195 | 160 | 195 | 160 | 110 | 90 | 195 | 160 | 225 | 190 | 160 | 135 | |
100 | 215 | 180 | 215 | 180 | 130 | 110 | 215 | 180 | 260 | 225 | 200 | 175 | |
125 | 245 | 210 | 245 | 210 | 160 | 130 | 245 | 210 | 280 | 245 | 200 | 175 | |
150 | 280 | 240 | 280 | 240 | 190 | 150 | 280 | 240 | 335 | 295 | 240 | 210 | |
200 | 335 | 295 | 335 | 295 | 240 | 200 | 335 | 295 | 405 | 355 | 285 | 240 | |
衬氟放料阀结构图

如果你需订购我厂放料阀产品,咨询时烦请说明类型,公称通径,公称压力,阀体和阀内组件材料,使用温度,结构形式,本产品有上展式、下展式和柱塞式三种,传动方式可选用手动、气动、电动等。