气动放料阀产品概述
气动放料阀是一种由气动执行机构、行程开关、二位三通电磁阀和放料阀组件等组成,其驱动形式为气缸活塞直行程控制,根据选配不同的附件可以实现开关、调节等功能。该阀根据罐内安装的搅拌器类型,分为上展式和下展式两种典型结构形式,它利用阀门上气动执行器的优点,可远距离控制阀门,使工人远离出料口,实现半自动或全自动操作。本产品特适用于需高空作业或对人体有害物料的排放。
气动放料阀是利用有压气体作为动力源,推动活塞在气缸内进行直线往复运动,再配备电磁阀和行程开关等限位控制机构,从而使气动执行机构输出轴驱动阀杆带动阀瓣做上升和下降动作转换,以实现阀门的自动开启和关闭。本产品安装和使用方便,易修理,不受气温变化的影响,又可以远程控制阀门,因此特适合安装在不适于人工手动作业的储料罐、反应釜及其他容器的底部作放料、排料及取样用。
气动放料阀部件材料
序号 | 部件名称 | 材料名称 | ||||
1 | 阀 体 | WCB | CF8 | CF3 | CF8M | CF3M |
2 | 支 架 | WCB | CF8 | CF3 | CF8M | CF3M |
3 | 阀 座 | WCB | CF8 | CF3 | CF8M | CF3M |
4 | 阀 瓣 | WCB | CF8 | CF3 | CF8M | CF3M |
5 | 阀 杆 | 2Cr13 | 06Cr19Ni10 | 022Cr19Ni10 | 06Cr17Ni12Mo2 | 022Cr17Ni12Mo2 |
6 | 填 料 | GRAPHITE、RPTFE、PTFE、TEFLON、PPL | ||||
7 | 填料压盖 | WCB | CF8 | CF8 | CF8M | CF8M |
8 | 垫 片 | GRAPHITE | PTFE | PTFE | PTFE | PTFE |
9 | 螺 柱 | 35CrMoA | 06Cr19Ni10 | 06Cr19Ni10 | 06Cr17Ni12Mo2 | 06Cr17Ni12Mo2 |
10 | 螺 母 | 30CrMo | 06Cr19Ni10 | 06Cr19Ni10 | 06Cr17Ni12Mo2 | 06Cr17Ni12Mo2 |
11 | 气动装置 | 组合件 | 组合件 | 组合件 | 组合件 | 组合件 |
气动放料阀技术规范
公称压力PN(MPa) | 0.6 | 1.0 | 1.6 | 2.5 | 2.0 |
壳体强度试验压力(MPa) | 0.9 | 1.5 | 2.4 | 3.75 | 3.0 |
高压水密封试验压力(MPa) | 0.66 | 1.1 | 1.76 | 2.75 | 2.2 |
低压气密封试验压力(MPa) | 0.6 | 0.6 | 0.6 | 0.6 | 0.6 |
设计制造 | JB/T 11489-2013 放料用截止阀 | ||||
法兰标准 | JB/T 79、GB/T 9113、HG/T 20592、HG/T 20615、SH/T 3406、ASME B16.5等 | ||||
检验试验 | JB/T 11489-2013 放料用截止阀 | ||||
工作温度 | -60℃ ~ 232℃ | ||||
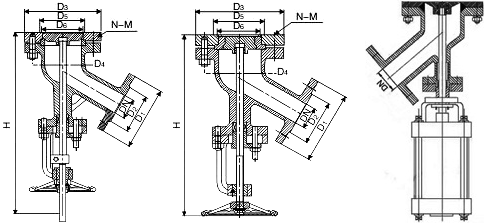
气动放料阀外型尺寸
公称压力 PN(MPa) | 公称通径 DN(mm) | 上展式尺寸(mm) | 下展式尺寸(mm) | ||||||||||
D1 | D2 | D3 | D4 | D5 | D6 | D1 | D2 | D3 | D4 | D5 | D6 | ||
1.6 | 25 | 115 | 85 | 115 | 85 | — | — | 115 | 85 | 135 | 100 | 70 | 40 |
32 | 135 | 100 | 135 | 100 | 70 | 40 | 135 | 100 | 145 | 110 | 75 | 55 | |
40 | 145 | 110 | 145 | 110 | 70 | 50 | 145 | 110 | 160 | 125 | 80 | 60 | |
50 | 165 | 125 | 160 | 125 | 80 | 60 | 160 | 125 | 180 | 145 | 100 | 80 | |
65 | 180 | 145 | 180 | 145 | 95 | 75 | 180 | 145 | 195 | 160 | 135 | 110 | |
80 | 195 | 160 | 195 | 160 | 110 | 90 | 195 | 160 | 225 | 190 | 160 | 135 | |
100 | 215 | 180 | 215 | 180 | 130 | 110 | 215 | 180 | 260 | 225 | 200 | 175 | |
125 | 245 | 210 | 245 | 210 | 160 | 130 | 245 | 210 | 280 | 245 | 200 | 175 | |
150 | 280 | 240 | 280 | 240 | 190 | 150 | 280 | 240 | 335 | 295 | 240 | 210 | |
200 | 335 | 295 | 335 | 295 | 240 | 200 | 335 | 295 | 405 | 355 | 285 | 240 | |
气动放料阀结构图

本产品按结构型式的不同分为气动上展式放料阀、气动下展式放料阀和气动放料球阀等。如果你需订购我厂放料阀,咨询时烦请说明公称尺寸、公称压力、阀体和内件材质、使用介质、工作温度、端部连接方式、气动类型及附件要求等。