双相钢放料阀产品概述
双相钢放料阀是一种阀体、阀杆、阀芯和阀座等主体部件由2205、2507或ASTM A995 Gr.4A(CD3MN)、5A(CE3MN)、6A(CD3MWCuN)及A182 F51、F53、F55等铸件或锻件毛坯加工而成,适于安装在反应釜底作排放物料及取样用的双相不锈钢放料阀,该阀根据实际情况的需要,放底被设计成平底型,阀体有V形、Y形和角式三种结构,流道表面光滑、流畅,并提供上升和下降两种工作方式的阀瓣,从而方便物料的流出。
双相钢放料阀常见的结构型式有上展式和下展式两种,应根据釜内安装的搅拌器类型进行配置,其启闭动作是通过手动、气动或电动驱动阀杆带动阀芯上、下移动来完成的,阀芯与阀座接触时阀门关闭,分离时介质流通。该阀整体采用由铁素体相和奥氏体相构成的双相不锈钢材料制造,机械性能好,耐点蚀性和耐应力腐蚀裂纹性优良,所以,本产品特适用于含氯化物、H₂S、CO₂等腐蚀性物料储槽和其他容器之放料、排料及取样。
双相钢放料阀部件材料
序号 | 部件名称 | 材料名称 | ||||
1 | 阀 体 | 2205 | 2507 | A995 Gr.4A | A995 Gr.5A | A995 Gr.6A |
2 | 阀 杆 | 2205 | 2507 | A182 F51 | A182 F53 | A182 F55 |
3 | 阀 座 | 2205 | 2507 | A182 F51 | A182 F53 | A182 F55 |
4 | 阀 芯 | 2205 | 2507 | A182 F51 | A182 F53 | A182 F55 |
5 | 填 料 | PTFE | PTFE | PTFE | PTFE | PTFE |
6 | 垫 片 | PTFE | PTFE | PTFE | PTFE | PTFE |
7 | 螺 柱 | A193 B8 | A193 B8M | A193 B8 | A193 B8M | A193 B8M |
8 | 螺 母 | A194 8 | A194 8M | A194 8 | A194 8M | A194 8M |
双相钢放料阀技术规范
公称压力PN(MPa) | 0.6 | 1.0 | 1.6 | 2.5 | 2.0 |
壳体强度试验压力(MPa) | 0.9 | 1.5 | 2.4 | 3.75 | 3.0 |
高压水密封试验压力(MPa) | 0.66 | 1.1 | 1.76 | 2.75 | 2.2 |
低压气密封试验压力(MPa) | 0.6 | 0.6 | 0.6 | 0.6 | 0.6 |
设计制造 | JB/T 11489-2013 放料用截止阀 | ||||
连接法兰 | JB/T 79、GB/T 9113、HG/T 20592、HG/T 20615、SH/T 3406、ASME B16.5等 | ||||
检验试验 | JB/T 11489-2013 放料用截止阀 | ||||
适用温度 | -60℃ ~ 232℃ | ||||
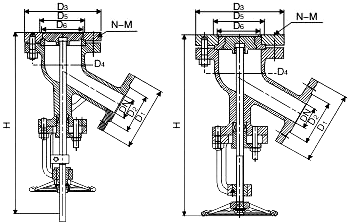
双相钢放料阀外型尺寸
公称压力 PN(MPa) | 公称通径 DN(mm) | 上展式尺寸(mm) | 下展式尺寸(mm) | ||||||||||
D1 | D2 | D3 | D4 | D5 | D6 | D1 | D2 | D3 | D4 | D5 | D6 | ||
1.6 | 25 | 115 | 85 | 115 | 85 | — | — | 115 | 85 | 135 | 100 | 70 | 40 |
32 | 135 | 100 | 135 | 100 | 70 | 40 | 135 | 100 | 145 | 110 | 75 | 55 | |
40 | 145 | 110 | 145 | 110 | 70 | 50 | 145 | 110 | 160 | 125 | 80 | 60 | |
50 | 160 | 125 | 160 | 125 | 80 | 60 | 160 | 125 | 180 | 145 | 100 | 80 | |
65 | 180 | 145 | 180 | 145 | 95 | 75 | 180 | 145 | 195 | 160 | 135 | 110 | |
80 | 195 | 160 | 195 | 160 | 110 | 90 | 195 | 160 | 215 | 190 | 160 | 135 | |
100 | 215 | 180 | 215 | 180 | 130 | 110 | 215 | 180 | 245 | 225 | 200 | 175 | |
125 | 245 | 210 | 245 | 210 | 160 | 130 | 245 | 210 | 280 | 245 | 200 | 175 | |
150 | 280 | 240 | 280 | 240 | 190 | 150 | 280 | 240 | 335 | 295 | 240 | 210 | |
200 | 335 | 295 | 335 | 295 | 240 | 200 | 335 | 295 | 405 | 355 | 285 | 240 | |
双相钢放料阀结构图

如果你需订购我厂放料阀产品,咨询时烦请说明结构型式、公称通径、公称压力、阀体和内件材质、使用介质、工作温度、驱动形式、连接方式,如采用法兰连接,请注明法兰标准及端面形式等。