不锈钢放料阀产品介绍
不锈钢放料阀是一种阀体、阀杆、阀瓣和阀座等主体部件由CF8、CF3、CF8M、CF3M、317L、310S等铸件及它们相对应的锻件毛坯制造而成,适用于一般性腐蚀介质或高温物料储罐及其他容器的底部排料及取样用阀门,其阀体入口与罐底的连接结构可采用法兰型或管接型,它通过手动、气动或电动驱动阀杆带动阀瓣上升或下移来控制阀门的启闭,从而实现物料从设置在阀体下部的出料口流通和截断动作的转换。该阀整体采用不锈钢材料制造,特适合于储槽和化工、石油化工装置的反应釜之放料及取样,除去了工艺介质通常在容器出口的残留现象。本产品典型结构型式有上展式和下展式两种,上展式放料阀适用于带有浆式、涡轮式或推进式搅拌器的的反应釜,而下展式放料阀则主要配装于带有浆式、涡轮式或推进式搅拌器的反应釜。
不锈钢放料阀部件材料
序号 | 部件名称 | 材料名称 | ||||
1 | 阀 体 | CF8 | CF3 | CF8M | CF3M | 310S |
2 | 阀 盖 | CF8 | CF3 | CF8M | CF3M | 310S |
3 | 阀 座 | CF8 | CF3 | CF8M | CF3M | 310S |
4 | 阀 瓣 | CF8 | CF3 | CF8M | CF3M | 310S |
5 | 填 料 | PTFE | PTFE | PTFE | PTFE | GRAPHITE |
6 | 阀 杆 | 06Cr19Ni10 | 022Cr19Ni10 | 06Cr17Ni12Mo2 | 022Cr17Ni12Mo2 | 06Cr25Ni20 |
7 | 垫 片 | PTFE | PTFE | PTFE | PTFE | GRAPHITE |
8 | 螺 柱 | 06Cr19Ni10 | 06Cr19Ni10 | 06Cr17Ni12Mo2 | 06Cr17Ni12Mo2 | 06Cr19Ni10 |
9 | 螺 母 | 06Cr19Ni10 | 06Cr19Ni10 | 06Cr17Ni12Mo2 | 06Cr17Ni12Mo2 | 06Cr19Ni10 |
不锈钢放料阀技术规范
公称压力PN(MPa) | 0.6 | 1.0 | 1.6 | 2.5 | 2.0 |
壳体强度试验压力(MPa) | 0.9 | 1.5 | 2.4 | 3.75 | 3.0 |
高压水密封试验压力(MPa) | 0.66 | 1.1 | 1.76 | 2.75 | 2.2 |
低压气密封试验压力(MPa) | 0.6 | 0.6 | 0.6 | 0.6 | 0.6 |
设计制造 | JB/T 11489-2013 放料用截止阀 | ||||
法兰标准 | JB/T 79、GB/T 9113、HG/T 20592、HG/T 20615、SH/T 3406、ASME B16.5等 | ||||
检验试验 | JB/T 11489-2013 放料用截止阀 | ||||
适用温度 | -60℃ ~ 650℃ | ||||
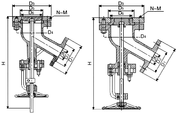
不锈钢放料阀外型尺寸
公称压力 PN(MPa) | 公称通径 DN(mm) | 上展式尺寸(mm) | 下展式尺寸(mm) | ||||||||||
D1 | D2 | D3 | D4 | D5 | D6 | D1 | D2 | D3 | D4 | D5 | D6 | ||
1.6 | 25 | 115 | 85 | 115 | 85 | — | — | 115 | 85 | 135 | 100 | 70 | 40 |
32 | 135 | 100 | 135 | 100 | 70 | 40 | 135 | 100 | 145 | 110 | 75 | 55 | |
40 | 145 | 110 | 145 | 110 | 70 | 50 | 145 | 110 | 160 | 125 | 80 | 60 | |
50 | 160 | 125 | 160 | 125 | 80 | 60 | 160 | 125 | 180 | 145 | 100 | 80 | |
65 | 180 | 145 | 180 | 145 | 95 | 75 | 180 | 145 | 195 | 160 | 135 | 110 | |
80 | 195 | 160 | 195 | 160 | 110 | 90 | 195 | 160 | 215 | 190 | 160 | 135 | |
100 | 215 | 180 | 215 | 180 | 130 | 110 | 215 | 180 | 245 | 225 | 200 | 175 | |
125 | 245 | 210 | 245 | 210 | 160 | 130 | 245 | 210 | 280 | 245 | 200 | 175 | |
150 | 280 | 240 | 280 | 240 | 190 | 150 | 280 | 240 | 335 | 295 | 240 | 210 | |
200 | 335 | 295 | 335 | 295 | 240 | 200 | 335 | 295 | 405 | 355 | 285 | 240 | |
不锈钢放料阀结构图

如果你需订购我厂放料阀产品,咨询时烦请说明结构型式、公称通径、公称压力、阀体和内件材质、使用介质、工作温度、驱动形式、连接方式,如采用法兰连接,请注明法兰标准及端面形式等。