882F倒置桶式蒸汽疏水阀产品概述
992、882F倒置桶式蒸汽疏水阀由吊桶内凝结水的液位变化驱动倒置桶带动阀芯的启闭动作,而起到排水阻汽的作用,当装置刚启动时,管道内的空气和低温凝结水进入阀内,倒置桶靠自身重量下坠,倒置桶连接杠杆带动阀芯开启蒸汽疏水阀,空气和低温凝结水迅速排出,当蒸汽进入倒置桶内,倒置桶的蒸汽产生向上浮力,倒置桶上升连接杠杆带动阀芯关闭阀门,倒置桶上开有一小孔,当一部份蒸汽从小孔排出,另一部份蒸汽产生凝结水,倒置桶失去浮力,靠自身重量向下沉,倒置桶连接杠杆带动阀芯开启阀门,循环工作,间断排放凝结水。该阀的工作部件都安装在阀盖上,使用户维修十分方便,并且蒸汽和凝结水中的杂物,通过U型通道进入阀体后,能沉淀在阀体底部,避免了杂物对关闭性能的影响,故抗污垢能力强。本产品漏汽量低,可排空气及不凝性气体,不怕水击,内件全部采用不锈钢,活动零部件设计时已充分考虑了磨损余量,提高了使用时间。
882F倒置桶式蒸汽疏水阀部件材料
序号 | 部件名称 | 材料名称 | ||||
1 | 阀 体 | A216 WCB | A217 WC6 | A351 CF8 | A351 CF8M | A351 CF3M |
2 | 阀 盖 | A216 WCB | A217 WC6 | A351 CF8 | A351 CF8M | A351 CF3M |
3 | 倒 置 桶 | A240 304 | A240 304 | A240 304 | A240 316 | A240 316L |
4 | 连 杆 | A276 304 | A276 304 | A276 304 | A276 316 | A276 316L |
5 | 阀 芯 | A276 430 | A276 430 | A276 304 | A276 316 | A276 316L |
6 | 阀 座 | A276 430 | A276 430 | A276 304 | A276 316 | A276 316L |
7 | 过 滤 网 | A240 304 | A240 304 | A240 304 | A240 316 | A240 316L |
8 | 堵 头 | A105 | A182 F11 | A182 304 | A182 316 | A182 316L |
9 | 螺 栓 | A193 B7 | A193 B16 | A193 B8 | A193 B8M | A193 B8M |
10 | 螺 母 | A194 2H | A194 4 | A194 8 | A194 8M | A194 8M |
882F倒置桶式蒸汽疏水阀技术规范
公称压力PN(MPa) | 1.6 | 2.5 | 4.0 | 2.0 | 5.0 |
壳体试验压力(MPa) | 2.4 | 3.75 | 6.0 | 3.0 | 7.5 |
设计制造 | GB/T 22654-2008 蒸汽疏水阀 技术条件 | ||||
结构长度 | GB/T 12250-2005 蒸汽疏水阀 术语、标志、结构长度 | ||||
法兰标准 | JB/T 79、JB/T 82、GB/T 9113、GB/T 9115、HG/T 20592、HG/T 20615、ASME B16.5等 | ||||
检验验收 | GB/T 12251-2005 蒸汽疏水阀 试验方法 | ||||
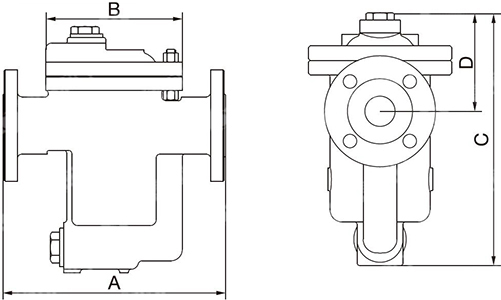
882F倒置桶式蒸汽疏水阀外型尺寸
公称压力 PN | 公称通径 DN | 尺寸(mm) | 参考重量 KG | |||
A | B | C | D | |||
16 ~ 40 (Class150)20 | 15 | 230 | 130 | 238 | 145 | 9.0 |
20 | 230 | 130 | 238 | 145 | 10.1 | |
25 | 230 | 130 | 238 | 145 | 10.5 | |
882F倒置桶式蒸汽疏水阀结构图

如果你需订购我厂倒置桶式蒸汽疏水阀,烦请说明使用压力、公称压力、公称通径、阀体和内件材质、工作温度、法兰标准,是否带配件等,如果你使用的场合十分复杂时,请提供设计图纸或详细参数,由本公司技术员为您审核把关。我厂生产与本产品同一系列的还有881F、883F、884F、885F、886F和991、993、994、995、996等。