双联切换过滤器产品概述
双联切换过滤器是一种通过两台三通球阀将两个相同的单筒过滤器组装在一个机座上,更换其中之一时,只需扳动设置在三通球阀上的手柄即可实现切换,从而保障在不停机的情况下方便清洗和更换滤芯的双联过滤器。其顶盖上焊接有便于提拉的把手和可供拆卸时排放筒内空气用的放空丝堵,筒体下方装有排污螺塞,以便于排除筒体内污物。顶盖和筒体间采用六角螺栓与法兰圈配合使用而固定,维修时便于拆卸,三通球阀与接管间通过平焊法兰和双头螺栓连接。
双联切换过滤器采用两个单筒过滤器关联组合结构,并通过三通球阀进行连接,这样,需要清洗过滤器时,只要转动三通球阀手柄将需要清洗的单筒过滤器的进水口和出水口断开,就可单独清洗该单筒过滤器,而另一个单筒过滤器可正常使用,这样就保障了工业管路处于连续工作状态。其亦可单筒使用,只需去掉共同机座,其余尺寸不变。本产品结构新颖合理,操作简便,密封性好,流通能力强,可以连续工作且整个切换过程可以实现过滤器前、后无压差变化。
双联切换过滤器部件材料
序号 | 部件名称 | 材料名称 | ||||
1 | 筒 体 | Q235B | 20# | 304 | 316 | 316L |
2 | 接 管 | Q235B | 20# | 304 | 316 | 316L |
3 | 法 兰 | Q235B | Q235B | 304 | 316 | 316L |
4 | 顶 盖 | Q235B | Q235B | 304 | 316 | 316L |
5 | 滤 篮 | S30408 | S30408 | 304 | 316 | 316L |
6 | 螺 栓 | 35CrMoA | 35CrMoA | 304 | 316 | 316 |
7 | 螺 母 | 30CrMoA | 30CrMoA | 304 | 316 | 316 |
8 | 三通球阀 | WCB | WCB | CF8 | CF8M | CF3M |
双联切换过滤器性能规范
公称压力PN(MPa) | 0.25 | 0.6 | 1.0 | 1.6 | 2.5 |
壳体强度试验压力(MPa) | 0.375 | 0.9 | 1.5 | 2.4 | 3.75 |
高压液密封试验压力(MPa) | 0.275 | 0.66 | 1.1 | 1.76 | 2.75 |
低压气密封试验压力(MPa) | 0.275 | 0.66 | 0.6 | 0.6 | 0.6 |
设计制造 | SH/T 3411-1999、JB/T 7538-2016、HG/T 21637-1991 | ||||
法兰标准 | JB/T 81~82、GB/T 9115~9119、HG/T 20592~20615、SH/T 3406、ASME B16.5 | ||||
检验验收 | SH/T 3411-1999、JB/T 7538-2016、HG/T 21637-1991 | ||||
过滤精度 | 0.02mm ~ 16.0mm | ||||
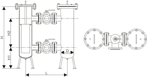
双联切换过滤器外型尺寸
公称压力 PN | 公称通径 DN | 尺寸(mm) | ||||
L | D | H | H1 | H2 | ||
6 ~ 25 (Class150)20 | 25 | 360 | 76 | 520 | 240 | 220 |
32 | 400 | 76 | 550 | 240 | 250 | |
40 | 480 | 108 | 700 | 300 | 300 | |
50 | 500 | 108 | 720 | 300 | 320 | |
65 | 590 | 133 | 838 | 358 | 350 | |
80 | 620 | 159 | 995 | 395 | 450 | |
100 | 720 | 219 | 1075 | 435 | 460 | |
125 | 860 | 273 | 1260 | 520 | 520 | |
150 | 940 | 273 | 1355 | 535 | 570 | |
200 | 1110 | 325 | 1585 | 605 | 680 | |
250 | 1330 | 426 | 1680 | 600 | 730 | |
300 | 1470 | 450 | 1960 | 700 | 780 | |
双联切换过滤器结构图

如果你需订购我厂管道过滤器产品,咨询时烦请提供规格型号,公称通径、公称压力、壳体材质、过滤网材质及过滤精度,如果是法兰连接的,请说明法兰标准、法兰密封面形式等,本产品过滤元件,除采用不锈钢滤芯外,亦可采用PP滤袋过滤掉粒径5微米以上的颗粒(本过滤器亦可根据客户实际情况进行设计制造)。