直通式T型过滤器产品概述
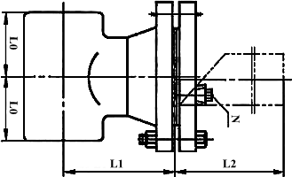
直通式T型过滤器是一种由三通管件、法兰、法兰盖、滤芯和滤芯挡圈等组成的三通直流式过滤器,其法兰通过电焊工艺焊接在三通的管口上组成壳体,椭圆型滤芯挡圈斜置焊装在三通的直通管形的内部,圆柱型滤芯放置于凸出管形的内部,一端安放在椭圆型滤芯挡圈上,另一端用法兰盖压紧固定并通过螺栓螺母连接在壳体法兰上,该滤芯由滤筒和安装在滤筒内的滤网两部分组成,当流体由过滤器左端进口进入置有一定规格滤网的滤筒后后,其杂质被阻挡,而清洁的滤液则由右端出口排出。
直通式T型过滤器在法兰盖上设有排污口,当需要清洗时,只要把法兰盖上的排放丝堵拧开,把滤液排净,然后将可拆卸的滤筒取出,清洗干净后重新装入即可,其可根据用户实际工况需要选用《SH/T 3411-1999石油化工泵用过滤器选用、检验及验收》、《GB/T 14382-2008管道用三通过滤器》和《HG/T 21637-1991化工管道过滤器》等标准设计和制造。
直通式T型过滤器零部件材料
序号 | 零件名称 | 材料名称 | ||||
1 | 三通管件 | 20 | 15CrMo | 304 | 316 | 316L |
2 | 法 兰 | A105 | 15CrMo | 304 | 316 | 316L |
3 | 法 兰 盖 | Q235B | 15CrMo | 304 | 316 | 316L |
4 | 滤 芯 | 304 | 304 | 304 | 316 | 316L |
5 | 密封垫片 | 聚四氟乙烯、柔性石墨缠绕、金属缠绕垫(带内外环) | ||||
6 | 滤芯挡圈 | Q235B | 15CrMo | 304 | 316 | 316L |
7 | 螺 柱 | 35CrMoA | 35CrMoA | 304 | 316 | 316 |
8 | 螺 母 | 30CrMo | 30CrMo | 304 | 316 | 316 |
9 | 排污丝堵 | 304 | 304 | 304 | 316 | 316L |
直通式T型过滤器技术规范表
公称压力PN(MPa) | 1.6 | 2.5 | 4.0 | 2.0 | 5.0 |
壳体试验压力(MPa) | 2.4 | 3.75 | 6.0 | 3.0 | 7.5 |
高压液密封试验压力(MPa) | 1.76 | 2.75 | 4.4 | 2.2 | 5.5 |
低压气密封试验压力(MPa) | 0.6 | 0.6 | 0.6 | 0.6 | 0.6 |
设计制造 | SH/T 3411-2017、GB/T 14382-2008、HG/T 21637-1991 | ||||
对焊接端 | 按GB/T 12224-2005或ASME B16.25-2017的规定 | ||||
检验试验 | SH/T 3411-2017、GB/T 14382-2008、HG/T 21637-1991 | ||||
工作温度 | -196℃ ~ 540℃ | ||||
过滤精度 | 20μm ~ 16000μm | ||||
直通式T型过滤器外型尺寸表
公称压力 PN(MPa) | 公称通径 DN(mm) | 尺寸(mm) | 过滤面积 cm2 | 排污口N | ||
L0 | L1 | L2 | 管螺纹 | |||
1.6 | 50 | 64 | 112 | 142 | 72 | R⅜ |
65 | 76 | 121 | 155 | 108 | R⅜ | |
80 | 86 | 136 | 176 | 148 | R⅜ | |
100 | 105 | 157 | 207 | 190 | R⅜ | |
125 | 124 | 179 | 242 | 320 | R¾ | |
150 | 143 | 198 | 273 | 408 | R¾ | |
200 | 178 | 240 | 341 | 899 | R¾ | |
250 | 216 | 280 | 415 | 1290 | R¾ | |
300 | 254 | 332 | 486 | 1954 | R¾ | |
350 | 279 | 361 | 531 | 2445 | R¾ | |
400 | 305 | 390 | 585 | 3092 | R¾ | |
2.5 | 50 | 64 | 112 | 142 | 72 | R⅜ |
65 | 76 | 128 | 162 | 108 | R⅜ | |
80 | 86 | 144 | 184 | 148 | R⅜ | |
100 | 105 | 170 | 220 | 190 | R⅜ | |
125 | 124 | 192 | 255 | 320 | R¾ | |
150 | 143 | 218 | 293 | 408 | R¾ | |
200 | 178 | 258 | 359 | 899 | R¾ | |
250 | 216 | 296 | 425 | 1290 | R¾ | |
300 | 254 | 346 | 500 | 1954 | R¾ | |
350 | 279 | 379 | 549 | 2445 | R¾ | |
400 | 305 | 415 | 610 | 3092 | R¾ | |
4.0 | 50 | 64 | 112 | 142 | 72 | R⅜ |
65 | 76 | 128 | 162 | 108 | R⅜ | |
80 | 86 | 144 | 184 | 148 | R⅜ | |
100 | 105 | 170 | 220 | 190 | R⅜ | |
125 | 124 | 192 | 255 | 320 | R¾ | |
150 | 143 | 218 | 293 | 408 | R¾ | |
200 | 178 | 266 | 367 | 899 | R¾ | |
250 | 216 | 304 | 433 | 1290 | R¾ | |
300 | 254 | 359 | 513 | 1954 | R¾ | |
350 | 279 | 404 | 574 | 2445 | R¾ | |
400 | 305 | 440 | 625 | 3092 | R¾ | |
(Class150) 2.0 | 50 | 64 | 128 | 158 | 72 | R⅜ |
65 | 76 | 146 | 180 | 108 | R⅜ | |
80 | 86 | 156 | 196 | 148 | R⅜ | |
100 | 105 | 181 | 220 | 190 | R⅜ | |
125 | 124 | 213 | 265 | 320 | R¾ | |
150 | 143 | 232 | 297 | 408 | R¾ | |
200 | 178 | 280 | 370 | 899 | R¾ | |
250 | 216 | 318 | 433 | 1290 | R¾ | |
300 | 254 | 368 | 508 | 1954 | R¾ | |
350 | 279 | 406 | 561 | 2445 | R¾ | |
400 | 305 | 432 | 610 | 3092 | R¾ | |
(Class300) 5.0 | 50 | 64 | 134 | 164 | 72 | R⅜ |
65 | 76 | 152 | 186 | 108 | R⅜ | |
80 | 86 | 165 | 205 | 148 | R⅜ | |
100 | 105 | 191 | 230 | 190 | R⅜ | |
125 | 124 | 222 | 276 | 320 | R¾ | |
150 | 143 | 241 | 306 | 408 | R¾ | |
200 | 178 | 289 | 379 | 899 | R¾ | |
250 | 216 | 333 | 448 | 1290 | R¾ | |
300 | 254 | 384 | 524 | 1954 | R¾ | |
350 | 279 | 422 | 577 | 2445 | R¾ | |
400 | 305 | 451 | 629 | 3092 | R¾ | |
直通式T型过滤器主要结构图

尊敬的用户!如果你需订购我厂T型过滤器产品,咨询时烦请说明产品类型,产品设计制造标准、法兰执行标准、公称通径、公称压力、滤芯材质、过滤介质及过滤精度,是否配对法兰、螺栓螺母及垫片等,以上尺寸参数为我公司按《GB/T 14382-2008管道用三通过滤器》标准提供,本产品宜安装在直管段部位。