三通反折流过滤器产品介绍
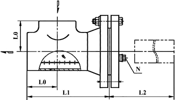
三通反折流过滤器由三通、法兰、法兰盖、排放丝堵、滤网滤筒和滤芯挡圈等构成,其法兰通过电焊工艺焊接在三通管的管口上,圆型滤芯挡圈正置于三通管件的直通管形的入口处,圆台型滤芯一端放置在圆形挡圈上,另一端用法兰盖压紧固定,该滤芯由滤筒和安装在滤筒外的滤网两部分组成,当流体进入置有一定规格滤网的滤筒后,其杂质被阻挡,而清洁的滤液则由过滤器出口排出。
三通正折流T型过滤器接口端连接方式可采用法兰、对焊、承插焊和内螺纹等,其主要用于化工、石油化工、轻工等生产中的液体及气体物料,用以过滤其固体杂质,其通常装设在泵、阀门、压缩机的入口或流量仪表前的管道上,以保护此类设备或仪表。本产品宜安装在有90°流向变化处,以节省弯头。
三通反折流过滤器零部件材料
序号 | 零件名称 | 材料名称 | ||||
1 | 三 通 | 20 | 15CrMo | 304 | 316 | 316L |
2 | 法 兰 | A105 | 15CrMo | 304 | 316 | 316L |
3 | 法 兰 盖 | Q235B | 15CrMo | 304 | 316 | 316L |
4 | 滤筒滤网 | 304 | 304 | 304 | 316 | 316L |
5 | 垫 片 | 聚四氟乙烯、柔性石墨缠绕、金属缠绕垫(带内外环) | ||||
6 | 滤 座 | Q235B | 15CrMo | 304 | 316 | 316L |
7 | 螺 栓 | 35CrMoA | 35CrMoA | 304 | 316 | 316 |
8 | 螺 母 | 30CrMo | 30CrMo | 304 | 316 | 316 |
9 | 排污丝堵 | 304 | 304 | 304 | 316 | 316L |
三通反折流过滤器技术规范表
公称压力PN(MPa) | 1.6 | 2.5 | 4.0 | 2.0 | 5.0 |
壳体试验压力(MPa) | 2.4 | 3.75 | 6.0 | 3.0 | 7.5 |
高压液密封试验压力(MPa) | 1.76 | 2.75 | 4.4 | 2.2 | 5.5 |
低压气密封试验压力(MPa) | 0.6 | 0.6 | 0.6 | 0.6 | 0.6 |
设计制造 | SH/T 3411-2017、GB/T 14382-2008、HG/T 21637-1991 | ||||
对焊接端 | 按GB/T 12224-2005或ASME B16.25-2017的规定 | ||||
检验试验 | SH/T 3411-2017、GB/T 14382-2008、HG/T 21637-1991 | ||||
工作温度 | -196℃ ~ 540℃ | ||||
过滤精度 | 20μm ~ 16000μm | ||||
三通反折流过滤器外型尺寸表
公称压力 PN(MPa) | 公称通径 DN(mm) | 尺寸(mm) | 过滤面积 cm2 | 排污口N | ||
L0 | L1 | L2 | 管螺纹 | |||
1.6 | 50 | 64 | 176 | 164 | 120 | R⅜ |
65 | 76 | 197 | 182 | 160 | R⅜ | |
80 | 86 | 222 | 207 | 220 | R⅜ | |
100 | 105 | 262 | 244 | 329 | R⅜ | |
125 | 124 | 303 | 283 | 486 | R¾ | |
150 | 143 | 341 | 321 | 685 | R¾ | |
200 | 178 | 418 | 396 | 1152 | R¾ | |
250 | 216 | 502 | 480 | 1737 | R¾ | |
300 | 254 | 586 | 561 | 2357 | R¾ | |
350 | 279 | 640 | 615 | 3077 | R¾ | |
400 | 305 | 695 | 670 | 3839 | R¾ | |
2.5 | 50 | 64 | 176 | 164 | 120 | R⅜ |
65 | 76 | 204 | 189 | 160 | R⅜ | |
80 | 86 | 230 | 215 | 220 | R⅜ | |
100 | 105 | 275 | 255 | 329 | R⅜ | |
125 | 124 | 316 | 296 | 486 | R¾ | |
150 | 143 | 361 | 341 | 685 | R¾ | |
200 | 178 | 436 | 411 | 1152 | R¾ | |
250 | 216 | 520 | 495 | 1737 | R¾ | |
300 | 254 | 600 | 575 | 2357 | R¾ | |
350 | 279 | 658 | 633 | 3077 | R¾ | |
400 | 305 | 720 | 695 | 3839 | R¾ | |
4.0 | 50 | 64 | 176 | 164 | 120 | R⅜ |
65 | 76 | 204 | 189 | 160 | R⅜ | |
80 | 86 | 230 | 215 | 220 | R⅜ | |
100 | 105 | 275 | 255 | 329 | R⅜ | |
125 | 124 | 316 | 296 | 486 | R¾ | |
150 | 143 | 361 | 341 | 685 | R¾ | |
200 | 178 | 444 | 419 | 1152 | R¾ | |
250 | 216 | 537 | 512 | 1737 | R¾ | |
300 | 254 | 623 | 598 | 2357 | R¾ | |
350 | 279 | 683 | 658 | 3077 | R¾ | |
400 | 305 | 745 | 720 | 3839 | R¾ | |
(Class150) 2.0 | 50 | 64 | 192 | 180 | 120 | R⅜ |
65 | 76 | 222 | 207 | 160 | R⅜ | |
80 | 86 | 242 | 227 | 220 | R⅜ | |
100 | 105 | 286 | 268 | 329 | R⅜ | |
125 | 124 | 337 | 320 | 486 | R¾ | |
150 | 143 | 375 | 358 | 685 | R¾ | |
200 | 178 | 458 | 439 | 1152 | R¾ | |
250 | 216 | 534 | 513 | 1737 | R¾ | |
300 | 254 | 622 | 599 | 2357 | R¾ | |
350 | 279 | 685 | 660 | 3077 | R¾ | |
400 | 305 | 737 | 711 | 3839 | R¾ | |
(Class300) 5.0 | 50 | 64 | 198 | 186 | 120 | R⅜ |
65 | 76 | 228 | 213 | 160 | R⅜ | |
80 | 86 | 251 | 236 | 220 | R⅜ | |
100 | 105 | 296 | 276 | 329 | R⅜ | |
125 | 124 | 346 | 326 | 486 | R¾ | |
150 | 143 | 384 | 364 | 685 | R¾ | |
200 | 178 | 467 | 445 | 1152 | R¾ | |
250 | 216 | 549 | 527 | 1737 | R¾ | |
300 | 254 | 638 | 613 | 2357 | R¾ | |
350 | 279 | 701 | 676 | 3077 | R¾ | |
400 | 305 | 756 | 730 | 3839 | R¾ | |
三通反折流过滤器主要结构图

如果你需订购我厂T型过滤器产品,咨询时烦请说明产品类型,法兰执行标准、公称通径、公称压力、滤芯材质、过滤介质及过滤精度,是否配对法兰、螺栓螺母及垫片等,本产品根据实际工况需要可采用《SH/T 3411-1999石油化工泵用过滤器选用、检验及验收》、《GB/T 14382-2008管道用三通过滤器》和《HG/T 21637-1991化工管道过滤器》等标准设计和制造。