双相钢T型过滤器产品概述
双相钢T型过滤器是一种壳体、法兰、法兰盖、滤网和滤座等采用2205、2507或S31803、S32750及S22053、S25073、022Cr23Ni5Mo3N、022Cr25Ni7Mo4N等材料焊接制作而成的双相不锈钢T型过滤器。其主体部件所使用的材质兼备了奥氏体不锈钢具有的优良的延性、韧性、焊接性与铁素体不锈钢所拥有的较高强度和抗应力腐蚀裂纹性能的优点,它在抗晶间腐蚀、点蚀、间隙腐蚀,特别是抗氯化物导致的应力腐蚀开裂方面具有绝对的优势。本产品主要适用于石油化工、海水等含氯离子腐蚀环境介质的过滤。
双相钢T型过滤器法兰通过氩弧焊工艺焊装在三通管的管口上,滤芯挡圈焊置于三通管件的直通管形内部,滤筒一端放置在滤芯挡圈凹槽内,另一端用法兰盖压紧固定,当流体进入置有一定规格滤网的滤筒后,其杂质被阻挡,而清洁的滤液则由出口排出,当需要清洗时,只要将可拆卸的滤筒取出,处理后重新装入即可,因此,使用维护极为方便。本产品有直流式、正折流式和反折流式三种,可根据实际配管需要选型,一般直流式宜安装在直管段部位,正折流式和反折流式宜安装在有90°流向变化处,以节省弯头。
双相钢T型过滤器零部件材料
序号 | 零件名称 | 材料名称 | |||||
1 | 壳 体 | 2205 | 2507 | S31803 | S32750 | S22053 | S25073 |
2 | 法 兰 | 2205 | 2507 | S31803 | S32750 | S22053 | S25073 |
3 | 法 兰 盖 | 2205 | 2507 | S31803 | S32750 | S22053 | S25073 |
4 | 滤 网 | 2205 | 2507 | S31803 | S32750 | S22053 | S25073 |
5 | 滤 座 | 2205 | 2507 | S31803 | S32750 | S22053 | S25073 |
6 | 垫 片 | PTFE | PTFE | PTFE | PTFE | PTFE | PTFE |
7 | 螺 栓 | 304 | 316 | 304 | 316 | 304 | 316 |
8 | 螺 母 | 304 | 316 | 304 | 316 | 304 | 316 |
双相钢T型过滤器技术规范表
公称压力PN(MPa) | 1.0 | 1.6 | 2.5 | 4.0 | 2.0 | 5.0 |
壳体试验压力(MPa) | 1.5 | 2.4 | 3.75 | 6.0 | 3.0 | 7.5 |
高压液密封试验压力(MPa) | 1.1 | 1.76 | 2.75 | 4.4 | 2.2 | 5.5 |
低压气密封试验压力(MPa) | 0.6 | 0.6 | 0.6 | 0.6 | 0.6 | 0.6 |
设计制造 | SH/T 3411-2017、GB/T 14382-2008、HG/T 21637-1991 | |||||
对焊接端 | 按GB/T 12224-2005或ASME B16.25-2017的规定 | |||||
检验试验 | SH/T 3411-2017、GB/T 14382-2008、HG/T 21637-1991 | |||||
工作温度 | -196℃ ~ 540℃ | |||||
过滤精度 | 20μm ~ 16000μm | |||||
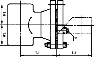
双相钢T型过滤器外型尺寸表
公称压力 PN(MPa) | 公称通径 DN(mm) | 尺寸(mm) | 过滤面积 cm2 | 排污口N | |||
L0 | L1 | L2 | H | 管螺纹 | |||
1.6 | 50 | 64 | 176 | 164 | — | 120 | R⅜ |
65 | 76 | 197 | 182 | — | 160 | R⅜ | |
80 | 86 | 222 | 207 | — | 220 | R⅜ | |
100 | 105 | 262 | 244 | — | 329 | R⅜ | |
125 | 124 | 303 | 283 | — | 486 | R¾ | |
150 | 143 | 341 | 321 | — | 685 | R¾ | |
200 | 178 | 418 | 396 | — | 1152 | R¾ | |
250 | 216 | 502 | 480 | — | 1737 | R¾ | |
300 | 254 | 586 | 561 | — | 2357 | R¾ | |
350 | 279 | 640 | 615 | — | 3077 | R¾ | |
400 | 305 | 695 | 670 | — | 3839 | R¾ | |
2.5 | 50 | 64 | 176 | 164 | — | 120 | R⅜ |
65 | 76 | 204 | 189 | — | 160 | R⅜ | |
80 | 86 | 230 | 215 | — | 220 | R⅜ | |
100 | 105 | 275 | 255 | — | 329 | R⅜ | |
125 | 124 | 316 | 296 | — | 486 | R¾ | |
150 | 143 | 361 | 341 | — | 685 | R¾ | |
200 | 178 | 436 | 411 | — | 1152 | R¾ | |
250 | 216 | 520 | 495 | — | 1737 | R¾ | |
300 | 254 | 600 | 575 | — | 2357 | R¾ | |
350 | 279 | 658 | 633 | — | 3077 | R¾ | |
400 | 305 | 720 | 695 | — | 3839 | R¾ | |
4.0 | 50 | 64 | 176 | 164 | — | 120 | R⅜ |
65 | 76 | 204 | 189 | — | 160 | R⅜ | |
80 | 86 | 230 | 215 | — | 220 | R⅜ | |
100 | 105 | 275 | 255 | — | 329 | R⅜ | |
125 | 124 | 316 | 296 | — | 486 | R¾ | |
150 | 143 | 361 | 341 | — | 685 | R¾ | |
200 | 178 | 444 | 419 | — | 1152 | R¾ | |
250 | 216 | 537 | 512 | — | 1737 | R¾ | |
300 | 254 | 623 | 598 | — | 2357 | R¾ | |
350 | 279 | 683 | 658 | — | 3077 | R¾ | |
400 | 305 | 745 | 720 | — | 3839 | R¾ | |
(Class150) 2.0 | 50 | 64 | 192 | 180 | — | 120 | R⅜ |
65 | 76 | 222 | 207 | — | 160 | R⅜ | |
80 | 86 | 242 | 227 | — | 220 | R⅜ | |
100 | 105 | 286 | 268 | — | 329 | R⅜ | |
125 | 124 | 337 | 320 | — | 486 | R¾ | |
150 | 143 | 375 | 358 | — | 685 | R¾ | |
200 | 178 | 458 | 439 | — | 1152 | R¾ | |
250 | 216 | 534 | 513 | — | 1737 | R¾ | |
300 | 254 | 622 | 599 | — | 2357 | R¾ | |
350 | 279 | 685 | 660 | — | 3077 | R¾ | |
400 | 305 | 737 | 711 | — | 3839 | R¾ | |
(Class300) 5.0 | 50 | 64 | 198 | 186 | — | 120 | R⅜ |
65 | 76 | 228 | 213 | — | 160 | R⅜ | |
80 | 86 | 251 | 236 | — | 220 | R⅜ | |
100 | 105 | 296 | 276 | — | 329 | R⅜ | |
125 | 124 | 346 | 326 | — | 486 | R¾ | |
150 | 143 | 384 | 364 | — | 685 | R¾ | |
200 | 178 | 467 | 445 | — | 1152 | R¾ | |
250 | 216 | 549 | 527 | — | 1737 | R¾ | |
300 | 254 | 638 | 613 | — | 2357 | R¾ | |
350 | 279 | 701 | 676 | — | 3077 | R¾ | |
400 | 305 | 756 | 730 | — | 3839 | R¾ | |
双相钢T型过滤器主要结构图

如果你需订购我厂本产品,咨询时烦请说明产品类型(有直流式、正折流式和反折流式三种结构型式),公称通径、公称压力、滤芯材质、使用介质、过滤精度、端部连接形式,如采用法兰连接,请注明法兰执行标准及密封面形式,是否配对法兰、螺栓螺母及垫片等。