铝青铜T型过滤器产品介绍
铝青铜T型过滤器是一种三通管、法兰、法兰盖和滤座等主要部件选用C95800、C95500、C83600或C63200等铝青铜材料并采用氩弧焊接工艺焊制而成的T型过滤器,该种材质系高强度铜合金,有较高的力学性能,耐磨性和耐蚀性能好。本产品结构简单、设计合理,密封性能好、耐磨耐腐蚀、工作寿命长,使用和维护相当方便,常用于海水、硫酸盐、氯化物等耐腐蚀工况介质的过滤。
铝青铜T型过滤器有直流式、正折流式和反折流式三种结构型式。直流式的三通管的左端为进料口,右端为出料口,顶端连接法兰,法兰上设有法兰盖,椭圆型滤座斜置在三通管的直通管形内部,圆柱型滤芯的下部设有与椭圆型滤座坡度匹配的斜坡,并放置在椭圆型滤座凹槽内固定。正、反折流式的三通管的左端分别为进、出料口,顶端为出、进料口,右端焊有法兰,并设有法兰盖,圆型滤座正置在三通管的直通管形管口处,圆台型滤芯放置在圆型滤座凹槽内固定。
铝青铜T型过滤器零部件材料
序号 | 零件名称 | 材料名称 | ||||
1 | 三 通 管 | C95800 | C95500 | C83600 | C63200 | C63000 |
2 | 法 兰 | C95800 | C95500 | C83600 | C63200 | C63000 |
3 | 法 兰 盖 | C95800 | C95500 | C83600 | C63200 | C63000 |
4 | 滤筒滤网 | 2205 | 2205 | 2205 | 2205 | 2205 |
5 | 滤 座 | C95800 | C95500 | C83600 | C63200 | C63000 |
6 | 密 封 垫 | PTFE | PTFE | PTFE | PTFE | PTFE |
7 | 螺 栓 | 316 | 316 | 316 | 316 | 316 |
8 | 螺 母 | 316 | 316 | 316 | 316 | 316 |
铝青铜T型过滤器技术规范表
公称压力PN(MPa) | 1.6 | 2.5 | 4.0 | 2.0 | 5.0 |
壳体试验压力(MPa) | 2.4 | 3.75 | 6.0 | 3.0 | 7.5 |
高压液密封试验压力(MPa) | 1.76 | 2.75 | 4.4 | 2.2 | 5.5 |
低压气密封试验压力(MPa) | 0.6 | 0.6 | 0.6 | 0.6 | 0.6 |
设计制造 | GB/T 14382-2008 管道用三通过滤器 | ||||
对焊接端 | 按GB/T 12224-2005或ASME B16.25-2017的规定 | ||||
检验试验 | GB/T 14382-2008 管道用三通过滤器 | ||||
工作温度 | -196℃ ~ 540℃ | ||||
过滤精度 | 20μm ~ 16000μm | ||||
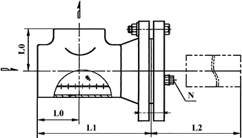
铝青铜T型过滤器外型尺寸表
公称压力 PN(MPa) | 公称通径 DN(mm) | 尺寸(mm) | 过滤面积 cm2 | 排污口N | ||
L0 | L1 | L2 | 管螺纹 | |||
1.6 | 50 | 64 | 176 | 164 | 120 | R⅜ |
65 | 76 | 197 | 182 | 160 | R⅜ | |
80 | 86 | 222 | 207 | 220 | R⅜ | |
100 | 105 | 262 | 244 | 329 | R⅜ | |
125 | 124 | 303 | 283 | 486 | R¾ | |
150 | 143 | 341 | 321 | 685 | R¾ | |
200 | 178 | 418 | 396 | 1152 | R¾ | |
250 | 216 | 502 | 480 | 1737 | R¾ | |
300 | 254 | 586 | 561 | 2357 | R¾ | |
350 | 279 | 640 | 615 | 3077 | R¾ | |
400 | 305 | 695 | 670 | 3839 | R¾ | |
2.5 | 50 | 64 | 176 | 164 | 120 | R⅜ |
65 | 76 | 204 | 189 | 160 | R⅜ | |
80 | 86 | 230 | 215 | 220 | R⅜ | |
100 | 105 | 275 | 255 | 329 | R⅜ | |
125 | 124 | 316 | 296 | 486 | R¾ | |
150 | 143 | 361 | 341 | 685 | R¾ | |
200 | 178 | 436 | 411 | 1152 | R¾ | |
250 | 216 | 520 | 495 | 1737 | R¾ | |
300 | 254 | 600 | 575 | 2357 | R¾ | |
350 | 279 | 658 | 633 | 3077 | R¾ | |
400 | 305 | 720 | 695 | 3839 | R¾ | |
4.0 | 50 | 64 | 176 | 164 | 120 | R⅜ |
65 | 76 | 204 | 189 | 160 | R⅜ | |
80 | 86 | 230 | 215 | 220 | R⅜ | |
100 | 105 | 275 | 255 | 329 | R⅜ | |
125 | 124 | 316 | 296 | 486 | R¾ | |
150 | 143 | 361 | 341 | 685 | R¾ | |
200 | 178 | 444 | 419 | 1152 | R¾ | |
250 | 216 | 537 | 512 | 1737 | R¾ | |
300 | 254 | 623 | 598 | 2357 | R¾ | |
350 | 279 | 683 | 658 | 3077 | R¾ | |
400 | 305 | 745 | 720 | 3839 | R¾ | |
(Class150) 2.0 | 50 | 64 | 192 | 180 | 120 | R⅜ |
65 | 76 | 222 | 207 | 160 | R⅜ | |
80 | 86 | 242 | 227 | 220 | R⅜ | |
100 | 105 | 286 | 268 | 329 | R⅜ | |
125 | 124 | 337 | 320 | 486 | R¾ | |
150 | 143 | 375 | 358 | 685 | R¾ | |
200 | 178 | 458 | 439 | 1152 | R¾ | |
250 | 216 | 534 | 513 | 1737 | R¾ | |
300 | 254 | 622 | 599 | 2357 | R¾ | |
350 | 279 | 685 | 660 | 3077 | R¾ | |
400 | 305 | 737 | 711 | 3839 | R¾ | |
(Class300) 5.0 | 50 | 64 | 198 | 186 | 120 | R⅜ |
65 | 76 | 228 | 213 | 160 | R⅜ | |
80 | 86 | 251 | 236 | 220 | R⅜ | |
100 | 105 | 296 | 276 | 329 | R⅜ | |
125 | 124 | 346 | 326 | 486 | R¾ | |
150 | 143 | 384 | 364 | 685 | R¾ | |
200 | 178 | 467 | 445 | 1152 | R¾ | |
250 | 216 | 549 | 527 | 1737 | R¾ | |
300 | 254 | 638 | 613 | 2357 | R¾ | |
350 | 279 | 701 | 676 | 3077 | R¾ | |
400 | 305 | 756 | 730 | 3839 | R¾ | |
铝青铜T型过滤器主要结构图

如果你需订购我厂T型过滤器产品,咨询时烦请说明产品类型,公称通径、公称压力、滤芯材质、过滤介质和过滤精度、法兰执行标准及密封面形式,是否配对法兰、螺栓螺母及垫片等,本产品可根据工况需要采用法兰、对焊、承插焊、螺纹及其他连接型式。以上为对焊连接正、反折流式外型尺寸,如需其他尺寸参数,烦请联系我司销售人员。