SRS1直流式T型过滤器产品概述
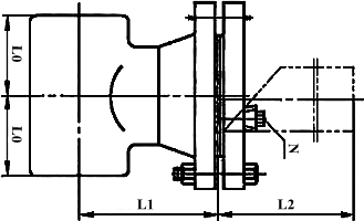
SRS1直流式T型过滤器主要由壳体、滤网、壳体法兰、壳体法兰盖及紧固件等组成,其壳体是采用等径T形三通与带颈对焊法兰、带颈平焊法兰或板式平焊法兰通过焊接工艺焊制而成的,壳体法兰和法兰盖焊装在T形三通下端,滤网设置在壳体内部,当流体由左进口进入壳体,流经置有一定规格滤网后,其固体杂质颗粒被阻挡在滤网内,而清洁的滤液通过滤网,由右出口排出。
SRS1直流式T型过滤器是我厂按《GB/T 14382-2008管道用三通过滤器》标准的试验方法及检验规则等设计和制造的一款T型过滤器产品,该标准适用于公称尺寸DN400及其以下,公称压力PN16-PN40和Class150~Class300,工作温度范围为-196℃~540℃的管道过滤器。本产品按结构型式不同分为:SRS1基本型直流式T型过滤器和SRS2加长型直流式T型过滤器两种。
SRS1直流式T型过滤器零部件材料
序号 | 零件名称 | 材料名称 | ||||
1 | 壳 体 | 20 | 15CrMo | 304 | 316 | 316L |
2 | 法 兰 | A105 | 15CrMo | 304 | 316 | 316L |
3 | 法 兰 盖 | Q235B | 15CrMo | 304 | 316 | 316L |
4 | 滤 芯 | 304 | 304 | 304 | 316 | 316L |
5 | 密封垫片 | 聚四氟乙烯、柔性石墨缠绕、金属缠绕垫(带内外环) | ||||
6 | 滤 座 | Q235B | 15CrMo | 304 | 316 | 316L |
7 | 螺 柱 | 35CrMoA | 35CrMoA | 304 | 316 | 316 |
8 | 螺 母 | 30CrMo | 30CrMo | 304 | 316 | 316 |
9 | 排污丝堵 | 304 | 304 | 304 | 316 | 316L |
SRS1直流式T型过滤器技术规范表
公称压力PN(MPa) | 1.6 | 2.5 | 4.0 | 2.0 | 5.0 |
壳体试验压力(MPa) | 2.4 | 3.75 | 6.0 | 3.0 | 7.5 |
高压液密封试验压力(MPa) | 1.76 | 2.75 | 4.4 | 2.2 | 5.5 |
低压气密封试验压力(MPa) | 0.6 | 0.6 | 0.6 | 0.6 | 0.6 |
设计制造 | GB/T 14382-2008 管道用三通过滤器 | ||||
对焊接端 | 按GB/T 12224-2005或ASME B16.25-2017的规定 | ||||
检验试验 | GB/T 14382-2008 管道用三通过滤器 | ||||
工作温度 | -196℃ ~ 540℃ | ||||
过滤精度 | 20μm ~ 16000μm | ||||
SRS1直流式T型过滤器外型尺寸表
公称压力 PN(MPa) | 公称通径 DN(mm) | 尺寸(mm) | 过滤面积 cm2 | 排污口N | ||
L0 | L1 | L2 | 管螺纹 | |||
1.6 | 50 | 64 | 112 | 142 | 72 | R⅜ |
65 | 76 | 121 | 155 | 108 | R⅜ | |
80 | 86 | 136 | 176 | 148 | R⅜ | |
100 | 105 | 157 | 207 | 190 | R⅜ | |
125 | 124 | 179 | 242 | 320 | R¾ | |
150 | 143 | 198 | 273 | 408 | R¾ | |
200 | 178 | 240 | 341 | 899 | R¾ | |
250 | 216 | 280 | 415 | 1290 | R¾ | |
300 | 254 | 332 | 486 | 1954 | R¾ | |
350 | 279 | 361 | 531 | 2445 | R¾ | |
400 | 305 | 390 | 585 | 3092 | R¾ | |
2.5 | 50 | 64 | 112 | 142 | 72 | R⅜ |
65 | 76 | 128 | 162 | 108 | R⅜ | |
80 | 86 | 144 | 184 | 148 | R⅜ | |
100 | 105 | 170 | 220 | 190 | R⅜ | |
125 | 124 | 192 | 255 | 320 | R¾ | |
150 | 143 | 218 | 293 | 408 | R¾ | |
200 | 178 | 258 | 359 | 899 | R¾ | |
250 | 216 | 296 | 425 | 1290 | R¾ | |
300 | 254 | 346 | 500 | 1954 | R¾ | |
350 | 279 | 379 | 549 | 2445 | R¾ | |
400 | 305 | 415 | 610 | 3092 | R¾ | |
4.0 | 50 | 64 | 112 | 142 | 72 | R⅜ |
65 | 76 | 128 | 162 | 108 | R⅜ | |
80 | 86 | 144 | 184 | 148 | R⅜ | |
100 | 105 | 170 | 220 | 190 | R⅜ | |
125 | 124 | 192 | 255 | 320 | R¾ | |
150 | 143 | 218 | 293 | 408 | R¾ | |
200 | 178 | 266 | 367 | 899 | R¾ | |
250 | 216 | 304 | 433 | 1290 | R¾ | |
300 | 254 | 359 | 513 | 1954 | R¾ | |
350 | 279 | 404 | 574 | 2445 | R¾ | |
400 | 305 | 440 | 625 | 3092 | R¾ | |
(Class150) 2.0 | 50 | 64 | 128 | 158 | 72 | R⅜ |
65 | 76 | 146 | 180 | 108 | R⅜ | |
80 | 86 | 156 | 196 | 148 | R⅜ | |
100 | 105 | 181 | 220 | 190 | R⅜ | |
125 | 124 | 213 | 265 | 320 | R¾ | |
150 | 143 | 232 | 297 | 408 | R¾ | |
200 | 178 | 280 | 370 | 899 | R¾ | |
250 | 216 | 318 | 433 | 1290 | R¾ | |
300 | 254 | 368 | 508 | 1954 | R¾ | |
350 | 279 | 406 | 561 | 2445 | R¾ | |
400 | 305 | 432 | 610 | 3092 | R¾ | |
(Class300) 5.0 | 50 | 64 | 134 | 164 | 72 | R⅜ |
65 | 76 | 152 | 186 | 108 | R⅜ | |
80 | 86 | 165 | 205 | 148 | R⅜ | |
100 | 105 | 191 | 230 | 190 | R⅜ | |
125 | 124 | 222 | 276 | 320 | R¾ | |
150 | 143 | 241 | 306 | 408 | R¾ | |
200 | 178 | 289 | 379 | 899 | R¾ | |
250 | 216 | 333 | 448 | 1290 | R¾ | |
300 | 254 | 384 | 524 | 1954 | R¾ | |
350 | 279 | 422 | 577 | 2445 | R¾ | |
400 | 305 | 451 | 629 | 3092 | R¾ | |
SRS1直流式T型过滤器主要结构图

尊敬的用户!如果你需订购我厂生产的直流式T型过滤器产品,咨询时烦请说明公称压力、公称通径、壳体材质、滤网材质、过滤精度等,以上提供的为基本型对焊连接安装尺寸参数,如需法兰连接或加长型安装尺寸请联系我司销售技术人员。