SRT1侧流式T型过滤器产品概述
SRT1、SRT2侧流式T型过滤器是本厂根据客户使用要求,参考《GB/T 14382-2008管道用三通过滤器》标准设计和制造的一款管道过滤器,其采用焊制工艺将法兰焊接在等径T形三通右端,并通过紧固件将法兰与法兰盖连接起来,T形三通壳体内安装有锥形结构不锈钢滤芯,滤芯由滤筒和丝网两部分组成,其设置于滤筒一端的第一开口和设置于滤筒另一端的第二开口,第一开口和第二开口均呈圆形,并平行设置,第一开口的直径小于第二开口的直径,其特征在于,第一开口与第二开口不同轴,且第一开口的圆周上的一点与第二开口的圆周上的一点之间的连线分别与第一开口所在的平面以及第二开口所在的平面垂直。
SRT1、SRT2侧流式T型过滤器适用于介质流向发生90度变化的管道除去流体中少量固体颗粒杂质。本产品按结构型式不同分为:SRT1基本型侧流式T型过滤器和SRT2加长型侧流式T型过滤器两种。
SRT1侧流式T型过滤器零部件材料
序号 | 零件名称 | 材料名称 | ||||
1 | 壳 体 | 20 | 15CrMo | 304 | 316 | 316L |
2 | 法 兰 | A105 | 15CrMo | 304 | 316 | 316L |
3 | 法 兰 盖 | Q235B | 15CrMo | 304 | 316 | 316L |
4 | 滤 芯 | 304 | 304 | 304 | 316 | 316L |
5 | 密封垫片 | 聚四氟乙烯、柔性石墨缠绕、金属缠绕垫(带内外环) | ||||
6 | 滤 座 | Q235B | 15CrMo | 304 | 316 | 316L |
7 | 螺 柱 | 35CrMoA | 35CrMoA | 304 | 316 | 316 |
8 | 螺 母 | 30CrMo | 30CrMo | 304 | 316 | 316 |
9 | 排污丝堵 | 304 | 304 | 304 | 316 | 316L |
SRT1侧流式T型过滤器技术规范表
公称压力PN(MPa) | 1.6 | 2.5 | 4.0 | 2.0 | 5.0 |
壳体试验压力(MPa) | 2.4 | 3.75 | 6.0 | 3.0 | 7.5 |
高压液密封试验压力(MPa) | 1.76 | 2.75 | 4.4 | 2.2 | 5.5 |
低压气密封试验压力(MPa) | 0.6 | 0.6 | 0.6 | 0.6 | 0.6 |
设计制造 | GB/T 14382-2008 管道用三通过滤器 | ||||
对焊接端 | 按GB/T 12224-2005或ASME B16.25-2017的规定 | ||||
检验试验 | GB/T 14382-2008 管道用三通过滤器 | ||||
工作温度 | -196℃ ~ 540℃ | ||||
过滤精度 | 20μm ~ 16000μm | ||||
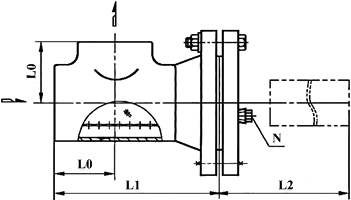
SRT1侧流式T型过滤器外型尺寸表
公称压力 PN(MPa) | 公称通径 DN(mm) | 尺寸(mm) | 过滤面积 cm2 | 排污口N | ||
L0 | L1 | L2 | 管螺纹 | |||
1.6 | 50 | 64 | 176 | 164 | 120 | R⅜ |
65 | 76 | 197 | 182 | 160 | R⅜ | |
80 | 86 | 222 | 207 | 220 | R⅜ | |
100 | 105 | 262 | 244 | 329 | R⅜ | |
125 | 124 | 303 | 283 | 486 | R¾ | |
150 | 143 | 341 | 321 | 685 | R¾ | |
200 | 178 | 418 | 396 | 1152 | R¾ | |
250 | 216 | 502 | 480 | 1737 | R¾ | |
300 | 254 | 586 | 561 | 2357 | R¾ | |
350 | 279 | 640 | 615 | 3077 | R¾ | |
400 | 305 | 695 | 670 | 3839 | R¾ | |
2.5 | 50 | 64 | 176 | 164 | 120 | R⅜ |
65 | 76 | 204 | 189 | 160 | R⅜ | |
80 | 86 | 230 | 215 | 220 | R⅜ | |
100 | 105 | 275 | 255 | 329 | R⅜ | |
125 | 124 | 316 | 296 | 486 | R¾ | |
150 | 143 | 361 | 341 | 685 | R¾ | |
200 | 178 | 436 | 411 | 1152 | R¾ | |
250 | 216 | 520 | 495 | 1737 | R¾ | |
300 | 254 | 600 | 575 | 2357 | R¾ | |
350 | 279 | 658 | 633 | 3077 | R¾ | |
400 | 305 | 720 | 695 | 3839 | R¾ | |
4.0 | 50 | 64 | 176 | 164 | 120 | R⅜ |
65 | 76 | 204 | 189 | 160 | R⅜ | |
80 | 86 | 230 | 215 | 220 | R⅜ | |
100 | 105 | 275 | 255 | 329 | R⅜ | |
125 | 124 | 316 | 296 | 486 | R¾ | |
150 | 143 | 361 | 341 | 685 | R¾ | |
200 | 178 | 444 | 419 | 1152 | R¾ | |
250 | 216 | 537 | 512 | 1737 | R¾ | |
300 | 254 | 623 | 598 | 2357 | R¾ | |
350 | 279 | 683 | 658 | 3077 | R¾ | |
400 | 305 | 745 | 720 | 3839 | R¾ | |
(Class150) 2.0 | 50 | 64 | 192 | 180 | 120 | R⅜ |
65 | 76 | 222 | 207 | 160 | R⅜ | |
80 | 86 | 242 | 227 | 220 | R⅜ | |
100 | 105 | 286 | 268 | 329 | R⅜ | |
125 | 124 | 337 | 320 | 486 | R¾ | |
150 | 143 | 375 | 358 | 685 | R¾ | |
200 | 178 | 458 | 439 | 1152 | R¾ | |
250 | 216 | 534 | 513 | 1737 | R¾ | |
300 | 254 | 622 | 599 | 2357 | R¾ | |
350 | 279 | 685 | 660 | 3077 | R¾ | |
400 | 305 | 737 | 711 | 3839 | R¾ | |
(Class300) 5.0 | 50 | 64 | 198 | 186 | 120 | R⅜ |
65 | 76 | 228 | 213 | 160 | R⅜ | |
80 | 86 | 251 | 236 | 220 | R⅜ | |
100 | 105 | 296 | 276 | 329 | R⅜ | |
125 | 124 | 346 | 326 | 486 | R¾ | |
150 | 143 | 384 | 364 | 685 | R¾ | |
200 | 178 | 467 | 445 | 1152 | R¾ | |
250 | 216 | 549 | 527 | 1737 | R¾ | |
300 | 254 | 638 | 613 | 2357 | R¾ | |
350 | 279 | 701 | 676 | 3077 | R¾ | |
400 | 305 | 756 | 730 | 3839 | R¾ | |
SRT1侧流式T型过滤器主要结构图

尊敬的用户!如果你需订购我厂生产的T型过滤器产品,咨询时烦请说明型号规格、壳体材质、滤网材质、过滤精度等本产品根据丝网安装在滤筒内和滤筒外分为正侧流式和反侧流式两种,右端壳体法兰可采用带颈对焊、带颈平焊和板式平焊等,也可按用户需求定制,具体详情请联系我司销售技术人员。