青铜Y型过滤器产品概述
青铜Y型过滤器是一种壳体和滤网盖等主体部件采用铝青铜或锡青铜材料制造而成,用于清除流体中固体杂质的管道附件,其工作过程是当流体经过过滤器时,液体中固体杂质受到滤网的阻力及自身重力的作用而沉积于筛网的底部,干净的滤液则可顺利通过滤网从出口流出,当需要清洗时,只需打开法兰盖将滤网取出清理网上的杂质,然后重新装入,让其继续工作,从而可以保证管线的正常运行。本产品特别适用于海水、硫酸盐和各种氯化物溶液等腐蚀性介质的过滤。
青铜Y型过滤器具有很高的综合力学性能,在海水、硫酸盐及氯化物等工况环境中均有优良的耐应力腐蚀、耐侵蚀腐蚀、耐空泡腐蚀、耐海生物污损及腐蚀疲惫强度高,其主要用于保护工艺设备与特殊管件(如压缩机、泵、燃油喷嘴、疏水阀等),防止杂物进入设备、管件损坏部件或堵塞管件,从而影响正常生产运行,起到稳定工艺过程、保障安全生产的作用。
青铜Y型过滤器部件材料
序号 | 零件名称 | 材料名称 | ||||
1 | 壳 体 | C95800 | C95500 | C83600 | C63200 | C63000 |
2 | 滤 网 盖 | C95800 | C95500 | C83600 | C63200 | C63000 |
3 | 过 滤 网 | 2205 | 2205 | 2205 | 2205 | 2205 |
4 | 垫 片 | PTFE | PTFE | PTFE | PTFE | PTFE |
5 | 螺 栓 | 316 | 316 | 316 | 316 | 316 |
6 | 螺 母 | 316 | 316 | 316 | 316 | 316 |
青铜Y型过滤器性能规范
公称压力PN(MPa) | 1.6 | 2.5 | 4.0 | 2.0 | 5.0 |
壳体试验压力(MPa) | 2.4 | 3.75 | 6.0 | 3.0 | 7.5 |
高压液密封试验压力(MPa) | 1.76 | 2.75 | 4.4 | 2.2 | 5.5 |
低压气密封试验压力(MPa) | 0.6 | 0.6 | 0.6 | 0.6 | 0.6 |
设计制造 | SH/T 3411-1999、HG/T 21637-1991、GB/T 14382-2008 | ||||
法兰标准 | JB/T 79、GB/T 9113、HG/T 20592、HG/T 20615、SH/T 3406、ASME B16.5等 | ||||
检验验收 | SH/T 3411-1999、HG/T 21637-1991、GB/T 14382-2008 | ||||
过滤精度 | 10目 ~ 500目 | ||||
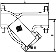
青铜Y型过滤器外型尺寸
公称压力 Class | 公称尺寸 NPS | 系列I尺寸(mm) | 系列II尺寸(mm) | 排污口 B(mm) | ||
L | H | L | H | |||
150 | ½ | 134 | 60 | 134 | 60 | — |
¾ | 142 | 70 | 142 | 70 | — | |
1 | 152 | 70 | 152 | 70 | — | |
1 ¼ | 182 | 75 | 168 | 75 | — | |
1 ½ | 200 | 90 | 200 | 90 | — | |
2 | 217 | 105 | 217 | 105 | — | |
2 ½ | 250 | 150 | 252 | 150 | — | |
3 | 284 | 175 | 282 | 175 | — | |
4 | 310 | 200 | 309 | 200 | — | |
5 | 353 | 205 | 351 | 205 | — | |
6 | 390 | 260 | 388 | 260 | — | |
8 | 485 | 300 | 468 | 300 | — | |
10 | 552 | 380 | 540 | 380 | — | |
12 | 641 | 410 | 640 | 410 | — | |
14 | 668 | 480 | 683 | 480 | — | |
16 | 755 | 540 | 755 | 540 | — | |
18 | 853 | 580 | 853 | 580 | — | |
20 | 890 | 645 | 900 | 645 | — | |
24 | 1060 | 950 | 1060 | 950 | — | |
如需其他公称压力结构尺寸,请联系我司销售技术人员! | ||||||
青铜Y型过滤器结构图

订购我厂Y型过滤器时请指明公称通径、公称压力、材质牌号及法兰标准和法兰密封面形式。我公司可根据用户要求承接定制,本产品壳体有铸造件和焊接件两种,过滤网可根据工况需要选用不锈钢、双相不锈钢及其他特殊材质等。