可视Y型过滤器产品概述
可视Y型过滤器是一种不仅能对介质进行过滤,去除流体中的固体颗粒,满足不同工况对物料纯度的要求,而且能直接通过法兰盖上开有的视窗口观察滤网的堵塞、破损情况,使操作员更加实时方便快捷地了解过滤器内部情况,从而及时清除过多的杂质。其可视窗口由透明材料制成的钢化玻璃夹持在两法兰之间的槽内并通过连接螺栓固定在壳体滤网放置处的端口上,为增加密封效果,所述法兰的边缘与钢化玻璃的边缘之间设置有垫圈。本产品克服了当观察Y型过滤器内部堵塞情况,需要打开底部法兰盖板的麻烦,不仅省力,而且非常方便。
可视Y型过滤器可以通过壳体上设置的视镜法兰窗口了解内部堵塞情况,方便操作员实时观察过滤器内状况,从而快速地解决问题,保证生产装置可以安全长周期稳运行。
可视Y型过滤器零件材料
序号 | 零件名称 | 材料名称 | ||||
1 | 壳 体 | WCB | CF8 | CF3 | CF8M | CF3M |
2 | 壳 盖 | WCB | CF8 | CF3 | CF8M | CF3M |
3 | 滤 筒 | 304 | 304 | 304L | 316 | 316L |
4 | 丝 网 | 304 | 304 | 304L | 316 | 316L |
5 | 垫 片 | GRAPHITE | PTFE | PTFE | PTFE | PTFE |
6 | 螺 栓 | 35CrMoA | 304 | 304 | 316 | 316 |
7 | 螺 母 | 30CrMo | 304 | 304 | 316 | 316 |
8 | 排污螺塞 | 304 | 304 | 304L | 316 | 316L |
可视Y型过滤器性能规范
公称压力PN(MPa) | 1.0 | 1.6 | 2.5 | 4.0 | 6.3 |
壳体试验压力(MPa) | 1.5 | 2.4 | 3.75 | 6.0 | 9.6 |
高压液密封试验压力(MPa) | 1.1 | 1.76 | 2.75 | 4.4 | 7.0 |
低压气密封试验压力(MPa) | 0.6 | 0.6 | 0.6 | 0.6 | 0.6 |
设计制造 | SH/T 3411-1999、HG/T 21637-1991、GB/T 14382-2008 | ||||
法兰标准 | JB/T 79、GB/T 9113、HG/T 20592、HG/T 20615、SH/T 3406、ASME B16.5等 | ||||
检验试验 | SH/T 3411-1999、HG/T 21637-1991、GB/T 14382-2008 | ||||
过滤精度 | 0.02mm ~ 16.0mm | ||||
工作温度 | 碳钢为-20℃ ~ 400℃、不锈钢为-196℃ ~ 400℃ | ||||
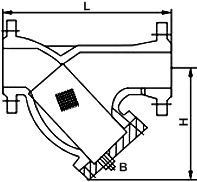
可视Y型过滤器外型尺寸
公称压力 PN(MPa) | 公称尺寸 DN(mm) | 系列I尺寸(mm) | 系列II尺寸(mm) | 排污口 B(mm) | ||
L | H | L | H | |||
1.6 | 15 | 134 | 60 | 134 | 60 | — |
20 | 142 | 70 | 142 | 70 | — | |
25 | 152 | 70 | 152 | 70 | — | |
32 | 183 | 75 | 168 | 75 | — | |
40 | 200 | 90 | 200 | 90 | — | |
50 | 216 | 105 | 216 | 105 | — | |
65 | 250 | 150 | 252 | 150 | — | |
80 | 285 | 175 | 282 | 175 | — | |
100 | 305 | 200 | 309 | 200 | — | |
125 | 350 | 205 | 345 | 205 | — | |
150 | 385 | 260 | 388 | 260 | — | |
200 | 485 | 300 | 468 | 300 | — | |
250 | 552 | 380 | 540 | 380 | — | |
300 | 606 | 410 | 640 | 410 | — | |
350 | 668 | 480 | 683 | 480 | — | |
400 | 755 | 540 | 755 | 540 | — | |
450 | 853 | 580 | 853 | 580 | — | |
500 | 890 | 645 | 900 | 645 | — | |
600 | 1060 | 950 | 1060 | 950 | — | |
如需更高公称压力结构尺寸,请联系我司销售技术人员! | ||||||
可视Y型过滤器结构图

如果你需订购我厂Y型过滤器系列产品,咨询时烦请说明公称直径、压力等级、壳体和滤芯材料、介质温度、过滤精度、法兰标准及密封面形式等,我厂生产的与本产品同系列的还有:可视T型过滤器、可视篮式过滤器等,其也可按客户需求承接定制。