手摇刷式Y型过滤器产品简介
手摇刷式Y型过滤器主要由壳体、滤筒滤网、法兰盖、带手柄的清洗刷及刷架组、排污阀和压力表等组成。其滤筒内置有一定规格滤网并还安装了可转动的清洗刷架组,清洗刷架组穿过法兰盖,位于盖内侧的部分设有清洗刷,位于盖外侧的一端有手摇柄体,当需要清除滤芯污垢时,无需停机,更不用拆卸过滤器的任何部件,只需转动手摇柄体数圈,对附有杂物的滤网内壁刷洗,同时,打开法兰盖上装设的排污阀,将杂物排出即可。本产品操作简单、使用方便,能随时以在线方式将过滤网上的杂质清除。
手摇刷式Y型过滤器在进液管口和出液管口处分别装有压力表,以便于用户通过进出口压差来判断是否对滤芯进行清洗(当压力差达到0.2MPa左右,或者比新安装时大3-4倍时,表明滤网内壁已挂满污物或杂质,建议此时应对滤芯进行清洗,当压差值小于0.1MPa时,即可停止刷洗),其利用滤筒内置的刷子和刷架,不断刷除滤网上的污物、杂质等颗粒,在系统中流体的冲洗下,再通过排污阀排出。本产品特别适合24小时连续运行的不停机系统,可以滤去水中各种机械杂质,而且可以确保系统设备的安全可靠运行。
手摇刷式Y型过滤器部件材料
| 序号 | 部件名称 | 材料名称 | |||||
| 1 | 壳 体 | Q235B | 20 | 304 | 304L | 316 | 316L |
| 2 | 法 兰 | Q235B | Q235B | 304 | 304L | 316 | 316L |
| 3 | 法 兰 盖 | Q235B | Q235B | 304 | 304L | 316 | 316L |
| 4 | 密 封 件 | NBR、EPDM、PKM、PTFE、GRAPHITE | |||||
| 5 | 滤筒滤网 | 304 | 304 | 304 | 304L | 316 | 316L |
| 6 | 排 污 阀 | CF8 | CF8 | CF8 | CF3 | CF8M | CF3M |
| 7 | 刷 架 组 | Q235B | Q235B | 304 | 304L | 316 | 316L |
| 8 | 清 洗 刷 | 骨质猪鬃毛、尼龙、不锈钢 | |||||
| 9 | 压 力 表 | 组合件 | 组合件 | 组合件 | 组合件 | 组合件 | 组合件 |
| 10 | 螺 栓 | 35CrMo | 35CrMo | 304 | 304 | 316 | 316 |
| 11 | 螺 母 | 30CrMo | 30CrMo | 304 | 304 | 316 | 316 |
手摇刷式Y型过滤器技术规范
| 公称压力PN(MPa) | 1.0 | 1.6 | 2.5 | 4.0 | 2.0 | 5.0 |
| 壳体试验压力(MPa) | 1.5 | 2.4 | 3.75 | 6.0 | 3.0 | 7.5 |
| 高压液密封试验压力(MPa) | 1.1 | 1.76 | 2.75 | 4.4 | 2.2 | 5.5 |
| 低压气密封试验压力(MPa) | 0.6 | 0.6 | 0.6 | 0.6 | 0.6 | 0.6 |
| 设计制造 | HG/T 21637-2021、GB/T 14382-2008、SH/T 3411-2017 | |||||
| 连接法兰 | JB/T 81、GB/T 9119、HG/T 20592、HG/T 20615、SH/T 3406、ASME B16.5等 | |||||
| 检验试验 | HG/T 21637-2021、GB/T 14382-2008、SH/T 3411-2017 | |||||
| 过滤精度 | 0.02mm ~ 16.0mm | |||||
| 压力损失 | ≤0.015MPa | |||||
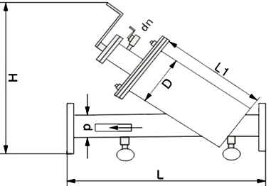
手摇刷式Y型过滤器外型尺寸
| 公称压力 PN | 公称通径 DN | 尺寸mm | 排污口 dn | ||||
| L | L1 | D | d | H | |||
| 10 ~ 40 (Class150) 20 (Class300) 50 | 40 | 520 | 330 | 159 | 57 | 560 | ¾" |
| 50 | 520 | 330 | 159 | 57 | 560 | ¾" | |
| 65 | 520 | 330 | 159 | 76 | 560 | ¾" | |
| 80 | 550 | 350 | 159 | 89 | 580 | ¾" | |
| 100 | 670 | 400 | 219 | 108 | 670 | ¾" | |
| 125 | 690 | 420 | 219 | 133 | 680 | 1" | |
| 150 | 800 | 450 | 273 | 159 | 720 | 1 ¼" | |
| 200 | 900 | 500 | 325 | 219 | 850 | 1 ¼" | |
| 250 | 1200 | 580 | 426 | 273 | 1050 | 1 ½" | |
| 300 | 1300 | 680 | 426 | 325 | — | 1 ½" | |
| 350 | 1530 | 740 | 478 | 377 | — | 2" | |
| 表中未列出规格及参数,请咨询汗越阀门技术部! | |||||||
手摇刷式Y型过滤器结构图

我厂Y型过滤器公称通径、工作压力、法兰标准、过滤精度及滤网材质等可根据客户需求定制,本产品清洗刷材料可选用不锈钢、猪鬃毛、骨质尼龙等,过滤芯件可采用冲孔板滤筒内置编制丝网或不锈钢楔形滤网,具体详情请咨询我司销售技术人员。