美标电动球阀产品概述
Q941F、Q941H、Q941Y美标电动球阀主要由直通浮动式美标法兰连接球阀和电动执行器及控制机构三部分组成,其电装接通电源后就能驱动阀杆带动球体在阀体内旋转90度来完成全关或全开动作。该阀电动执行器可选用Z型多回转型、Q型部分回转型以及精小型等系列,它内置伺服系统,无须另配伺服放大器,输入输出4-20mA信号及220VAC或380V电源即可控制运转,具有连线简单、结构紧凑、动作稳定可靠等优点。
Q941F、Q941H、Q941Y美标电动球阀通常用于实现管道介质的远程开、关控制,是工业自动化过程控制的一种管道压力元件,主要用于切断、分配或接通管路中的水、油品、气体、蒸汽、泥浆及其他粉状固体颗粒等介质,该阀不锈钢材质可以用于腐蚀性介质中,本产品亦可用于流体的调节。
美标电动球阀部件材料
序号 | 部件名称 | 材料名称 | ||||
1 | 阀 体 | A216 WCB | A351 CF8 | A351 CF3 | A351 CF8M | A351 CF3M |
2 | 左 阀 体 | A216 WCB | A351 CF8 | A351 CF3 | A351 CF8M | A351 CF3M |
3 | 阀 座 | RPTFE、PTFE、TEFLON、NYLON、PPL、PEEK、DEVLON、不锈钢+硬质合金 | ||||
4 | 球 体 | A105+ENP | A182 F304 | A182 F304L | A182 F316 | A182 F316L |
5 | 阀 杆 | A182 F6a | A182 F304 | A182 F304L | A182 F316 | A182 F316L |
6 | 填料压盖 | A216 WCB | A351 CF8 | A351 CF3 | A351 CF8M | A351 CF3M |
7 | 填 料 | 柔性石墨环、V形聚四氟乙烯、碳纤维编织 | ||||
8 | 螺 栓 | A193 B7 | A193 B8 | A193 B8 | A193 B8M | A193 B8M |
9 | 螺 母 | A194 2H | A194 8 | A194 8 | A194 8M | A194 8M |
美标电动球阀技术规范
公称压力 | Class150 | Class300 | Class600 | Class900 | Class1500 |
壳体试验压力 | 3.0MPa | 7.5MPa | 16.5MPa | 22.5MPa | 39.0MPa |
液体高压密封试验压力 | 2.2MPa | 5.5MPa | 12.1MPa | 16.5MPa | 28.6MPa |
气体低压密封试验压力 | 0.6MPa | 0.6MPa | 0.6MPa | 0.6MPa | 0.6MPa |
设计制造 | API 6D-2014、API 608-2008、ASME B16.34-2013 | ||||
结构长度 | API 6D-2014、ASME B16.10-2017 | ||||
法兰尺寸 | ASME B16.5-2017、ASME B16.47-2017、ANSI B16.5-2013等 | ||||
检验试验 | API 6D-2014、API 598-2016 | ||||
控制方式 | 开关到位灯(开关两位控制)、智能调节(4~20mA模拟量信号控制) | ||||
电源电压 | 220VAC或380V | ||||
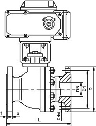
美标电动球阀外型尺寸
公称压力 Class | 公称尺寸 NPS | 尺寸(mm) | |||||
L | D | D1 | D2 | b-f | Z-ød | ||
150 | ½ | 108 | 90 | 60.3 | 34.9 | 9.6-1.6 | 4-16 |
¾ | 117 | 100 | 69.9 | 42.9 | 11.2-1.6 | 4-16 | |
1 | 127 | 110 | 79.4 | 50.8 | 12.7-1.6 | 4-16 | |
1 ¼ | 140 | 115 | 88.9 | 63.5 | 14.3-1.6 | 4-16 | |
1 ½ | 165 | 125 | 98.4 | 73.0 | 15.9-1.6 | 4-16 | |
2 | 178 | 150 | 120.7 | 92.1 | 17.5-1.6 | 4-19 | |
2 ½ | 190 | 180 | 139.7 | 104.8 | 20.7-1.6 | 4-19 | |
3 | 203 | 190 | 152.4 | 127.0 | 22.3-1.6 | 4-19 | |
4 | 229 | 230 | 190.5 | 157.2 | 22.3-1.6 | 8-19 | |
5 | 356 | 255 | 215.9 | 185.7 | 22.3-1.6 | 8-22.5 | |
6 | 394 | 280 | 241.3 | 215.9 | 23.9-1.6 | 8-22.5 | |
8 | 457 | 345 | 298.5 | 269.9 | 27.0-1.6 | 8-22.5 | |
10 | 533 | 405 | 362.0 | 323.8 | 28.6-1.6 | 12-25.5 | |
12 | 610 | 485 | 431.8 | 381.0 | 30.2-1.6 | 12-25.5 | |
以上为ASME B16.5标准Class150法兰连接浮动球球阀尺寸。如需其他尺寸,请来电咨询! | |||||||
美标电动球阀结构图

如果你需订购我厂电动球阀产品,咨询时烦请注明产品型号,如无法提供型号数据,请说明公称直径、压力等级、阀体材质、内件材质、介质温度,电动执行器要求,本产品常规配置为普通开关型电装。