CS41H自由浮球式蒸汽疏水阀产品概述
CS41H自由浮球式蒸汽疏水阀是由阀体内凝结水的液位变化驱动浮球的启闭动作,以起到自动排放凝结水并阻止蒸汽逸出的作用。当蒸汽系统刚运行时,管道内的空气经过自动或手动排空气装置排出,当冷凝水进入阀内时,浮球因浮力而上升,阀被开启,空气和凝结水同时迅速排出,当热凝结水和蒸汽进入时,阀内温度升高,排空气装置被关闭,浮球根据凝结水量多少和水位变化自动升降调节阀座孔开度,连续排放凝结水,当凝结水停止进入时,浮球靠自重下沉,封闭阀座孔,阀被关闭,由于阀座孔总是在凝结水液位以下,形成可靠的水密封,所以无蒸汽泄漏,起到排水阻汽作用。该阀结构简单,内部只有一个活动部件精细研磨的不锈钢空心浮球,它既是浮子又是启闭件,无易损零件,使用时间长,不受温度和工作压力波动的影响,连续排水。本产品有在阀盖上部设置空气排放阀和将空气排放阀安装在阀体内两种。
CS41H自由浮球式蒸汽疏水阀部件材料
序号 | 部件名称 | 材料名称 | ||||
1 | 阀 体 | A216 WCB | A217 WC6 | A351 CF8 | A351 CF8M | A351 CF3M |
2 | 阀 盖 | A216 WCB | A217 WC6 | A351 CF8 | A351 CF8M | A351 CF3M |
3 | 阀 座 | A276 430 | A276 430 | A276 304 | A276 316 | A276 316L |
4 | 浮 球 | A240 304 | A240 304 | A240 304 | A240 316 | A240 316L |
5 | 过 滤 网 | A240 304 | A240 304 | A240 304 | A240 316 | A240 316L |
6 | 螺 塞 | A105 | A182 F11 | A182 304 | A182 316 | A182 316L |
7 | 螺 栓 | A193 B7 | A193 B16 | A193 B8 | A193 B8M | A193 B8M |
8 | 螺 母 | A194 2H | A194 4 | A194 8 | A194 8M | A194 8M |
CS41H自由浮球式蒸汽疏水阀性能规范
公称压力PN(MPa) | 1.6 | 2.5 | 4.0 | 2.0 | 5.0 |
壳体试验压力(MPa) | 2.4 | 3.75 | 6.0 | 3.0 | 7.5 |
设计制造 | GB/T 22654-2008 蒸汽疏水阀 技术条件 | ||||
结构长度 | GB/T 12250-2005 蒸汽疏水阀 术语、标志、结构长度 | ||||
法兰标准 | JB/T 79、GB/T 9113、HG/T 20592、HG/T 20615、ASME B16.5等 | ||||
检验验收 | GB/T 12251-2005 蒸汽疏水阀 试验方法 | ||||
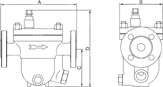
CS41H自由浮球式蒸汽疏水阀外型尺寸
公称压力 PN | 公称通径 DN | 尺寸(mm) | 参考重量 KG | |||
A | B | C | D | |||
16 ~ 40 (Class150)20 | 15 | 195 | 120 | 97 | 195 | — |
20 | 195 | 126 | 103 | 200 | — | |
25 | 215 | 130 | 105 | 210 | — | |
32 | 270 | 172 | 130 | 240 | — | |
40 | 280 | 172 | 140 | 250 | — | |
50 | 290 | 172 | 140 | 250 | — | |
65 | 340 | 210 | 175 | 300 | — | |
80 | 380 | 220 | 190 | 325 | — | |
100 | 430 | 260 | 225 | 410 | — | |
125 | 480 | 280 | 260 | 420 | — | |
150 | 480 | 302 | 311 | 506 | — | |
CS41H自由浮球式蒸汽疏水阀结构图

如果你需订购我厂自由浮球式蒸汽疏水阀产品,咨询时烦请说明使用压力、工作压差、公称压力、公称通径、阀体和内件材料、法兰标准等。本产品表面有黑色或蓝色高温油漆,也可根据客户要求喷涂其他颜色油漆。