FT44H杠杆浮球式蒸汽疏水阀产品概述
FT44H杠杆浮球式蒸汽疏水阀是由阀体内凝结水的液位变化驱动浮球带动单阀芯的启闭动作,以到达自动排除冷凝水和空气,同时阻止蒸汽泄漏。当蒸汽系统运行时,空气会在蒸汽之前进入蒸汽疏水阀内,此时,浮球在其底部位置,阀门关闭,较低的系统压力强迫空气通过热静力排气阀排出,接着冷的凝结水随着空气进入阀内,冷凝水液面逐渐升高,浮球向上浮起,同时,浮球通过杠杆带动阀芯打开,使冷凝水通过阀孔排出疏水阀,当蒸汽进入阀内时,阀体中液位逐渐下降,随之浮球就会带动阀芯关闭,相应的温度使热静力排空气阀膨胀关闭,防止蒸汽逸出,随着空气在阀内的聚集,温度会降到饱和蒸汽温度以下,压力平衡使热静力排空气阀打开并排放空气。本产品排量大,不受压力和温度的影响,随冷凝水量自动调节开度,连续排水,设备不存水,有水即排,灵敏度高,过冷度≥0℃,能使加热设备达到较好的换热效果。
FT44H杠杆浮球式蒸汽疏水阀部件材料
序号 | 部件名称 | 材料名称 | ||||
1 | 阀 体 | A216 WCB | A217 WC6 | A351 CF8 | A351 CF8M | A351 CF3M |
2 | 阀 盖 | A216 WCB | A217 WC6 | A351 CF8 | A351 CF8M | A351 CF3M |
3 | 浮 球 | A240 304 | A240 304 | A240 304 | A240 316 | A240 316L |
4 | 主 阀 芯 | A276 440 | A276 440 | A276 304 | A276 316 | A276 316L |
5 | 主阀阀座 | A276 430 | A276 430 | A276 304 | A276 316 | A276 316L |
6 | 控 制 架 | A240 304 | A240 304 | A240 304 | A240 316 | A240 316L |
7 | 弹 簧 | 17-4PH | 17-4PH | A276 304 | A276 316 | A276 316L |
8 | 膜 盒 | A240 304 | A240 304 | A240 304 | A240 316 | A240 316L |
9 | 膜盒阀座 | A276 430 | A276 430 | A276 304 | A276 316 | A276 316L |
FT44H杠杆浮球式蒸汽疏水阀性能规范
公称压力PN(MPa) | 1.6 | 2.5 | 4.0 | 2.0 | 5.0 |
壳体试验压力(MPa) | 2.4 | 3.75 | 6.0 | 3.0 | 7.5 |
工作压力(MPa) | ≥0.01 | ||||
设计制造 | GB/T 22654-2008 蒸汽疏水阀 技术条件 | ||||
结构长度 | GB/T 12250-2005 蒸汽疏水阀 术语、标志、结构长度 | ||||
法兰标准 | JB/T 79、GB/T 9113、HG/T 20592、HG/T 20615、ASME B16.5等 | ||||
检验验收 | GB/T 12251-2005 蒸汽疏水阀 试验方法 | ||||
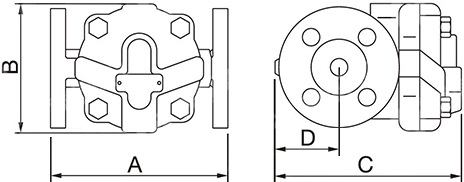
FT44H杠杆浮球式蒸汽疏水阀外型尺寸
公称压力 PN | 公称通径 DN | 尺寸(mm) | 参考重量 KG | |||
A | B | C | D | |||
16 ~ 40 (Class150)20 | 15 | 150 | 107 | 147 | 55 | 4.5 |
20 | 150 | 107 | 147 | 55 | 5.0 | |
25 | 160 | 107 | 166 | 100 | 6.5 | |
32 | 270 | 147 | 238 | 158 | — | |
40 | 270 | 147 | 238 | 158 | — | |
50 | 270 | 147 | 238 | 158 | — | |
65 | 270 | 210 | 238 | 158 | — | |
80 | 350 | 210 | 300 | 190 | — | |
100 | 350 | 210 | 300 | 190 | — | |
FT44H杠杆浮球式蒸汽疏水阀结构图

如果你需订购我厂杠杆浮球式蒸汽疏水阀产品,咨询时烦请说明产品类型,公称通径、公称压力、阀体和内件材质、工作温度、法兰执行标准及密封面形式等。