污水注气微排阀产品简介
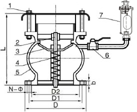
污水注气微排阀主要由负压吸气阀和污水复合式排气阀组合而成,该负压吸气阀包括吸气阀体、阀盖、高速吸气孔口和带弹簧的阀瓣,阀瓣通过弹簧上下移动,使吸气阀封闭高速吸气孔口保持关闭或通气状态,其污水复合式排气阀通过连接管连接在负压吸气阀一侧的阀口前。污水注气微排阀在分离的水柱回流弥合时,当系统压力升高至接近大气压力但仍处于微负压状态时,弹簧顶托力刚好克服阀瓣自重而关闭孔口,停止吸气,也不让排气,因为没有另外的高速排气孔口,管内的气体不能被高速排出,而只能经由污水复合式排气阀缓慢地排出,从而临时截留大部分空气,形成弹性气囊,缓冲弥合水柱的撞击能量,抑制水柱弥合水锤升压。本产品能够满足水路系统中特种情况下的通气问题,尤其是当发生非常水锤情况下的安全保护问题。
污水注气微排阀部件材料
序号 | 零部件名称 | 材料名称 | ||||
1 | 阀 盖 | QT450 | WCB | CF8 | CF8M | CF3M |
2 | 阀 杆 | 304 | 304 | 304 | 316 | 316L |
3 | 阀 瓣 | 304 | 304 | 304 | 316 | 316L |
4 | 弹 簧 | 304 | 304 | 304 | 316 | 316L |
5 | 阀 体 | QT450 | WCB | CF8 | CF8M | CF3M |
6 | 检 修 阀 | CF8 | CF8 | CF8 | CF8M | CF3M |
7 | 防 护 网 | 304 | 304 | 304 | 316 | 316L |
8 | 污水排气阀 | QT450 | WCB | CF8 | CF8M | CF3M |
污水注气微排阀性能规范
公称压力PN(MPa) | 0.6 | 1.0 | 1.6 | 2.5 | 2.0 |
阀体强度试验压力(MPa) | 0.9 | 1.5 | 2.4 | 3.75 | 3.0 |
高压水密封试验压力(MPa) | 0.66 | 1.1 | 1.76 | 2.75 | 2.2 |
低压水密封试验压力(MPa) | 0.02 | 0.02 | 0.02 | 0.02 | 0.02 |
法兰标准 | GB/T 17241.6-2008、JB/T 79-2015、GB/T 9113-2010、ASME B16.5-2017等 | ||||
检验试验 | GB/T 13927-2008、API 598-2016 | ||||
适用介质 | 污水、原水或物理化学性质类似于水的其他液体 | ||||
工作温度 | 0℃ ~ 80℃ | ||||
污水注气微排阀外形尺寸
公称压力 PN(MPa) | 公称通径 DN(mm) | 尺寸(mm) | |||||
L | D | D1 | D2 | b-f | N-Φ | ||
1.6 | 50 | 180 | 160 | 125 | 100 | 16-3 | 4-18 |
65 | 190 | 180 | 145 | 120 | 18-3 | 4-18 | |
80 | 210 | 195 | 160 | 135 | 20-3 | 8-18 | |
100 | 225 | 215 | 180 | 155 | 20-3 | 8-18 | |
125 | 250 | 245 | 210 | 185 | 22-3 | 8-18 | |
150 | 270 | 280 | 240 | 210 | 24-3 | 8-23 | |
200 | 310 | 335 | 295 | 265 | 26-3 | 12-23 | |
250 | 370 | 405 | 355 | 320 | 30-3 | 12-25 | |
300 | 380 | 460 | 410 | 375 | 30-4 | 12-25 | |
表中只列出了部分JB/T 79-2015标准PN16法兰连接外形尺寸。如需其他规格尺寸,请咨询汗越阀门! | |||||||
污水注气微排阀结构图

如果你需订购我厂排气阀产品,咨询时烦请说明公称通径、公称压力、阀体和内件材料等,本产品可在负压吸气阀和污水复合式排气阀的连接管处设置检修阀,当使用的工况非常重要或环境比较复杂时,烦请尽量提供设计图纸和详细参数,由我公司技术人员为您审核把关。