日标Y型过滤器产品概述
日标Y型过滤器是我厂为满足保护管路系统中日标阀门、泵、压缩机及流量计等的需要,采用日本JIS标准设计制造的一种管道附件,其当介质流经过滤器时,通过滤网的截留,滤去其中某一粒径以下的固体杂质,从而达到保护设备和仪表的作用。本产品广泛应用于石油、化工行业中气相及液相物料中固体杂质颗粒的分离以及吸附剂、催化剂的回收再利用。通过过滤流体中所含的固体杂质,防止颗粒物进入装置后造成的设备、管件损坏或者堵塞,保证生产介质满足工艺设计要求和生产装置的正常稳定运行。
日标Y型过滤器滤网采用将不锈钢编织网焊装在滤筒内的双层网结构。编织网具有过滤精度高、易制作、流动性好、可拆卸、过滤阻力小及成本低等优点,但其厚度较薄,很容易因面对物料大的冲击力而变形或撕裂,由不锈钢冲孔板制作而成的滤筒因厚度大,稳定性好,面对大的介质压力和流量可有效保护丝网,所以,两者相结合,既能截留其中杂质,满足工况要求的过滤效果,又可达到不易损坏的目的。本产品以30目/英寸作为标准网,对过滤精度的不同要求可通过编织网上的滤孔径大小来实现。
日标Y型过滤器部件材料
序号 | 部件名称 | 材料名称 | |||
1 | 壳 体 | SC410 | SCS13 | SCS14 | SCS16 |
2 | 壳 盖 | SC410 | SCS13 | SCS14 | SCS16 |
3 | 垫 片 | GRAPHITE | PTFE | PTFE | PTFE |
4 | 滤 网 | SUS304 | SUS304 | SUS316 | SUS316L |
5 | 螺 栓 | SS400 | SUS304 | SUS316 | SUS316L |
6 | 螺 母 | SS400 | SUS304 | SUS316 | SUS316L |
日标Y型过滤器性能规范
公称压力 | 10K | 16K | 20K | 40K |
壳体试验压力(MPa) | 3.0 | 6.0 | 7.5 | 15.0 |
液体高压密封试验压力(MPa) | 2.2 | 4.4 | 5.5 | 11.0 |
气体低压密封试验压力(MPa) | 0.6 | 0.6 | 0.6 | 0.6 |
法兰标准 | JIS B 2220:2012 | |||
检验试验 | JIS B 2003:2013 | |||
过滤精度 | 10目 ~ 500目 | |||
适用温度 | -80℃ ~ 540℃ | |||
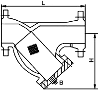
日标Y型过滤器外型尺寸
公称压力 K | 公称尺寸 A | 系列I尺寸(mm) | 系列II尺寸(mm) | ||
L | H | L | H | ||
10 | 15 | 134 | 60 | 134 | 60 |
20 | 142 | 70 | 142 | 70 | |
25 | 152 | 70 | 152 | 70 | |
32 | 182 | 75 | 168 | 75 | |
40 | 200 | 90 | 200 | 90 | |
50 | 217 | 105 | 217 | 105 | |
65 | 250 | 150 | 252 | 150 | |
80 | 284 | 175 | 282 | 175 | |
100 | 310 | 200 | 309 | 200 | |
125 | 353 | 205 | 351 | 205 | |
150 | 390 | 260 | 388 | 260 | |
200 | 485 | 300 | 468 | 300 | |
250 | 552 | 380 | 540 | 380 | |
300 | 641 | 410 | 640 | 410 | |
350 | 668 | 480 | 683 | 480 | |
400 | 755 | 540 | 755 | 540 | |
450 | 853 | 580 | 853 | 580 | |
500 | 890 | 645 | 900 | 645 | |
600 | 1060 | 950 | 1060 | 950 | |
20 | 15 | 144 | 70 | 144 | 70 |
20 | 201 | 110 | 201 | 110 | |
25 | 201 | 110 | 201 | 110 | |
32 | 214 | 115 | 214 | 115 | |
40 | 241 | 125 | 241 | 125 | |
50 | 271 | 145 | 268 | 145 | |
65 | 323 | 160 | 323 | 160 | |
80 | 323 | 210 | 323 | 210 | |
100 | 352 | 270 | 351 | 270 | |
125 | 400 | 288 | 400 | 288 | |
150 | 430 | 260 | 430 | 260 | |
200 | 580 | 395 | 580 | 395 | |
250 | 680 | — | 680 | — | |
40 | 15 | 175 | — | 175 | — |
20 | 206 | — | 206 | — | |
25 | 213 | 110 | 213 | 110 | |
32 | 232 | 115 | 232 | 115 | |
40 | 252 | 125 | 252 | 125 | |
50 | 278 | 130 | 278 | 130 | |
65 | 335 | 160 | 335 | 160 | |
80 | 370 | 260 | 370 | 260 | |
100 | 465 | 270 | 466 | 270 | |
125 | 400 | 288 | 400 | 288 | |
150 | 530 | — | 530 | — | |
200 | 580 | 395 | 580 | 395 | |
250 | 680 | — | 680 | — | |
300 | 800 | — | 800 | — | |
日标Y型过滤器结构图

如果你需订购我厂Y型过滤器系列产品,咨询时烦请说明公称尺寸、公称压力、壳体和滤芯材料、介质温度及过滤精度等,我厂生产的本产品有铸造件和焊接件两种,其安装在水平管道上时,滤网抽出方向应向下。