螺纹Y型过滤器产品介绍
螺纹Y型过滤器端部连接形式采用方便拆卸的G、ZG、Rc、NPT、BSP.F、BSP.T等及其他形式的内、外螺纹,其公称通径在DN15~DN100之间,一般安装在口径不大于100mm的设备、泵、阀之前的管道上,当物料从入口进入置有相应规格的滤芯后,其固体颗粒被滤网截留,沉积在滤筒底部,而清洁的介质则能穿过滤筒滤网,从出口流出,当需要清洗时,只需把螺盖拧开,将滤芯取出,处理后重新装上即可。
螺纹Y型过滤器壳体按制造工艺的不同,有铸制、锻制和焊制三种,其中铸造件一般适用于公称压力不超过4.0MPa的工况,而锻造成型或焊接制作的则能在压力等级不大于Class2500的环境下使用,所以其特适合安装在高压小口径管道输送系统中除去介质中所携带的固体颗粒物,可以有效地避免因系统杂质而引发堵塞现象。本产品可根据用户需要在壳盖上安装排污丝堵或排污阀,方便放尽残料或被过滤下来的杂质。
螺纹Y型过滤器部件材料
序号 | 部件名称 | 材料名称 | ||||
1 | 壳 体 | WCB | CF8 | CF3 | CF8M | CF3M |
2 | 壳 盖 | WCB | CF8 | CF3 | CF8M | CF3M |
3 | 滤 筒 | 304 | 304 | 304L | 316 | 316L |
4 | 滤 网 | 304 | 304 | 304L | 316 | 316L |
5 | 垫 片 | GRAPHITE | PTFE | PTFE | PTFE | PTFE |
6 | 排污螺塞 | 304 | 304 | 304L | 316 | 316L |
螺纹Y型过滤器性能规范
公称压力PN(MPa) | 0.6 | 1.0 | 1.6 | 2.5 | 2.0 |
壳体强度试验压力(MPa) | 0.9 | 1.5 | 2.4 | 3.75 | 3.0 |
高压液密封试验压力(MPa) | 0.66 | 1.1 | 1.76 | 2.75 | 2.2 |
低压气密封试验压力(MPa) | 0.6 | 0.6 | 0.6 | 0.6 | 0.6 |
设计制造 | HG/T 21637-1991 化工管道过滤器 | ||||
螺纹尺寸 | GB/T 7306.1、GB/T 7306.2、GB/T 7307、GB/T 12716、ASME B1.20.1等 | ||||
检验试验 | HG/T 21637-1991 化工管道过滤器 | ||||
过滤精度 | 10目 ~ 500目 | ||||
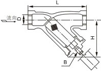
螺纹Y型过滤器外形尺寸
公称压力 PN | 公称通径 DN | 公称尺寸 NPS | D (in) | 尺寸(mm) | B (in) | |
L | H | |||||
16 ~ 25 (Class150)20 | 10 | ⅜ | G⅜″或NPT⅜″ | 64 | 51 | — |
15 | ½ | G½″或NPT½″ | 64 | 51 | ZG⅜″或NPT⅜″ | |
20 | ¾ | G¾″或NPT¾″ | 75 | 60 | ZG½″或NPT½″ | |
25 | 1 | G1″或NPT1″ | 89 | 72 | ZG½″或NPT½″ | |
32 | 1 ¼ | G1¼″或NPT1¼″ | 102 | 77 | ZG½″或NPT½″ | |
40 | 1 ½ | G1½″或NPT1½″ | 118 | 87 | ZG½″或NPT½″ | |
50 | 2 | G2″或NPT2″ | 139 | 103 | ZG½″或NPT½″ | |
65 | 2 ½ | G2½″或NPT2½″ | 180 | — | ZG½″或NPT½″ | |
80 | 3 | G3″或NPT3″ | 200 | — | ZG½″或NPT½″ | |
螺纹Y型过滤器结构图

本产品主要型号有SY11C-H10、SY11C-H25、SY11C-A150、SY11S-H10、SY11S-H25、SY11S-A150等,螺纹Y型过滤器有内螺纹、外螺纹及铸造、锻造等形式,我厂可按客户需求承接定制,客户在订购时烦请告知型号规格、壳体材质、滤筒滤网材料、过滤精度等,如需带排污丝堵,订货时请特别说明。