哈氏合金Y型过滤器产品介绍
哈氏合金Y型过滤器是一种壳体、法兰盖及滤网等主要零部件全部采用Hastelloy C-276及其他哈氏合金系列材料制造而成,其具有很好的耐氧化性氯化物水溶液及湿氯、次氯酸盐腐蚀,特别适用于过滤强腐蚀性氧化-还原复合介质及高温海水中的杂质。本产品广泛应用于化学工业、石油化工和轻工等生产中极端苛刻的腐蚀性液体及气体物料,用以过滤其固体杂质,通常安装在泵、压缩机的入口或流量仪表前的管道上,以保护此类设备或仪表。
哈氏合金Y型过滤器主要材料牌号有Hastelloy C-276、Hastelloy C-4、Hastelloy B、Hastelloy B-2等和美国UNS标准N10276、N06455、N10001、N10665等及国标NS3304、NS3305、NS321、NS322等,或其他牌号。该种材质的过滤器尤其适合在高温混有杂质的无机酸和有机酸(如甲酸和乙酸)及海水腐蚀环境中使用。本产品具有连接方式多样、结构简单、装拆方便、单位体积过滤面积大、压降小及安全可靠等优点。
哈氏合金Y型过滤器零件材料
序号 | 零件名称 | 材料名称 | ||||
1 | 壳 体 | Hastelloy C-276 | Hastelloy C-4 | Hastelloy B | Hastelloy G30 | UNS N10276 |
2 | 壳 盖 | Hastelloy C-276 | Hastelloy C-4 | Hastelloy B | Hastelloy G30 | UNS N10276 |
3 | 滤 网 | Hastelloy C-276 | Hastelloy C-4 | Hastelloy B | Hastelloy G30 | UNS N10276 |
4 | 密 封 垫 | PTFE | PTFE | PTFE | PTFE | PTFE |
5 | 螺 栓 | A193 B8M | A193 B8M | A193 B8M | A193 B8M | A193 B8M |
6 | 螺 母 | A194 8M | A194 8M | A194 8M | A194 8M | A194 8M |
哈氏合金Y型过滤器性能规范
公称压力PN(MPa) | 1.6 | 2.5 | 4.0 | 2.0 | 5.0 |
壳体试验压力(MPa) | 2.4 | 3.75 | 6.0 | 3.0 | 7.5 |
高压液密封试验压力(MPa) | 1.76 | 2.75 | 4.4 | 2.2 | 5.5 |
低压气密封试验压力(MPa) | 0.6 | 0.6 | 0.6 | 0.6 | 0.6 |
设计制造 | SH/T 3411-1999、HG/T 21637-1991、GB/T 14382-2008 | ||||
法兰标准 | JB/T 79、GB/T 9113、HG/T 20592、HG/T 20615、SH/T 3406、ASME B16.5等 | ||||
检验验收 | SH/T 3411-1999、HG/T 21637-1991、GB/T 14382-2008 | ||||
过滤精度 | 10目 ~ 500目 | ||||
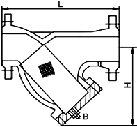
哈氏合金Y型过滤器外型尺寸
公称压力 Class | 公称尺寸 NPS | 系列I尺寸(mm) | 系列II尺寸(mm) | 排污口 B(mm) | ||
L | H | L | H | |||
150 | ½ | 134 | 60 | 134 | 60 | — |
¾ | 142 | 70 | 142 | 70 | — | |
1 | 152 | 70 | 152 | 70 | — | |
1 ¼ | 182 | 75 | 168 | 75 | — | |
1 ½ | 200 | 90 | 200 | 90 | — | |
2 | 217 | 105 | 217 | 105 | — | |
2 ½ | 250 | 150 | 252 | 150 | — | |
3 | 284 | 175 | 282 | 175 | — | |
4 | 310 | 200 | 309 | 200 | — | |
5 | 353 | 205 | 351 | 205 | — | |
6 | 390 | 260 | 388 | 260 | — | |
8 | 485 | 300 | 468 | 300 | — | |
10 | 552 | 380 | 540 | 380 | — | |
12 | 641 | 410 | 640 | 410 | — | |
14 | 668 | 480 | 683 | 480 | — | |
16 | 755 | 540 | 755 | 540 | — | |
18 | 853 | 580 | 853 | 580 | — | |
20 | 890 | 645 | 900 | 645 | — | |
24 | 1060 | 950 | 1060 | 950 | — | |
如需更高公称压力结构尺寸,请联系我司销售技术人员! | ||||||
哈氏合金Y型过滤器结构图

尊敬的用户!如果你需订购我厂Y型过滤器系列产品,咨询时烦请说明公称通径、公称压力、壳体和滤芯材料牌号、介质温度、过滤精度、法兰标准及密封面形式等,我厂生产的与本产品同系列的还有:哈氏合金T型过滤器、哈氏合金篮式过滤器等,其也可按客户需求承接定制。