锻钢Y型过滤器产品介绍
锻钢Y型过滤器是我厂采用SH/T 3411-2017石油化工泵用过滤器选用、检验及验收规范设计制造的一种锻制Y型过滤器,其主体部件均选用致密性较好的锻件材料,壳体和壳盖间连接可设计成方形法兰栓接、螺盖式、组焊式和自密封式等形式,其中自紧密封式的介质作用在壳体中腔,推动壳盖上升压紧密封环,实现密封,且压力不直接作用在填料垫上,压力越高,密封环受压力越大,密封性能越好。本产品特适合高温高压管路输送系统过滤。
锻钢Y型过滤器相比铸制Y型过滤器,其较大的特点是不会有搬运碰撞和铸造砂孔而带来的外部泄漏现象,它是重要机械设备及仪表的常用附件。我厂生产的本系列产品可根据用户要求在壳盖中部钻孔,然后安装上排放丝堵或排污阀门,方便排除残液和杂质,使其无需经常拆装壳盖以及滤筒,减轻了工人的劳动强度,提高工作效率。锻制Y型过滤器按接口端面型式不同有SRYIT螺纹式、SRYIS承插焊式、SRYIW对焊式、SRYIF法兰式等四种型号。
锻钢Y型过滤器部件材料
序号 | 部件名称 | 材料名称 | |||||
1 | 壳 体 | A105 | A182 F11 | A182 F304 | A182 F304L | A182 F316 | A182 F316L |
2 | 法 兰 | A105 | A182 F11 | A182 F304 | A182 F304L | A182 F316 | A182 F316L |
3 | 滤 筒 | A240 304 | A240 304 | A240 304 | A240 304L | A240 316 | A240 316L |
4 | 丝 网 | A240 304 | A240 304 | A240 304 | A240 304L | A240 316 | A240 316L |
5 | 垫 片 | 聚四氟乙烯、柔性石墨缠绕、带内外环金属缠绕垫 | |||||
6 | 壳 盖 | A105 | A182 F11 | A182 F304 | A182 F304L | A182 F316 | A182 F316L |
7 | 排污丝堵 | A105 | A182 F304 | A182 F304 | A182 F304L | A182 F316 | A182 F316L |
8 | 螺 栓 | A193 B7 | A193 B16 | A193 B8 | A193 B8 | A193 B8M | A193 B8M |
9 | 螺 母 | A194 2H | A194 4 | A194 8 | A194 8 | A194 8M | A194 8M |
锻钢Y型过滤器技术规范
公称压力PN(Class) | 150 | 300 | 600 | 900 | 1500 | 2500 |
壳体强度试验压力(MPa) | 3.0 | 7.5 | 16.5 | 22.5 | 39.0 | 63.0 |
高压液密封试验压力(MPa) | 2.2 | 5.5 | 12.1 | 16.5 | 28.6 | 46.2 |
低压气密封试验压力(MPa) | 0.6 | 0.6 | 0.6 | 0.6 | 0.6 | 0.6 |
设计制造 | SH/T 3411-2017 石油化工泵用过滤器选用、检验及验收规范 | |||||
法兰标准 | JB/T 79、JB/T 82、GB/T 9113、GB/T 9115、HG/T 20592、HG/T 20615、ASME B16.5等 | |||||
检验验收 | SH/T 3411-2017 石油化工泵用过滤器选用、检验及验收规范 | |||||
压力试验 | GB/T 13927-2008、JB/T 9092-1999、API 598-2016 | |||||
过滤精度 | 10目 ~ 500目 | |||||
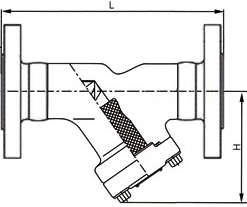
锻钢Y型过滤器外型尺寸
公称压力 Class | 公称尺寸 NPS | 公称通径 DN | 流道孔径 d(mm) | 尺寸(mm) | 排污口 B | ||
L | H | H1 | |||||
150(PN20) | ½ | 15 | 13 | 108 | 70 | — | NPT⅜ |
¾ | 20 | 17.5 | 117 | 100 | — | NPT⅜ | |
1 | 25 | 23 | 127 | 110 | — | NPT⅜ | |
1 ¼ | 32 | 30 | 140 | 120 | — | NPT⅜ | |
1 ½ | 40 | 35 | 165 | 120 | — | NPT⅜ | |
2 | 50 | 46 | 203 | 150 | — | NPT½ | |
300(PN50) | ½ | 15 | 13 | 140 | 70 | — | NPT⅜ |
¾ | 20 | 17.5 | 152 | 100 | — | NPT⅜ | |
1 | 25 | 23 | 165 | 110 | — | NPT⅜ | |
1 ¼ | 32 | 30 | 178 | 120 | — | NPT⅜ | |
1 ½ | 40 | 35 | 190 | 120 | — | NPT⅜ | |
2 | 50 | 46 | 216 | 150 | — | NPT½ | |
600(PN110) | ½ | 15 | 13 | 165 | 70 | — | NPT⅜ |
¾ | 20 | 17.5 | 190 | 100 | — | NPT⅜ | |
1 | 25 | 23 | 216 | 110 | — | NPT⅜ | |
1 ¼ | 32 | 30 | 229 | 120 | — | NPT⅜ | |
1 ½ | 40 | 35 | 241 | 120 | — | NPT⅜ | |
2 | 50 | 46 | 292 | 150 | — | NPT½ | |
锻钢Y型过滤器结构图

我厂生产的锻钢Y型过滤器主要材质有A105碳素钢,ASTM A182 F11 CL.2、F22 CL.3等合金钢,ASTM A182 F304、F304L、F316、F316L等不锈钢,ASTM A182 F51、A182 F53、A182 F55、A182 F60、A182 F61等双相不锈钢或其他材料,在订购本产品时请提供过滤网过滤精度,如有其他殊要求,咨询时请说明。