Writer: admin Time:2020-01-17 23:52 Browse:℃
前言
本标准按照GB/T 1.1 — 2009给出的规则起草。
本标准是对QB/T 1199 —1991《浮球阀》的修订。本标准与QB/T 1199 —1991相比,主要变化如下:
——范围作了修改,扩大了产品公称尺寸范围;
——增加了典型结构示意图;
——对产品的主要零件材料作了规定;
——增加了产品低压密封性能要求;
——增加了产品最小开启压力和关闭压力。
本标准由中国轻工业联合会提出。
本标准由全国五金制品标准化技术委员会建筑五金分技术委员会(SAC/TC174/SC3)归口。
本标准起草人:郑雪珍、金宗民、林岳华、林补生、苏宗尧、陈晓丹、曾天生、王朝阳、何烙辉、 方亚平、杨志雄、颜伟国、严荣杰、忻成梁、周礼、俞伟、全红、严德勇。
本标准所替代标准的历次版本发布情况为:——QB/T 1199—1991。 浮球阀 1、范围
本标准规定了浮球阀的结构型式、要求、试验方法、检验规则、标志、包装、运输和贮存。
本标准适用于工作温度小于80℃、工作介质为水的公称压力不大于的内、外螺纹连接浮球阀
(公称尺寸不大于100 mm)和法兰连接浮球阀(公称尺寸ZW: >100mm〜300mm)。
注:该阀可用于工业及民用管路上,作为自动开启和关闭管路,控制水箱、水池、水塔的液位。
2、规范性引用文件
下列文件对于本文件的应用是必不可少的。凡是注日期的引用文件,仅注日期的版本适用于本文件。
凡是不注日期的引用文件,其最新版本(包括所有的修改单)适用于本文件。
GB/T1176铸造铜及铜合金
GB/T 2828.1 —2012计数抽样检验程序第1部分:按接收质量限(AQL)检索的逐批检验抽样计划
GB/T 3280不锈钢冷乳钢板和钢带
GB/T4240不锈钢丝
GB/T 5231加工铜及铜合金牌号和化学成分
GB/T 7306.2 55°密封管螺纹第2部分:圆锥内螺纹与圆锥外螺纹
GB/T 7307 55°非密封管螺纹
GB/T 12225通用阀门铜合金铸件技术条件
GB/T 15530.1铜合金整体铸造法兰
GB/T 20078铜和铜合金锻件
HG/T 2810往复运动橡胶密封圈材料
3、结构型式
浮球阀的典型结构型式如图1、图2、图3所示。
图1内螺纹连接浮球阀

1、阀体;
2、导向爪;
3、密封垫;
4、柱塞;
5、弹簧;
6、连接螺母;
7、密封圈;
8、后盖;
9、小阀体;
10、密封片;
11、小柱塞;
12、杠杆;
13、浮球。
图2外螺纹连接浮球阀

1、接头;
2、压紧螺母;
3、密封垫;
4、阀体;
5、陶瓷阀芯组件;
6、杠杆;
7、浮球。
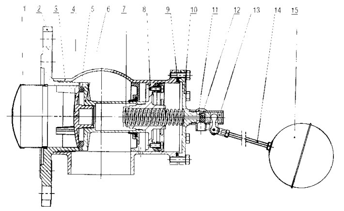
图3法兰连接浮球阀

1、过滤网组件;
2、法兰;
3、阀体;
4、导向爪;
5、密封垫;
6、柱塞;
7、弹簧;
8、活塞片;
9、密封圈;
10、阀盖;
11、小阀体;
12、密封片;
13、小柱塞;
14、杠杆;
15、浮球。
4、要求
4. 1材料
浮球阀主要零件材料应符合表1规定,在保证产品性能的条件下,可用其他材料代替。
表1零件材料
| 零 件 | 材 料 | 牌 号 | 执行标准编号 |
|
阀体、阀盖、活塞片、柱塞、 小柱塞、杠杆、小阀体、法兰导向爪 |
铅黄铜 | ZCuZn40Pb2或HPb59-l |
GB/T 1176 GB/T 5231 |
| 弹簧 | 不锈钢 | 12Crl8Ni9 | GB/T 4240 |
| 密封件 | 丁腈橡胶 | NBR | HG/T2810 |
| 浮球、杠杆 | 不锈钢 | 06Crl9Nil0 | GB/T 3280 |
| 公称尺寸£W/mm | 试验类型 | 试验水压/MPa |
最短试验持续时间/S |
| ^50 | 壳体强度试验 | 0.9 土 0.1 | 15 |
| 65〜200 | 60 | ||
| >200〜300 | 180 | ||
| ^200 | 密封性能试验 | 0.6 土 0.1 | 15 |
| >200〜300 | 30 | ||
| ^200 | 低压密封性能试验 | 0.04 | 15 |
| >200〜300 | 30 |
| 检验项目 | 要求 | 试验方法 | 不合格分类 | AQL |
| 壳体强度 | 4.2.1 | 5.1 | A | 1 |
| 密封性能 | 4.2.2 | 5.1 | ||
| 低压密封性能 | 4.2.2 | 5.1 | ||
| 浮球密封性能 | 4.2.3 | 5.1 | ||
| 管螺纹尺寸 | 4.3.1 | 5.2 | B | 4 |
| 螺纹表面质量 | 4.3.3 | 5.4 | C | 6.5 |
| 法兰表面质量 | 4.4.2 | 5.4 | ||
| 法兰连接尺寸 | 4.4.3 | 5.5 | ||
| 浮球表面质量 | 4.7.2 | 5.4 | ||
| 装配 | 4.9 | 5.6 | B | 4 |
| 标志、包装 | 7.1、7.2 | - | C | 6.5 |
| 公称尺寸 | 供抽样最少数量/台 | 抽样数/台 |
| 50 | 30 | 3 |
| 65 〜300 | 20 |
QQ: 769693943
Phone: 13816746668
Tel: 021-31001158
Email: 769693943
Add: 上海市金山区沪杭公路4169号