| 型号 | Q71F-16C | Q71F-25 | Q71F-16P | Q71F-25P | Q71F-16R | Q71F-25R | |
| 工作压力(MPa) | 1.6 | 2.5 | 1.6 | 2.5 | 1.6 | 2.5 | |
| 适用温度(℃) | ≤150 | ≤150 | |||||
| 适用介质 | 无腐蚀性介质 | 腐蚀性介质 | |||||
| 材料 | 阀体、密封瓶帽 | WCB | CF8 | CF3 | |||
| 阀杆 | 2CR13 | 304SS | 316SS | ||||
| 密封圈 | PTFE | ||||||
| 填料 | PTFE | ||||||
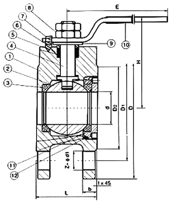
| 口径(in") | 1/2 | 3/4 | 1 | 1 1 / 4 | 1 1 / 2 | 2 | 2 1 / 2 | 3 | 4 | 5 | 6 | 8 |
| d | 15 | 19 | 23.5 | 30 | 36 | 45 | 58 | 67 | 76 | 100 | 125 | 195 |
| L | 32 | 38.5 | 45 | 55 | 62 | 72 | 95 | 120 | 145 | 200 | 225 | 275 |
| D | 95 | 105 | 115 | 135 | 145 | 160 | 180 | 195 | 215 | 245 | 280 | 335 |
| D1 | 65 | 75 | 85 | 100 | 110 | 125 | 145 | 160 | 180 | 210 | 240 | 295 |
| D2 | 45 | 55 | 65 | 78 | 85 | 100 | 120 | 135 | 155 | 185 | 210 | 265 |
| H | 62 | 70 | 79 | 86 | 92 | 102 | 158 | 172 | 187 | 200 | 240 | 278 |
| E | 110 | 125 | 135 | 150 | 150 | 180 | 250 | 300 | 350 | 650 | 840 | 1000 |
| b | 14 | 14 | 16 | 16 | 18 | 20 | 22 | 24 | 24 | 26 | 26 | 28 |
| z-d1 | 4-14 | 4-14 | 4-14 | 4-18 | 4-18 | 4-18 | 4-18 | 8-18 | 8-18 | 8-18 | 8-23 | 12-20 |
| f | 2 | 2 | 2 | 3 | 3 | 3 | 3 | 3 | 3 | 3 | 3 | 3 |
QQ: 769693943
Phone: 13816746668
Tel: 021-31001158
Email: 769693943
Add: 上海市金山区沪杭公路4169号