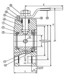
| 序号NO | 零件名称 | 材质 | |
| 1 | 阀体 | 不锈钢CF8M/CF8 | 碳钢WCB |
| 2 | 球 | 不锈钢316/304 | 不锈钢SS304 |
| 3 | 密封垫 | 聚四氟乙烯PTFE | 聚四氟乙烯PTFE |
| 4 | 阀杆 | 不锈钢316/304 | 不锈钢SS304 |
| 5 | 填料 | 不锈钢PTFE | 聚四氟乙烯PTFE |
| 6 | 定位锁 | 不锈钢304 | 不锈钢SS304 |
| 7 | 手柄 | 不锈钢304 | 不锈钢SS304 |
| 8 | 阀杆螺母 | 不锈钢304 | 不锈钢SS304 |
| 9 | 填料压盖 | 不锈钢304 | 不锈钢SS304 |
| 10 | 手柄套 | 塑料Plastic | 塑料Plastic |
| 11 | 密封瓶帽 | 不锈钢316/304 | 不锈钢SS304 |
| 12 | 垫圈 | 聚四氟乙烯PTFE | 聚四氟乙烯PTFE |

| 尺寸 | 15/1/2“ | 20/3/4” | 25/1“ | 32/11/4" | 40/11/2" | 50/2“ | 65/21/2" | 80/3” | 100/4“ | 125/5” | 150/6” | 200/8“ |
| d | 15 | 19 | 23.5 | 30 | 36 | 45 | 58 | 67 | 76 | 100 | 125 | 195 |
| L | 32 | 38.5 | 45 | 55 | 62 | 72 | 95 | 120 | 145 | 200 | 225 | 275 |
| D | 95 | 105 | 115 | 135 | 145 | 160 | 180 | 195 | 215 | 245 | 280 | 335 |
| D1 | 65 | 75 | 85 | 100 | 110 | 125 | 145 | 160 | 180 | 210 | 240 | 295 |
| D2 | 45 | 55 | 65 | 78 | 85 | 100 | 120 | 135 | 155 | 185 | 210 | 265 |
| H | 62 | 70 | 79 | 86 | 92 | 102 | 158 | 172 | 187 | 200 | 240 | 278 |
| E | 110 | 125 | 135 | 150 | 150 | 180 | 250 | 300 | 350 | 650 | 840 | 1000 |
| b | 14 | 14 | 16 | 16 | 18 | 20 | 22 | 24 | 24 | 26 | 26 | 28 |
| z-d1 | 4-14 | 4-14 | 4-14 | 4-18 | 4-18 | 4-18 | 4-18 | 8-18 | 8-18 | 8-18 | 8-23 | 12-20 |
| l | 2 | 2 | 2 | 3 | 3 | 3 | 3 | 3 | 3 | 3 | 3 | 3 |
| 2-G | 3/8 | 3/8 | 3/8 | 1/2 | 1/2 | 1/2 | 1/2 | 1/2 | 1/2 | 1/2 | 1/2 |
QQ: 769693943
Phone: 13816746668
Tel: 021-31001158
Email: 769693943
Add: 上海市金山区沪杭公路4169号