021-31001158  mmvalves@126.com

多路阀

5SDN25/21型上车多路阀液压原理(图)

Writer: admin Time:2020-09-12 11:38 Browse:

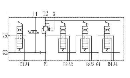
5SDN25/21型上车多路阀 液压原理图:

5SDN25/21型上车多路阀液压原理图

5SDN25/21型上车多路阀 技术参数:

额定压力/Rated Pressure:21MPa
公称通径/Nominal Diameter:16mm

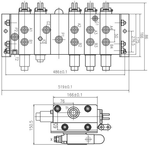
5SDN25/21型上车多路阀 外形尺寸:

5SDN25/21型上车多路阀外形尺寸