021-31001158  mmvalves@126.com

Z23Y,Z23X泥浆闸阀

更新时间:2024-04-13 10:04:02

Z23Y,Z23X泥浆闸阀

  • 1、产品型号:Z23Y、Z23X。
  • 2、公称通径:DN25~DN150。
  • 3、公称压力:16.0Mpa~42.0Mpa。
  • 4、适用温度:-20ºC~+150ºC。
  • 5、阀体材质:铸钢、不锈钢。
  • 6、适用介质:水、泥浆、石油。
  • 7、结构形式:闸板式。
  • 8、连接方式:法兰、焊接、卡套、外螺纹。
  • 9、驱动方式:手动、伞齿轮、电动、气动、液动。
  • 10、制造标准:国标GB、德国DIN、美国API、ANSI。

产品说明

Z23Y、Z23X泥浆闸阀主要用于油矿钻井泥浆循环系统设备,控制泥浆流通与关闭,连接形式为梯形螺纹或法兰式,安装快速方便,钢性强,安全可靠,阀座与闸板密封效果好,开启轻便。阀门两端与管道连接密封,采用球面活动接触与0型橡胶密封圈相结合的活动接头,产品结构性能可靠,特别适用于管道两端中心要求不高的场合。

产品特点

Z23Y、Z23X泥浆闸阀适用于钻井过程中对泥浆混合物控制的阀——简称泥浆阀,属于高压阀门技术领域。该阀包括有进、出液端的阀体,阀体的进、出液端之间的阀座中装有平板闸板,平板闸板的上端与阀杆衔接,所述阀杆与手轮通过螺纹副连接,其改进之处在于:阀座由包覆橡胶的两圆环内骨架及支撑环构成通道,其水平截面呈长轴与液流方向一致的椭圆形,嵌装在阀体进、出液端之间的盲孔中,包覆橡胶的两圆环内骨架之间留有宽度小于平板闸板厚度的圆弧槽。由于椭圆形截面的阀座与阀体上的盲孔形成过盈配合,减少与阀体大面积过赢,因此产生了理想的密封效果,而阀座中的圆环内骨架则长期保持着阀座的基本形状,使其具有足够的使用寿命。适用于钻井、油田。相关同类产品:卡箍式平行式闸阀、抗硫焊接式平行闸阀、法兰式平行闸阀、平板闸阀。

性能参数

工作温度:≤110℃
阀体材料:优质碳钢、合金钢
适用介质:泥浆、水
35.0MPa(350) Z23x-325/500 A/B型 35.0MPa(350)
25.0MPa(250) 25.0MPa(250)

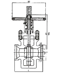
外形结构图

主要外形及连接尺寸

公称通径
DN(mm)
尺寸(mm) 重量
(Kg)
DN L L1 Tr SR H H1 DO
50 47 212 30 120×6 40 364 312 440 60
65 57 235 30 130×6 40 402 330 480 75
80 70 267 35 150×6 60 495 41 1 500 90
100 92 330 45 180×8 74 543 443 500 110

上一篇:没有了 下一篇:没有了


CATEGORIES

CONTACT US

QQ: 769693943

Phone: 13816746668

Tel: 021-31001158

Email: 769693943

Add: 上海市金山区沪杭公路4169号