| 设计与制造 | 结构长度 | 法兰尺寸 | 压力-温度 | 试验-检验 |
| GB12234 | GB12221 | GB9113 JB79 | GB9131 | GB/T13927 HB/T9092 |
| 型号 | PN | 工作压力 / MPa | 适用温度 / ℃ | 适用介质 |
| Z41H-100C | 100 | 10.0 | ≤ 425 | 水、蒸汽、油品 |
| Z41H-160C | 160 | 16.0 | ||
| Z41H-250C | 250 | 25.0 | ||
| Z41Y-100C | 100 | 10.0 | ||
| Z41Y-160C | 160 | 16.0 | ||
| Z41Y-250C | 250 | 25.0 | ||
| Z41Y-100I | 100 | 10.0 | ≤ 550 | 蒸汽、油品 |
| Z41Y-160I | 160 | 16.0 | ||
| Z41Y-250I | 250 | 25.0 | ||
| Z41W-100P | 100 | 10.0 | ≤ 200 | 醋酸类 |
| Z41W-160P | 160 | 16.0 | ||
| Z41W-250P | 250 | 25.0 |
| 型号 | 材料 | |||
| 阀体、阀盖、闸板 | 阀杆 | 密封面 | 填料 | |
| Z41H-100C | 碳素钢 | 铬不锈钢 | 堆焊铁基合金 | 石棉石墨或柔性石墨 |
| Z41H-160C | ||||
| Z41H-250C | ||||
| Z41Y-100 | 堆焊硬质合金 | |||
| Z41Y-160 | ||||
| Z41Y-250 | ||||
| Z41Y-100I | 铬钼钢 | 铬钼钢 | 堆焊硬质合金 | 石棉石墨或柔性石墨 |
| Z41Y-160I | ||||
| Z41Y-250I | ||||
| Z41W-100P | 铬镍钼钛不锈钢 | 铬镍钼钛不锈钢 | 堆焊硬质合金 | 聚四氟乙烯 |
| Z41W-160P | ||||
| Z41W-250P | ||||
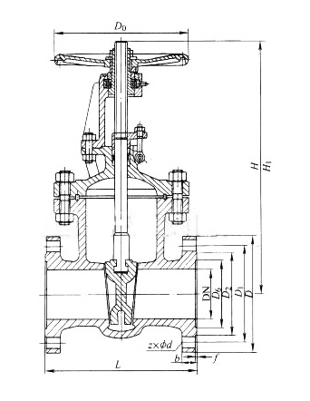
| DN | L | D | D1 | D2 | D8 | b | z×ød | H | H1 | D0 | 重量 / kg |
| 25 | 210 | 135 | 100 | 78 | 501 | 24 | 4×ø18 | 310 | — | — | 13 |
| 32 | 230 | 150 | 110 | 82 | 65 | 24 | 4×ø23 | 320 | — | — | 20 |
| 40 | 240 | 165 | 125 | 95 | 75 | 26 | 4×ø23 | 360 | — | — | 60 |
| 50 | 250 | 195 | 145 | 112 | 85 | 28 | 4×ø25 | 490 | 558 | 360 | 50 |
| 65 | 280 | 220 | 170 | 138 | 110 | 32 | 8×ø25 | 540 | 622 | 400 | 70 |
| 80 | 310 | 230 | 180 | 148 | 115 | 34 | 8×ø25 | 572 | 671 | 400 | 100 |
| 100 | 350 | 265 | 210 | 172 | 145 | 38 | 8×ø30 | 573 | 671 | 400 | 110 |
| 125 | 400 | 310 | 250 | 210 | 175 | 42 | 8×ø34 | 744 | 892 | 560 | 180 |
| 150 | 450 | 350 | 290 | 250 | 205 | 46 | 12×ø34 | 800 | 972 | 560 | 250 |
| 200 | 550 | 430 | 360 | 312 | 265 | 54 | 12×ø41 | 800 | 972 | 560 | 360 |
| 250 | 650 | 500 | 430 | 382 | 320 | 60 | 12×ø41 | 1050 | 1305 | — | — |
| 300 | 750 | 585 | 500 | 442 | 375 | 70 | 16×ø48 | 1200 | 1505 | — | — |
| DN | L | D | D1 | D2 | D8 | b | z×ød | H | H1 | H0 | 重量 / kg |
| 15 | 170 | 110 | 75 | 52 | 35 | 24 | 4×ø18 | 230 | 250 | 200 | 7 |
| 20 | 190 | 130 | 90 | 62 | 45 | 26 | 4×ø23 | 260 | 288 | 200 | 10 |
| 25 | 210 | 140 | 100 | 72 | 50 | 28 | 4×ø23 | 280 | 310 | 280 | 14 |
| 32 | 230 | 165 | 115 | 85 | 65 | 30 | 4×ø25 | 312 | 350 | 320 | 21 |
| 40 | 260 | 175 | 125 | 93 | 75 | 32 | 4×ø27 | 350 | 395 | 320 | 26 |
| 50 | 300 | 215 | 165 | 132 | 95 | 36 | 8×ø25 | 512 | 612 | 360 | 73 |
| 65 | 360 | 245 | 190 | 152 | 110 | 44 | 8×ø30 | 560 | 677 | 360 | 110 |
| 80 | 390 | 260 | 205 | 168 | 130 | 46 | 8×ø30 | 585 | 686 | 400 | 141 |
| 100 | 450 | 300 | 240 | 200 | 160 | 48 | 8×ø34 | 631 | 751 | 450 | 185 |
| 125 | 525 | 355 | 285 | 238 | 190 | 60 | 8×ø41 | 723 | 868 | 560 | 320 |
| 150 | 600 | 390 | 318 | 270 | 305 | 66 | 12×ø41 | 820 | 997 | 640 | 462 |
| 200 | 750 | 480 | 400 | 245 | 265 | 78 | 12×ø48 | 990 | 1224 | 720 | 711 |
QQ: 769693943
Phone: 13816746668
Tel: 021-31001158
Email: 769693943
Add: 上海市金山区沪杭公路4169号