| 型号 | PN | 工作压力/MPa | 适用温度/℃ | 输入信号/mA DC | 输入电阻/Ω | 电源电压及频率 | 不灵敏度/µA | ||||
| /V | /Hz | ||||||||||
|
ZAZP-16 ZAZN-16 |
16 | 1.6 | ≤200 | 0~10 | 4~24 | 200 | 250 | 220 | 50~60 | ≤150 | ≤240 |
|
ZAZP-40 ZAZN-40 |
40 | 4.0 |
C、P:≤250; C、P:≤450(带散热片) |
||||||||
|
ZAZP-63P ZAZN-63P |
63 | 6.3 | |||||||||
| 型号 | 输入信号/mA DC | 出轴推力/N | 行程/mm | 全行程时间/mm | |
| Ⅱ型 | DKZ-310 | 0~10 | 4000 | 16 | 12.5 |
| 25 | 30 | ||||
| DKZ-410 | 6400 | 40 | 32 | ||
| 60 | 48 | ||||
| DKZ-510 | 16000 | 60 | 37 | ||
| 100 | 62 | ||||
| Ⅲ型 | DKZ-3200 | 4~20 | 2500 | 16 | 10 |
| DKZ-3300 | 25 | 15.6 | |||
| DKZ-4400 | 6400 | 40 | 25 | ||
| DKZ-4500 | 60 | 37.5 | |||
| 型号 | 阀体、阀盖 | 阀芯、阀杆、阀座 | 垫片 | 填料 |
|
ZAZP-16 ZAZN-16 |
HT200 | 1Cr18Ni9 | 石棉橡胶板 | 聚四氟乙烯 |
|
ZAZP-40 ZAZN-40 |
ZG25 | 1Cr18Ni9 | 石棉橡胶板 | 聚四氟乙烯 |
|
ZAZP-63P ZAZN-63P |
1Cr18Ni9 | 1Cr18Ni9 | 石棉橡胶板 | 聚四氟乙烯 |
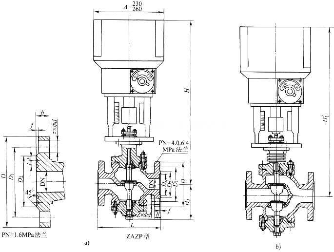
| DN | D | D1 | D2 | f | b | z×Φd | t | L |
| 25 | 115 | 85 | 65 | 2 | 16 | 4×Φ14 | 4 | 185 |
| 32 | 135 | 100 | 78 | 2 | 18 | 4×Φ18 | 5 | 200 |
| 40 | 145 | 110 | 85 | 3 | 18 | 4×Φ18 | 5 | 220 |
| 50 | 160 | 125 | 100 | 3 | 20 | 4×Φ18 | 5 | 250 |
| 65 | 180 | 145 | 120 | 3 | 20 | 4×Φ18 | 5 | 275 |
| 80 | 195 | 160 | 135 | 3 | 22 | 8×Φ18 | 5 | 305 |
| 100 | 215 | 180 | 155 | 3 | 24 | 8×Φ18 | 5 | 350 |
| 125 | 245 | 210 | 185 | 3 | 26 | 8×Φ18 | 5 | 410 |
| 150 | 280 | 240 | 210 | 3 | 28 | 8×Φ23 | 5 | 450 |
| 200 | 335 | 295 | 265 | 3 | 30 | 12×Φ23 | 5 | 550 |
| 250 | 405 | 355 | 320 | 3 | 32 | 12×Φ25 | 5 | 640 |
| 300 | 460 | 410 | 375 | 4 | 34 | 12×Φ25 | 5 | 720 |
| DN | D | D1 | D2 | f | D6 | f1 | b | z×Φd | H2 | H1 | H1ˊ |
| 25 | 190 | 115 | 85 | 65 | 58 | 4 | 16 | 4×Φ14 | 117 | 670 | 752 |
| 32 | 210 | 135 | 100 | 75 | 66 | 4 | 18 | 4×Φ18 | 120 | 673 | 754 |
| 40 | 230 | 145 | 110 | 85 | 76 | 4 | 18 | 4×Φ18 | 139 | 693 | 776 |
| 50 | 255 | 160 | 125 | 100 | 88 | 4 | 20 | 4×Φ18 | 144 | 698 | 804 |
| 65 | 285 | 180 | 145 | 120 | 110 | 4 | 22 | 8×Φ18 | 188 | 799 | 954 |
| 80 | 310 | 195 | 160 | 135 | 121 | 4 | 22 | 8×Φ18 | 208 | 809 | 964 |
| 100 | 355 | 230 | 190 | 160 | 150 | 4.5 | 24 | 8×Φ23 | 220 | 821 | 976 |
| 125 | 425 | 270 | 220 | 188 | 176 | 4.5 | 28 | 8×Φ25 | 268 | 907 | 1090 |
| 150 | 460 | 300 | 250 | 218 | 204 | 4.5 | 30 | 8×Φ25 | 278 | 917 | 1100 |
| 200 | 560 | 375 | 320 | 282 | 260 | 4.5 | 38 | 12×Φ30 | 320 | 959 | 1142 |
| 250 | 655 | 445 | 385 | 345 | 313 | 4.5 | 42 | 12×Φ34 | 441 | 1161 | 1309 |
| 300 | 735 | 510 | 450 | 408 | 364 | 4.5 | 46 | 16×Φ34 | 465 | 1175 | 1355 |
| DN | D | D1 | D2 | f | D6 | f1 | b | z×Φd | H2 | H1 | H1ˊ |
| 25 | 205 | 135 | 100 | 78 | 2 | 58 | 4 | 4×Φ18 | 117 | 670 | 752 |
| 32 | 220 | 150 | 110 | 82 | 2 | 66 | 4 | 4×Φ23 | 120 | 673 | 754 |
| 40 | 240 | 165 | 125 | 95 | 3 | 76 | 4 | 4×Φ23 | 139 | 693 | 776 |
| 50 | 265 | 175 | 135 | 105 | 3 | 88 | 4 | 4×Φ23 | 144 | 698 | 804 |
| 65 | 295 | 200 | 160 | 130 | 3 | 110 | 4 | 8×Φ23 | 188 | 799 | 954 |
| 80 | 325 | 210 | 170 | 140 | 3 | 121 | 4 | 8×Φ23 | 208 | 809 | 964 |
| 100 | 370 | 250 | 200 | 168 | 3 | 150 | 4.5 | 8×Φ25 | 220 | 821 | 976 |
| 125 | 440 | 295 | 240 | 202 | 3 | 176 | 4.5 | 8×Φ30 | 268 | 907 | 1090 |
| 150 | 475 | 340 | 280 | 240 | 3 | 204 | 4.5 | 8×Φ34 | 278 | 917 | 1100 |
| 200 | 570 | 405 | 345 | 300 | 3 | 260 | 4.5 | 12×Φ34 | 320 | 959 | 1142 |
| 250 | 670 | 470 | 400 | 325 | 3 | 313 | 4.5 | 12×Φ41 | 441 | 1161 | 1309 |
| 300 | 750 | 530 | 460 | 412 | 4 | 364 | 4.5 | 16×Φ41 | 465 | 1175 | 1355 |
QQ: 769693943
Phone: 13816746668
Tel: 021-31001158
Email: 769693943
Add: 上海市金山区沪杭公路4169号