| 阀体形式 | 角型铸造阀 |
| 公称通径 | DN20~300mm |
| 公称压力 | PN1.6、2.5、4.0、6.4 |
| 法兰标准 | GB/T9113、 JB/T79 |
| 连接形式 | 法兰(FF RF RTJ)、焊接(SW BW)、螺纹(适用于1″以内) |
| 阀盖形式 | 标准型-17~+230℃、高温型+230~+450℃、低温型-60~-196℃、波纹管密封型-40~+350℃ |
| 压盖型式 | 螺栓压紧式 |
| 密封填料 | V型聚四氟乙烯填料、含浸聚四氟乙烯石棉填料、石棉纺织填料、石墨填料 |
| 阀芯形式 | 单座、套筒型阀芯 |
| 流量特性 | 线性、等百分比 |
| 执行器型号 | 3810L系列、PSL系列 |
| 主要技术参数 | 电源电压:220V/50Hz、输入信号:4-20mA或1-5V·DC、输出信号:4-20mA·DC |
| 防护等级:相当IP55、隔爆标志:ExdⅡBT4、手操功能:手柄 | |
| 环境温度:-25~+70℃、环境湿度:≤95% |
| 配电动执行器型号 | PSL | PSL201 | PSL202 | PSL204 | PSL208 | PSL312 | PSL320 |
| 3810L | SA-08 | 381LSA-30 | 381LSB-30 | 381LSB-50 | 381LSC-65 | 381LSC-160 | |
|
公称压力 介质温度阀 体材料 |
1.6MPa | 常温-20℃~+200℃ 铸铁HT200 | |||||
| 4.0MPa | 常温-20℃~+200℃ 铸钢ZG25 铸不锈钢ZG1Cr18Ni9Ti | ||||||
| 中温-40℃~+450℃ 铸钢ZG25 铸不锈钢ZG1Cr18Ni9Ti | |||||||
| 6.4MPa | 常温-20℃~+200℃ 铸钢ZG25 铸不锈钢ZG1Cr18Ni9Ti | ||||||
| 中温-40℃~+450℃ 铸钢ZG25 铸不锈钢ZG1Cr18Ni9Ti | |||||||
| 公称通径(mm) | 6 | 10 | 15 | 25 | |||||||||||||||
| 阀座直径(mm) | 3 | 4 | 6 | 4 | 5 | 7 | 8 | 10 | 6 | 7 | 8 | 10 | 12 | 7 | 8 | 10 | 12 | 16 | 20 |
| 流量系数Kv | 0.04 | 0.1 | 0.1 | 0.4 | 0.4 | 1 | 1.6 | 2.5 | 4 | 6.3 | 8 | ||||||||
| 0.16 | 0.4 | 0.16 | 1 | 1.6 | 2.5 | 0.63 | 1 | 1.6 | 2.5 | 4 | |||||||||
| 0.063 | 0.25 | 0.25 | 0.63 | ||||||||||||||||
| 公称通径(mm) | 32 | 40 | 50 | 65 | 80 | 100 | 125 | 150 | 200 | ||||||||||
| 阀座直径(mm) | 16 | 20 | 30 | 20 | 38 | 30 | 50 | 38 | 65 | 50 | 80 | 65 | 100 | 65 | 125 | 100 | 150 | 125 | 200 |
| 流量系数 | 6.3 | 8 | 16 | 8 | 25 | 16 | 40 | 25 | 63 | 40 | 100 | 63 | 160 | 100 | 250 | 160 | 400 | 250 | 600 |
| 可调范围 | Kv值<18时 R=20:1;Kv值>18时 R=30:1 | ||||||||||||||||||
| 公称压力 | 1.6、4.0、6.4、10、16、22、32MPa | ||||||||||||||||||
| 阀芯形式 | 套筒导向单座柱塞型阀芯 | ||||||||||||||||||
| 流量特性 | 直线 | ||||||||||||||||||
| 作用形式 | 电开式、电关式 | ||||||||||||||||||
| 工作温度 | 普通型-40~230℃;散热片型230~450℃,特殊订货450~600℃ | ||||||||||||||||||
| 法兰标准 | 符合JB/T2769-92标准、可按ANSI、JIS、DIN 等订货生产 | ||||||||||||||||||
| 控制信号 | 4~20mA.DC; 1~5V.DC; 0~10V.DC (与所配执行机构有关) | ||||||||||||||||||
| 电 源 | S220V.AC, 50HZ; 380V.AC ,50HZ (与所配执行机构有关) | ||||||||||||||||||
| 公称通径DN | 20 | 25 | 32 | 40 | 50 | 65 | 80 | 100 | 125 | 150 | 200 | 250 | 300 | |
| 阀座直径dn(mm) | 20 | 25 | 32 | 40 | 50 | 65 | 80 | 100 | 125 | 150 | 200 | 250 | 300 | |
| 额定流量系数Kv | 6.5 | 10 | 16 | 25 | 40 | 63 | 100 | 160 | 250 | 400 | 630 | |||
| 行程mm | 10 | 16 | 25 | 40 | 60 | 100 | 100 | |||||||
| 允许压差ΔMPa | 6.1 | 3.8 | 2.3 | 1.4 | 1.0 | 2.3 | 1.6 | 1.0 | 0.8 | 0.6 | 0.4 | |||
| 基本误差% | ±2.5 | |||||||||||||
| 回差% | 2.5 | |||||||||||||
| 死区% | 1.0 | |||||||||||||
| 始终点偏差% | ±2.5 | |||||||||||||
| 额定行程偏差% | 2.5 | |||||||||||||
| 允许泄漏量Q | Kv值的0.1% | |||||||||||||
| 可调范围 | 30:1 | |||||||||||||
| 配电动执行器型号 | PSL | PSL201 | PSL202 | PSL204 | PSL208 | PSL312 | PSL320 | |||||||
| 3810L | SA-08 | 381LSA-30 | 381LSB-30 | 381LSB-50 | 381LSC-65 | 381LSC-160 | ||||||||
| 公称通径(mm) | 20 | 25 | 40 | 50 | 65 | 80 | 100 | 150 | 200 | 250 | 300 | ||||||
| 阀座直径(mm) | 10 | 12 | 15 | 20 | 25 | 32 | 40 | 50 | 65 | 80 | 100 | 125 | 150 | 200 | 250 | 300 | |
| 执行机构 | 允许压差△P(MPa) | ||||||||||||||||
| 配PSL | PSL202 | 6.4 | 6.4 | 6.4 | 4.90 | 3.14 | 1.92 | 1.23 | 0.78 | ||||||||
| PSL204 | 4.31 | 2.76 | 1.76 | 1.04 | 0.69 | 0.44 | |||||||||||
| PSL208 | 1.86 | 1.23 | 0.78 | 0.50 | 0.35 | 0.20 | |||||||||||
| PSL320 | 1.26 |
0.87 |
0.49 |
0.32 |
0.22 | ||||||||||||
| 配PSL | 381LSA-20 | 6.4 | 6.4 | 6.4 | 4.90 | 3.14 | 1.92 | 1.23 | 0.78 | ||||||||
| 381LSB-50 | 4.79 | 3.06 | 1.96 | 1.16 | 0.76 | 0.49 | |||||||||||
| 381LSC-65 | 1.51 | 0.99 | 0.64 | 0.41 | 0.28 | ||||||||||||
| 381LSC-99 | 0.63 | 0.44 | 0.25 | 0.16 | 0.11 | ||||||||||||
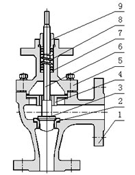
| 本体材质为碳钢 | |||||
| 1 | 阀体 | WCB | LCB | WC9 |
![]() |
| 2 | 阀座 | 304 | 304 | 304 | |
| 3 | 阀芯 | 304 | 304 | 304 | |
| 4 | 导向套 | 304 | 304 | 304 | |
| 5 | 阀盖 | WCB | LCB | WC9 | |
| 6 | 阀杆 | 304 | 304 | 304 | |
| 7 | 填料 | PTFE/柔性石墨 | |||
| 8 | 弹簧 | 65Mn | |||
| 9 | 螺母 | 304 | 304 | 304 | |
| 本体材质为不锈钢 | |||||
| 1 | 阀体 | CF8 | CF8M | CF3M |
![]() |
| 2 | 阀座 | 304 | 316 | 316L | |
| 3 | 阀芯 | 304 | 316 | 316L | |
| 4 | 导向套 | 304 | 316 | 316L | |
| 5 | 阀盖 | CF8 | CF8M | CF3M | |
| 6 | 阀杆 | 304 | 316 | 316L | |
| 7 | 填料 | PTFE/柔性石墨 | |||
| 8 | 弹簧 | 65Mn | |||
| 9 | 螺母 | 304 | 316 | 316L | |
| 称通径 DN(mm) | 20 | 25 | 32 | 40 | 50 | 65 | 80 | 100 | 125 | 150 | 200 | 250 | 300 | |
| L | PN16/25 | 95 | 100 | 105 | 115 | 125 | 145 | 155 | 175 | 200 | 225 | 275 | 95 | 100 |
| PN40 | 95 | 100 | 105 | 115 | 125 | 145 | 155 | 175 | 200 | 225 | 275 | 95 | 100 | |
| PN64 | 115 | 115 | 130 | 130 | 150 | 170 | 190 | 215 | 250 | 275 | 325 | 115 | 115 | |
| H | PN16/25 | 119 | 119 | 122 | 140 | 157 | 169 | 179 | 200 | 230 | 250 | 304 | 365 | 420 |
| PN40 | 123 | 123 | 134 | 152 | 157 | 191 | 201 | 216 | 240 | 270 | 325 | 380 | 400 | |
| PN64 | 135 | 135 | 142 | 160 | 177 | 196 | 206 | 227 | 257 | 277 | 331 | 410 | 430 | |
| H1 | PSL | 465 | 465 | 465 | 465 | 465 | 560 | 560 | 560 | 560 | 560 | 788 | 788 | 788 |
| 3810 | 373 | 373 | 495 | 495 | 495 | 700 | 700 | 700 | 725 | 725 | 725 | 725 | 725 | |

| 类别 | 3810L系列 | 3410L系列 | 额定输出力N | 速度mm/s | 最大行程mm |
| 普通型 | 381LS A-08 | 341LS A-08 | 800 | 4.2 | 30 |
| 381LSA-20 | 341LSA-20 | 2000 | 2.1 | ||
| 381LSB-30 | 341LSB-30 | 3000 | 3.5 | 60 | |
| 381LS B-50 | 341LS B-50 | 5000 | 1.7 | ||
| 381LSC-65 | 341LSC-65 | 6500 | 3.4 | 100 | |
| 381LSC-99 | 341LSC-99 | 10000 | 2.0 | ||
| 381LSC-160 | 341LSC-160 | 16000 | 1.0 | ||
| 隔爆型 | 381LX A-08 | 341LX A-08 | 800 | 4.2 | 30 |
| 381LXA-20 | 341LXA-20 | 2000 | 2.1 | ||
| 381LXA-30 | 341LXA-30 | 3000 | 3.5 | 60 | |
| 381LXA-50 | 341LXA-50 | 5000 | 1.7 |
| 类别 | 3810R系列 | 3410R系列 | 额定输出力矩N.m | 动作时间90o/S | 最大转角 |
| 普通型 | 381RSA-02 | 341RSA-02 | 20 | 8.5 | 90º |
| 381RSA-05 | 341RSA-05 | 50 | 17 | ||
| 381RSB-10 | 341RSB-10 | 100 | 18 | ||
| 381RSB-20 | 341RSB-20 | 200 | 36 | ||
| 381RSC-30 | 341RSC-30 | 300 | 24 | ||
| 381RSC-50 | 341RSC-50 | 500 | 42 | ||
| 381RSC-60 | 341RSC-60 | 600 | 48 | ||
| 381RSD-100 | 341RSD-100 | 1000 | 30 | ||
| 381RSD-150 | 341RSD-150 | 1500 | 42 | ||
| 隔爆型 | 381RXB-10 | 341RXB-10 | 100 | 18 | |
| 381RXB-20 | 341RXB-20 | 200 | 36 |
QQ: 769693943
Phone: 13816746668
Tel: 021-31001158
Email: 769693943
Add: 上海市金山区沪杭公路4169号