

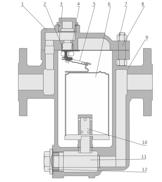
| 序号 | 名称 | 材料 |
| 1 | 阀盖 | WCB |
| 2 | 封圈 | 304 |
| 3 | 螺堵 | Q235 |
| 4 | 吊支架 | 304 |
| 5 | 挂支架 | 304 |
| 6 | 浮筒 | 304 |
| 7 | 螺母 | 45 |
| 8 | 螺柱 | 35CrMoA |
| 9 | 阀体 | WCB |
| 10 | 增压桶 | Q235 |
| 11 | 滤网 | 304 |
| 12 | 滤网座 | Q235 |
| 型号 | 口径DN | L | H | h | W |
|
CS15H-16C CS15H-25C CS15H-40C |
15 | 170 | 166 | 94 | 102 |
| 20 | 170 | 166 | 94 | 102 | |
| 25 | 210 | 166 | 94 | 102 | |
| 32 | 230 | 290 | 160 | 142 | |
| 40 | 230 | 290 | 160 | 142 | |
| 50 | 230 | 290 | 160 | 142 | |
| 65 | 280 | 290 | 160 | 142 |
| 型号 | 口径DN | L | H | h | W |
|
CS15H-16C CS15H-25C CS15H-40C |
15 | 120 | 166 | 94 | 102 |
| 20 | 120 | 166 | 94 | 102 | |
| 25 | 130 | 166 | 94 | 102 | |
| 32 | 200 | 290 | 160 | 142 | |
| 40 | 200 | 290 | 160 | 142 | |
| 50 | 200 | 290 | 160 | 142 |
QQ: 769693943
Phone: 13816746668
Tel: 021-31001158
Email: 769693943
Add: 上海市金山区沪杭公路4169号