021-31001158  mmvalves@126.com

CS45H钟形浮子式蒸汽疏水阀

更新时间:2024-04-13 10:04:35

CS45H钟形浮子式蒸汽疏水阀

  • 1、产品型号:CS45H。
  • 2、公称通径:DN15~DN65。
  • 3、公称通径:DN15~DN65。
  • 4、适用温度:-29ºC~+425ºC。
  • 5、阀体材质:铸钢、不锈钢。
  • 6、适用介质:水、蒸汽。
  • 7、结构形式:钟形浮子式。
  • 8、连接方式:法兰、内螺纹。
  • 9、驱动方式:自动。
  • 10、制造标准:国标GB、德国DIN、美国API、ANSI。

产品说明

CS45H钟形浮子式蒸汽疏水阀的开启和关闭是根据凝结水和蒸汽的密度并来动作的,其动作准确,可靠。用于石油、化工、电力、纺织印染、医疗、医药等行业的各种蒸汽加热设备、蒸汽管网和低过热蒸汽工况。它能迅速地排除凝结水,有效地阻止蒸汽泄漏。

产品特点

1、即能连续又能间歇排放饱和凝结水加热设备不会有水积聚,从而获得最高的热效率。
2、耐水击倒吊桶结构不会因水击而遭到损坏,使用寿命长。
3、排空气性能好倒吊桶上设有溢出排气孔,可有效地预防蒸汽气锁和空气气堵。
4、允许背压高背压率达85%。
5、维修方便内部零件采用不锈钢制造,均安装在阀盖上,并设有过滤网装置,日常维护方便。

产品图

排量图

 

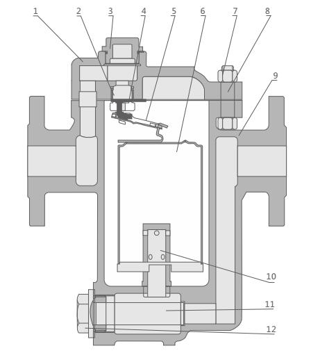
结构分析图

 

主要零部件

序号 名称 材料
1 阀盖 WCB
2 封圈 304
3 螺堵 2Cr13
4 吊支架 2Cr13
5 挂支架 2Cr13
6 浮筒 H62
7 螺母 H62
8 螺柱 65Mn
9 阀体 304
10 增压筒 45
11 滤网 35CrMoA
12 滤网座 304+石墨

外形结构图

主要外形尺寸

型号 口径DN L H h W
CS45H 15 170 166 94 102
20 170 166 94 102
25 210 166 94 102
32 230 290 160 142
40 230 290 160 142
50 230 290 160 142
65 280 290 160 142

主要外形尺寸

型号 口径DN L H h W
CS15H 15 120 166 94 102
20 120 166 94 102
25 130 166 94 102
32 200 290 160 142
40 200 290 160 142
50 200 290 160 142

主要外形尺寸

型号 口径DN L H h W
ER116 15 310 280 140 140
20 310 280 140 140
25 310 280 140 140
32 310 280 140 140
40 310 295 145 147
50 330 295 145 147

主要外形尺寸

型号 口径DN L H h W
ER105 15 200 280 140 140
20 200 280 140 140
25 200 280 140 140
32 200 280 140 140
40 200 280 140 140
50 215 295 145 147

主要外形尺寸

型号 口径DN L H h W
ER105F 15 270 280 140 140
20 270 280 140 140
25 270 280 140 140
32 270 280 140 140
40 270 280 140 140
50 270 290 145 147

主要外形尺寸

型号 口径DN L H h W
ER25 25 380 210 180 345
32 380 210 180 345
40 380 210 180 345
50 380 210 180 345

上一篇:没有了 下一篇:CS15H钟形浮子式蒸汽疏水阀


CONTACT US

QQ: 769693943

Phone: 13816746668

Tel: 021-31001158

Email: 769693943

Add: 上海市金山区沪杭公路4169号