
| 序号 | 名称 | 材料 |
| 1 | 阀体 | WCB、A105、SS304 |
| 2 | 密封垫片 | H62 |
| 3 | 阀盖 | Q235、WCB、SS304 |
| 4 | 阀冒 | Q235、WCB、SS304 |
| 5 | 标牌 | SS304 |
| 6 | 螺钉 | SS304 |
| 7 | 阀片 | SS304 |
| 8 | 滤网 | SS304 |
| 9 | 尾螺 | 2Cr13 |
| 10 | 密封垫片 | H62 |
| 型号 | 口径DN | L | H | h | W |
|
CS49H-16C CS49H-25C CS49H-40C |
15 | 150 | 95 | 36 | 59 |
| 20 | 150 | 100 | 40 | 59 | |
| 25 | 160 | 108 | 42 | 59 | |
| 32 | 200 | 115 | 50 | 73 | |
| 40 | 230 | 115 | 50 | 73 | |
| 50 | 230 | 127 | 52 | 73 | |
| 65 | 250 | 173 | 80 | 73 | |
| 80 | 280 | 203 | 100 | 97 | |
| 100 | 310 | 218 | 110 | 97 | |
| 125 | 310 | 218 | 110 | 97 | |
| 150 | 350 | 254 | 110 | 107 |
| 型号 | 口径DN | L | H | h | W |
| CS49H-64C | 15 | 210 | 110 | 25 | 108 |
| 20 | 210 | 110 | 25 | 108 | |
| 25 | 210 | 110 | 25 | 108 | |
| 32 | 270 | 145 | 34 | 124 | |
| 40 | 270 | 145 | 34 | 124 | |
| 50 | 270 | 145 | 34 | 124 |
| 型号 | 口径DN | L | H | h | W |
|
CS19H-16C CS19H-25C CS19H-40C CS19H-64C |
15 | 75 | 95 | 36 | 59 |
| 20 | 85 | 100 | 40 | 59 | |
| 25 | 95 | 108 | 42 | 59 | |
| 32 | 115 | 115 | 50 | 73 | |
| 40 | 115 | 115 | 50 | 73 | |
| 50 | 170 | 127 | 87 | 73 |
| 型号 | 口径DN | L | H | h | W |
|
CS69H-16C CS69H-25C CS69H-40C CS69H-64C |
15 | 130 | 110 | 25 | 108 |
| 20 | 130 | 110 | 25 | 108 | |
| 25 | 130 | 110 | 25 | 108 | |
| 32 | 140 | 145 | 34 | 124 | |
| 40 | 140 | 145 | 34 | 124 | |
| 50 | 140 | 145 | 34 | 124 |

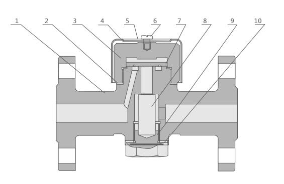
| 序号 | 名称 | 材料 |
| 1 | 阀体 | WCB、SS304 |
| 2 | 过滤网 | SS304 |
| 3 | 密封垫片 | PPL |
| 4 | 底盖 | Q235、WCB、SS304 |
| 5 | 密封垫片 | PPL |
| 6 | 阀座 | SS304 |
| 7 | 密封垫片 | PPL |
| 8 | 阀片 | SS304 |
| 9 | 阀盖 | Q235、WCB、SS304 |
| 10 | 防护盖 | Q235、WCB、SS304 |
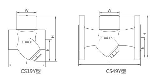
| 型号 | 口径DN | L | H | h | W |
|
CS49H-16C Y型 CS49H-25C Y型 CS49H-40C Y型 CS49H-64C Y型 |
15 | 150 | 110 | 50 | 53 |
| 20 | 150 | 110 | 50 | 53 | |
| 25 | 160 | 110 | 50 | 53 | |
| 32 | 230 | 148 | 70 | 68 | |
| 40 | 230 | 148 | 70 | 68 | |
| 50 | 230 | 158 | 77 | 77 |
| 型号 | 口径DN | L | H | h | W |
|
CS19H-16C Y型 CS19H-25C Y型 CS19H-40C Y型 CS19H-64C Y型 |
15 | 90 | 110 | 50 | 53 |
| 20 | 90 | 112 | 52 | 53 | |
| 25 | 90 | 118 | 56 | 53 | |
| 32 | 130 | 160 | 81 | 77 | |
| 40 | 130 | 160 | 81 | 77 | |
| 50 | 150 | 195 | 95 | 80 |
QQ: 769693943
Phone: 13816746668
Tel: 021-31001158
Email: 769693943
Add: 上海市金山区沪杭公路4169号