
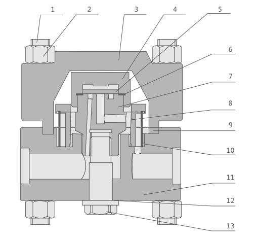
| 序号 | 名称 | 材料 |
| 1 | 螺柱 | B16 |
| 2 | 螺母 | 20CrMo |
| 3 | 阀盖 | F22 |
| 4 | 阀座盖 | F22 |
| 5 | 阀片 | F22 |
| 6 | 垫圈 | 石墨 |
| 7 | 阀座 | F22 |
| 8 | 阀套 | F22 |
| 9 | 石墨垫圈 | 304+石墨 |
| 10 | 滤网 | 304 |
| 11 | 阀体 | F22 |
| 12 | 垫圈 | 石墨 |
| 13 | 阀座顶杆 | F22 |
| 型号 | 口径DN | L | H | h | W |
|
CS49H-100I KRF-600LB KRF3-600LB |
15 | 230 | 112 | 23 | 135 |
| 20 | 230 | 112 | 23 | 135 | |
| 25 | 230 | 116 | 27 | 140 | |
| 32 | 320 | 153 | 33 | 180 | |
| 40 | 320 | 153 | 33 | 180 | |
| 50 | 320 | 157 | 37 | 195 |
| 型号 | 口径DN | L | H | h | W |
|
CS49H-160I KRF-900LB KRF3-900LB |
15 | 230 | 112 | 23 | 135 |
| 20 | 230 | 112 | 23 | 135 | |
| 25 | 230 | 116 | 27 | 140 | |
| 32 | 320 | 153 | 33 | 180 | |
| 40 | 320 | 153 | 33 | 180 | |
| 50 | 350 | 160 | 40 | 220 |
| 型号 | 口径DN | L | H | h | W |
|
CS69H-100I CS19H-100I HRW-600LB HRW3-600LB |
15 | 125 | 112 | 23 | 135 |
| 20 | 125 | 112 | 23 | 135 | |
| 25 | 130 | 116 | 27 | 140 | |
| 32 | 168 | 153 | 33 | 180 | |
| 40 | 168 | 153 | 33 | 180 | |
| 50 | 185 | 160 | 40 | 200 |
| 型号 | 口径DN | L | H | h | W |
|
CS69H-160I CS19H-160I HRW-900LB HRW3-900LB |
15 | 125 | 112 | 23 | 135 |
| 20 | 125 | 112 | 23 | 135 | |
| 25 | 145 | 119 | 30 | 155 | |
| 32 | 185 | 157 | 37 | 195 | |
| 40 | 185 | 157 | 37 | 195 | |
| 50 | 205 | 163 | 43 | 220 |
QQ: 769693943
Phone: 13816746668
Tel: 021-31001158
Email: 769693943
Add: 上海市金山区沪杭公路4169号