021-31001158  mmvalves@126.com

CS18H脉冲式蒸汽疏水阀

更新时间:2024-04-13 10:04:29

CS18H脉冲式蒸汽疏水阀

  • 1、产品型号:CS18H。
  • 2、公称通径:DN15~DN50。
  • 3、公称压力:1.6MPa~2.5MPa~4.0MPa。
  • 4、适用温度:-29ºC~+425ºC。
  • 5、阀体材质:铸钢、不锈钢。
  • 6、适用介质:蒸汽。
  • 7、结构形式:脉冲式。
  • 8、连接方式:法兰、内螺纹、承插焊。
  • 9、驱动方式:自动。
  • 10、制造标准:国标GB、德国DIN、美国API、ANSI。

产品说明

CS18H脉冲式热动力疏水阀有和两个孔板根据蒸汽压降变化调节阀门开关,即使阀门完全关闭入口和出口也是通过第一、第二个小孔相通,始终处于不完全关闭状态,蒸汽不断逸出,漏汽量大。该疏水阀动作频率很高,磨损厉害、寿命较短。体积小、耐水击,能排出空气和饱和温度水,接近连续排水,最大背压25%,因此使用者很少。

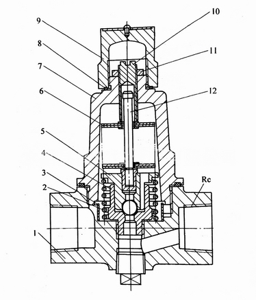
外形结构图


脉冲式:由于不同温度的凝结水通过两极串连节流孔板式,坐在两极节流孔板之间形的不同压力,驱使阀瓣动作。

上一篇:没有了 下一篇:没有了


CONTACT US

QQ: 769693943

Phone: 13816746668

Tel: 021-31001158

Email: 769693943

Add: 上海市金山区沪杭公路4169号