500X持压泄压阀
更新时间:2024-04-13 10:04:03
500X持压泄压阀
- 1、产品型号:500X。
- 2、公称通径:DN20~DN600。
- 3、工作压力:1.0MPa~1.6MPa~2.5MPa。
- 4、适用温度:-0ºC~+80ºC。
- 5、阀体材质:铸铁、铸钢、不锈钢、黄铜。
- 6、适用介质:水、污水、给排水。
- 7、结构形式:弹簧式。
- 8、连接方式:法兰。
- 9、功能作用:泄压持压。
- 10、制造标准:国标GB、德国DIN、美国API、ANSI。
产品说明
500X持压泄压阀利用水力自力控制,不需要其它装置和能源,即可以作泄压阀用又可作持压阀用。保养简便,一阀多用。广泛用于高层建筑、生活区等供水管网系统及城市供水工程。
结构特点
500X持压泄压阀由主阀、泄压导阀针阀、球阀、微形过滤器和压力表组成水力控制接管系统。利用水力自动操作,即可以作泄压阀用又可作持压阀用。作泄压阀用时,可维持供水路压力在设定的安全值之下;做持压阀用,可维持主阀上游水压在设定值之上,保持主阀上游供水压力。
工作原理
1、作泄压阀:当泄压/持压导阀调整为泄压状态时,水通过针阀、主阀控制室、球阀A、泄压/持压导阀、球阀B流向出口,此时主阀处于开启状态。当进口压力超过泄压/持压导阀设定的安全值时,泄压导阀会自动开启,通过球阀C放出部分水,使管路泄压。当压力恢复到安全值时,泄压阀自动关闭。作泄压阀时,各球阀常开。
2、作持压阀:当泄压/持压导阀调整为持压状态时,只要主阀进口水压低于导阀设定值,导阀即关闭。主要控制室升压,主阀关闭。
3、当主阀上游供水压力超过导阀设定压力时,持压导阀才能打开,控制室的水经球阀排至出口,控制室降压主阀开启,开始供水,即保持了上游水压。作持压阀用时,球阀C常闭或用丝堵换下。
技术参数
|
公称压(Mpa) |
壳体试验压力(MPa) |
密封试验压力(MPa) |
适用介质 |
介质温度(℃) |
|
1.0 |
1.5 |
1.1 |
水 |
0-80 |
|
1.6 |
2.4 |
1.76 |
|
2.5 |
3.75 |
2.75 |
主要零件
|
零件名称 |
零件材料 |
|
阀体阀盖 |
WCB |
|
阀座阀盘 |
铜合金 |
|
密封圈 O型圈 |
丁腈橡胶 |
|
阀杆 |
2Cr13 |
|
弹簧 |
50CrVA |
|
针型阀 |
铜合金 |
|
球阀 |
铜合金 |
|
浮球阀 |
铜合金 |
|
微型过滤器 |
不锈钢 |
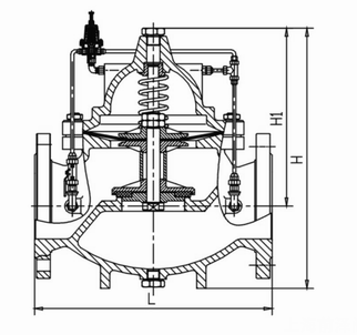
外形结构图
主要外形尺寸
|
DN |
20 |
25 |
32 |
40 |
50 |
65 |
80 |
100 |
125 |
150 |
200 |
250 |
300 |
350 |
400 |
450 |
|
L |
150 |
160 |
180 |
200 |
203 |
216 |
241 |
292 |
330 |
356 |
495 |
622 |
698 |
787 |
914 |
978 |
|
H1 |
463 |
463 |
463 |
463 |
516 |
516 |
520 |
537 |
596 |
653 |
709 |
805 |
953 |
990 |
1030 |
1030 |
|
H |
557 |
557 |
557 |
610 |
610 |
625 |
642 |
750 |
808 |
864 |
1135 |
1185 |
1325 |
1385 |
1445 |
1445 |
安装示意图
上一篇:没有了 下一篇:没有了
Top