021-31001158  mmvalves@126.com

Q641M,Q641PPL气动一体式高温球阀

更新时间:2024-04-13 10:04:55

Q641M,Q641PPL气动一体式高温球阀

  • 1、产品型号:Q641M、Q641H、Q641PPL。
  • 2、公称通径:DN15~DN100。
  • 3、公称压力:1.6Mpa~2.5MPa。
  • 4、适用温度:-20~350℃~550℃。
  • 5、阀体材质:铸钢、不锈钢。
  • 6、适用介质:水、油、蒸汽、导热油、气及某些腐蚀性液体。
  • 7、结构形式:球形。
  • 8、连接方式:法兰。
  • 9、驱动方式:手动、蜗轮、电动、气动。
  • 10、制造标准:国标GB、德国DIN、美国API、ANSI。

产品说明

Q641M,Q641PPL气动一体式高温球阀采用新型密封材料为阀座,经同类产品聚四氟乙烯做密封的球阀,使用寿命提高了3-5倍。具有性能稳定、密封可靠、磨擦力小、开关轻便、耐高温、耐磨、耐油、耐腐蚀、使用寿命长等优点,气动一体式高温球阀与截止阀、柱塞阀、排污阀,结构长度相符,扩大了球阀使用范围,广泛用于石油、化工、橡胶、造纸、制药等行业,可替代截止阀、柱塞阀、快速排污阀。适用介质:水、蒸汽、导热油等酸类,使用温度: ≤350℃,气动一体式高温球阀是由本公司自主研发设计。

产品特点

(1)流体阻力小,全通径的球阀基本没有流阻。
(2)结构简单、体积小、重量轻。
(3)紧密可靠。它有两个密封面,而且目前球阀的密封面材料广泛使用各种塑料,密封性好,能实现完全密封。在真空系统中也已广泛使用。
(4)操作方便,开闭迅速,从全开到全关只要旋转90°,便于远距离的控制。
5)维修方便,球阀结构简单,密封圈一般都是活动的,拆卸更换都比较方便。
(6)在全开或全闭时,球体和阀座的密封面与介质隔离,介质通过时,不会引起阀门密封面的侵蚀。(7)适用范围广,通径从小到几毫米,大到几米,从高真空至高压力都可应用。
(8)由于球阀在启闭过程中有擦拭性,所以可用于带悬浮固体颗粒的介质中。

性能参数

型号 公称压力
(MPa)
强度试验压力
(MPa)
密封试验压
(MPa)
适用温度
(℃)
适用介质
Q641M/H/PPL-16C 1.6 2.4 1.8 -28~+300 (M/F) 导热油、水、蒸汽、气体、油品、硝酸类腐蚀性介质、醋酸类腐蚀性介质
Q641M/H/PPL-16C 2.5 3.8 2.8 -28~+350 (PPN)

主要零部件材料

序号 零部件名称 材料
1 阀体 球墨铸铁、碳素钢、铸不锈钢
2 密封圈 (M/F)高强度耐磨碳结石墨≤300℃ (PPN)对莅聚苯、温度≤350℃
3 不锈钢
4 填料 聚四氟乙烯
5 填料压盖 QT450-10球墨铸铁
6 阀杆 碳素钢、铬不锈钢
7 手柄 碳钢

技术参数和性能

GT系列气动执行机构技术参数 阀   体   参   数
类   型 双作用活塞式、单作用弹簧复位式 公称通径 DN15~200mm
气源压力 0.4-0.7Mpa 公称压力 PN1.6、2.5MPa
输出力矩 双作用:4N·M~10560N·M 阀轴材质 碳素钢、不锈钢
单作用:7N·M~2668N·M 阀体材质 球墨铸铁、碳素钢、304/316L不锈钢
动作范围 0~90°±5° 球体材质 304/316/316L不锈钢
接口螺纹 G1/8″或G1/4″ 温   度 M≤300℃、PPL≤350℃
电气定位器 输入4~20mA信号,实现阀门调节功能。 适用介质 水、蒸汽、油品、酸碱等
手轮机构 转动手轮机构,可实现手动开、关阀。 阀座密封 高强度耐磨碳结石墨(M)、PPL 、F46、PTFE等

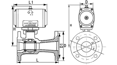
外形结构图

 

主要外形尺寸

公称通径DN L L1 H D D1
压力 1.6/2.5 1.6/2.5 1.6/2.5 1.6/2.5 1.6/2.5
15 130 140 182 95 65
20 150 140 186 105 75
25 160 158 208 115 86
32 180 158 212 136 100
40 200 210 269 146 110
50 230 248 295 160 125
65 290 248 306 180 145
80 310 268 329 195 160
100 350 345 384 215/230 180/190
125 400 410 420 245/270 210/220
150 480 438 440 280/300 240/250
200 600 487 506 335/360 295/310

结构特点及作用原理

    该型阀门中的球体、密封圈采用了特殊的加工工艺和最新密封材料,使球体表面粗糙度和圆度达到标准要求,从而提高了密封性能和使用寿命、耐高温的能力。顺时板动手柄带动阀杆驱动球体旋转,使介质顺利通过。

根据不同控制和要求可选择下列附件:

回讯器:也叫限位开关,远程反馈开关信号(可选防爆)。
电磁阀:双作用选二位五通、单作用选二位三通(可选防爆)。
三联件:可对气源稳压、过滤、气缸加润滑油。
手轮机构:转动手轮机构,可实现手动开、关阀。
电气定位器:输入4~20mA信号,实现阀门调节功能。
1、气动执行器类型:双作用、单作用。
2、介质类型、温度、压力。
3、所需附件:电磁阀、定位器、信号反馈、气源处理三联件、手动机构。