021-31001158  mmvalves@126.com

Q21F三片式活接对焊球阀

更新时间:2024-04-13 10:04:56

Q21F三片式活接对焊球阀

  • 1、产品型号:Q21F。
  • 2、公称通径:DN6~DN100。
  • 3、公称压力:1.6Mpa~6.4Mpa(W.O.G)。
  • 4、适用温度:-20~232℃~350℃。
  • 5、阀体材质:铸钢、不锈钢。
  • 6、适用介质:水、油、气及某些腐蚀性液体。
  • 7、结构形式:球形。
  • 8、连接方式:活接对焊。
  • 9、驱动方式:手动、电动、气动。
  • 10、制造标准:国标GB、德国DIN、美国API、ANSI。

产品说明

Q21F三片式活接对焊球阀适用于PN1.0~6.4MPa,工作温度-29~180℃(密封圈为增强聚四氟乙烯)或-29~300℃(密封圈为对位聚苯)的各种管路上,用于截断或接通管路中的介质。选用不同的材质,可分别适用于水、蒸汽、油品、硝酸、醋酸等多种介质。

产品特点

1由三部分组成,便于后期维护与更换。
2先进的硅溶胶工艺,结构合理、造型美观。
3阀座采用弹性密封结构,开关省力,轻巧,密封性能良好。
4阀杆采用有倒密封下装式结构,阀杆不会因为内部受压飞出,确保安全性。

产品特征

公称压力 1.6-6.4MPa
适用稳定范围 -20~232℃~350℃
适用介质 水、油、气及某些腐蚀性液体(W。O。G)
对焊标准(BW) GB12224.ANSIB16.25

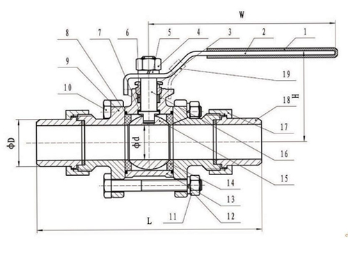
主要零件材料

零件名称 材质
阀体 不锈钢CF8M 碳钢WCB
密封圈 聚四氟乙烯PTFE 聚四氟乙烯PTFE
阀盖 不锈钢CF8M 碳钢WCB
球体 不锈钢SS316 不锈钢SS304
阀杆 不锈钢SS316 不锈钢SS316
螺母 不锈钢SS304 不锈钢SS304
垫圈 不锈钢SS304 不锈钢SS304
手柄套 塑料 塑料
手柄 不锈钢SS304 不锈钢SS304
阀杆螺母 不锈钢SS304 不锈钢SS304
填料压盖螺母 不锈钢SS304 不锈钢SS304
填料 聚四氟乙烯PTFE 聚四氟乙烯PTFE
止推垫圈 聚四氟乙烯PTFE 聚四氟乙烯PTFE
螺栓 不锈钢SS304 不锈钢SS304

外形结构图

主要连接尺寸及重量

SIZE 1/4" 3/8" 1/2" 3/4" 1" 1-1/4" 2-1/2" 2"
d 11.6 12.7 15 20 25 32 38 50.8
D 17 17 21 26 31 38 46 60
L 150 150 180 195 210 225 260 300
H 48 48 54 57 72 79 81 97
E 120 120 120 130 154 154 185 185