一、AV高速双孔排气阀的用途
AV高速双孔排气阀适用于工作介质为水的管道上,作为排除管道内气体的设备,以提高输送水设备的效率和保护管道不致变形、破裂,是管道必备之设备。
二、AV高速双孔排气阀的性能特点
1、能够排除管道内的气体,减少阻力,节约能源。
2、当管道负压时本产品能自动吸入空气防止管道破裂。
3、浮球为不锈钢,使用寿命长,安全可靠。
三、AV高速双孔排气阀的技术参数
1、使用介质:清水
2、介质温度:常温
3、壳体温度、试验压力:1.5mpa
4、浮球密封试验压力:0.05mpa-1.1mpa
5、阀体材质:铸钢、铸铁、不锈钢
6、浮动材料:不锈钢
7、法兰连接标准:gb/t 12741.6-98
8、试压标准:q/yfc01-2003
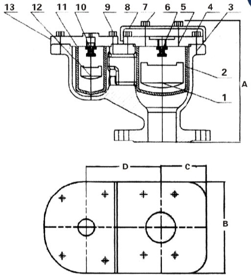
四、AV高速双孔排气阀外形结构及尺寸图



QQ: 769693943
Phone: 13816746668
Tel: 021-31001158
Email: 769693943
Add: 上海市金山区沪杭公路4169号