
![]() |
![]() |
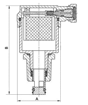
| 高温密封圈:耐高温密封圈不易软化,偶尔高温下使用不泄漏。 | 加粗设计:加厚加粗保证管路临时超压使用亦不必担心安全问题。 |
![]() |
![]() |
| 可拆卸设计:人性化设计,可拆卸,使用更方便。 | 不锈钢结构:不锈钢结构具有防腐作用,使用寿命更长。 |
| 公称压力 | 1.0MPa |
| 阀座试验压力 | 1.1MPa |
| 阀体试验压力 | 1.5MPa |
| 产品型号 | 公称通径 | A | B | G |
| AVAX | 10 | 49 | 87 | 3/8" |
| AVAX | 15 | 49 | 87 | 1/2" |
| AVAX | 20 | 49 | 87 | 3/4" |
| AVAX | 25 | 49 | 87 | 1" |
QQ: 769693943
Phone: 13816746668
Tel: 021-31001158
Email: 769693943
Add: 上海市金山区沪杭公路4169号