| 零件名称 | 阀杆、阀盖 | 阀杆、阀瓣 | 填料 |
| J11W-16P | 铬镍不锈钢 | 铬镍不锈钢 | 聚四乙氟乙稀、柔性石墨 |
| J11W-160、J13W-40 | 优质碳钢 | 优质碳钢 |
| 形号 |
公称压力 (MPa) |
试验压力(MPa) | 工作压力(MPa) |
工作温度 (℃) |
适用介质 | ||
| 壳体 | 密封(液) | 密封(气) | |||||
| J11W-16 | 1.6 | 2.4 | 1.76 | 0.6 | 1.6 | P≤540℃ | 液化石油气水、酸、蒸汽、油品等 |
| J11W40P | 4.0 | 6.0 | 4.4 | 0.6 | 4.0 | ||
| J11W-160 | 16.0 | 24.0 | 17.6 | 0.6 | 16.0 | C≤425℃ | |
| J11W-320P | 32.0 | 48.0 | 35.2 | 0.6 | 32.0 | ||

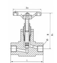
| 公称直径DN(mm) | 管螺纹 | 尺寸 | 重量(Kg) | ||||
| Do | L | H | H1 | d | |||
| 6 | 1/4 | 60 | 55 | 90 | 100 | 4 | 0.63 |
| 10 | 3/8 | 60 | 60 | 92 | 102 | 5 | 0.65 |
| 15 | 1/2 | 65 | 65 | 97 | 107 | 6 | 0.8 |
| 20 | 3/4 | 80 | 80 | 109 | 121 | 8 | 1.07 |
| 25 | 1 | 100 | 90 | 122 | 132 | 10 | 1.8 |
| 32 | 11/4 | 140 | 128 | 180 | 191 | 15 | 5.0 |
| 40 | 11/2 | 160 | 148 | 200 | 215 | 18 | 7.2 |
| 零件名称 | 阀杆、阀盖 | 阀杆、阀瓣 | 填料 |
| J21W-16P | 铬镍不锈钢 | 铬镍不锈钢 | 聚四氟乙稀、柔性石墨 |
| J21W-160 | 优质碳钢 | 铬不锈钢 |
| 形号 | 公称压力(MPa) | 试验压力(MPa) | 工作压力(MPa) | 工作温度(℃) | 适用介质 | ||
| 壳体(MPa) | 密封 | 密封(气) | |||||
| J21W -16 | 1.6 | 2.4 | 1.76 | 0.6 | 1.6 | P≤540℃ | 液化石油气水、酸、蒸汽、油品等 |
| J21W 40P | 4.0 | 6.0 | 4.4 | 0.6 | 4.0 | ||
| J21W-160 | 16.0 | 24.0 | 17.6 | 0.6 | 16.0 | C≤425℃ | |
| J21W -320P | 32.0 | 48.0 | 35.2 | 0.6 | 32.0 | ||

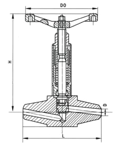
| 公称直径(mm) | 尺寸 | 重量(Kg) | ||||||
| Do | D1 | D2 | L | H1 | H2 | M | ||
| 6 | 65 | 14 | 6 | 140 | 96 | 106 | 20×1.5 | 0.9 |
| 10 | 80 | 18 | 10 | 160 | 115 | 125 | 24×1.5 | 1.18 |
| 15 | 100 | 22 | 15 | 180 | 122 | 132 | 30×2 | 2.0 |
| 20 | 110 | 28 | 18 | 220 | 156 | 166 | 36×2 | 3.5 |
| 25 | 140 | 33 | 22 | 230 | 169 | 180 | 39×2 | 4.3 |
| 零件名称 | 阀杆、阀盖、螺栓 | 阀杆、阀瓣密封圈 | 填料 | 垫片 | 手柄 |
| J61Y-170V | 铬镍不锈钢 | 不锈钢 | 聚四氧乙稀、柔性石墨PTEF | 橡胶石棉板 |
优质碳钢 |
|
形号 Type |
公称压力 (MPa) |
试验压力PS(MPs) | 工作压力(MPa) | 工作温度(℃) | 适用介质 | ||
| 壳体Shell |
密封 (液) |
密封 (气)Seal |
|||||
| J61Y-170V | 24.0 | 7.0 | 17.6 | 0.6 | 17.0 | V≤570℃ | 电站、石油气、水、油品等 |
| FJ61Y-160p | 24.0 | 16.0 | 17.6 | 0.6 | 16.0 | P≤200℃ | |
| T61Y-320 | 24.0 | 16.0 | 17.6 | 0.6 | 16.0 | C≤200℃ | |
| 24.0 | 16.0 | 17.6 | 0.6 | 16.0 | C≤200℃ | ||

| 公称直径(mm) | 尺寸(mm) | 重量(Kg) | ||||
| Do | L | H | H1 | D | ||
| 6 | 80 | 100 | 100 | 110 | 8 | 1.20 |
| 10 | 80 | 120 | 100 | 110 | 8 | 1.50 |
| 15 | 100 | 130 | 120 | 130 | 12 | 1.70 |
| 20 | 120 | 145 | 150 | 165 | 15 | 2.60 |
| 25 | 140 | 170 | 165 | 190 | 18 | 4.30 |
| 序号NO. | 零件名称Part name | 材质Material |
| 1 | 卡套 Ferrule & Ferrule Set | 20# A105 SS304 SS304L SS316 SS316L |
| 2 | 连接螺母 Connector Nut | 20# A105 SS304 SS304L SS316 SS316L |
| 3 | 阀体 Body | 20# A105 SS304 SS304L SS316 SS316L |
| 4 | 阀盖垫片 Bonnet Gasket | 紫铜(Red copper) PTFE RTFE |
| 5 | 阀盖Bonnet | 20# A105 SS304 SS304L SS316 SS316L |
| 6 | 填料垫 Packing Seat |
PTFE 柔性石墨(Expanded Graphite) 金属盘根(Matel and Graphite) |
| 7 | 填料 Packing | PTFE 柔性石墨(Expanded Graphite) |
| 8 | 填料压盖 Packing Gland | 20# A105 SS304 SS304L SS316 SS316L |
| 9 | 锁紧螺母 Lock Nut | 20# A105 SS304 SS304L SS316 SS316L |
| 10 | 阀杆 Stem | 20# A105 SS304 SS304L SS316 SS316L |
| 11 | 手轮 Handle | 20# A105 SS304 SS304L SS316 SS316L |
| 12 | 带帽螺母 Hooded Nut | 20# A105 SS304 SS304L SS316 SS316L |

| ITEM NO. | D0 | L | H | D1 |
| J91W/H-1 | ø8 | 80 | 92 | ø70 |
| J91W/H-2 | ø10 | 89 | 95 | ø70 |
| J91W/H-3 | ø12 | 92 | 98 | ø70 |
| J91W/H-4 | ø14 | 95 | 101 | ø70 |
| J91W/H-5 | ø18 | 100 | 113 | ø80 |

| ITEM NO. | D0 | L | H | D1 |
| J94W/H-1 | ø8 | 38 | 92 | ø70 |
| J94W/H-2 | ø10 | 38 | 92 | ø70 |
| J94W/H-3 | ø12 | 39 | 92 | ø70 |
| J94W/H-4 | ø14 | 40 | 94 | ø70 |
| J94W/H-5 | ø18 | 42 | 100 | ø80 |
| 零件名称 | 阀体、阀盖、螺栓 | 阀杆、阀瓣、密封圈 | 填料 | 垫片 | 手轮 |
|
JJM8 160P DN3-50 |
铬镍不锈钢 | 不锈钢 | 聚四氟乙稀、柔性石墨 | 橡胶石棉板 | 优质碳钢 |
| 形号 | 公称压力(MPa) | 试验压力(MPa) | 工作压力(MPa) | 工作温度(℃) | 适用介质 | ||
| 壳体 (MPa) | 密封 (液) |
密封 (气) |
|||||
|
JJM8-160P |
16.0 | 24.0 | 17.6 | 0.6 | 16.0 | P≤540℃ | 液化石油气水、酸、蒸汽、油品等 |
| C≤425℃ | |||||||

| 形号 | 公称直径(mm) | 尺寸 | 重量(Kg) | ||||||
| L | L1 | Do | H | H1 | M1 | M2 | |||
| JJM8-160 | 116 | 85 | 65 | 116 | 128 | M20×1.5左 | M20×1.5右 | 1.0 | |
| 零件名称 | 阀体、阀盖、螺栓 | 阀杆、阀瓣、密封圈 | 填料 | 垫片 | 手轮 |
| JJM1-160-DN3-50 | 铬镍不锈钢 | 不锈钢 | 聚四氟乙稀、柔性石墨 | 橡胶石棉板 | 优质碳钢 |
| 形号 | 公称压力(MPa) | 试验压力(MPa) |
工作压力 (MPa) |
工作温度 (℃) | 适用介质 | ||
| 壳体 (MPa) |
密封 (液) |
密封 (气) |
|||||
| JJM1-160 | 16.0 | 24.0 | 17.6 | 0.6 | 16.0 | P≤540℃ | 液化石油气水、酸、蒸汽、油品等 |
| C≤425℃ | |||||||

| 形号 | 公称直径(mm) | 尺寸 | 重量 (Kg) | |||||||
| L1 | Do | L2 | H | H1 | L3 | M1 | M2 | |||
| JJM1-160 | 116 | 65 | 85 | 98 | 105 | 40 | M20×1.5左 | M20×1.5 | 1.0 | |
| G1/2′右 | ||||||||||
QQ: 769693943
Phone: 13816746668
Tel: 021-31001158
Email: 769693943
Add: 上海市金山区沪杭公路4169号