021-31001158  mmvalves@126.com

J11W,J13W内螺纹针型截止阀

更新时间:2024-04-13 10:04:45

J11W,J13W内螺纹针型截止阀

  • 1、产品形号:J11W,J13W。
  • 2、公称通径:DN3~DN25。
  • 3、公称压力:16.0MPa~32.0MPa。
  • 4、适用温度:-29ºC~+550ºC。
  • 5、阀体材质:WCB、铸钢、碳钢、不锈钢。
  • 6、适用介质:水、油、蒸汽、气体、液体。
  • 7、结构形式:截止式。
  • 8、连接方式:内螺纹。
  • 9、驱动方式:手轮。
  • 10、制造标准:国标GB、德国DIN、美国API、ANSI。

产品说明

J11W,J13W内螺纹针型截止阀密封性良好,一般用于较小流量,适用于较高压力的气体或液体(如蒸汽、油品)介质的密封。使用寿命长,即使密封面损坏后,也只需要更换易损零件,即可继续使用。广泛用于石油、化工、电厂、冶金等行业。

主要零部件材料

零件名称 阀杆、阀盖 阀杆、阀瓣 填料
J11W-16P 铬镍不锈钢 铬镍不锈钢 聚四乙氟乙稀、柔性石墨
J11W-160、J13W-40 优质碳钢 优质碳钢

主要性能规范

形号 公称压力
(MPa)
试验压力(MPa) 工作压力(MPa) 工作温度
(℃)
适用介质
壳体 密封(液) 密封(气)
J11W-16 1.6 2.4 1.76 0.6 1.6 P≤540℃ 液化石油气水、酸、蒸汽、油品等
J11W40P 4.0 6.0 4.4 0.6 4.0
J11W-160 16.0 24.0 17.6 0.6 16.0 C≤425℃
J11W-320P 32.0 48.0 35.2 0.6 32.0

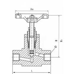
外形结构图

 

主要外形及连接尺寸

公称直径DN(mm) 管螺纹 尺寸 重量(Kg)
Do L H H1 d
6 1/4 60 55 90 100 4 0.63
10 3/8 60 60 92 102 5 0.65
15 1/2 65 65 97 107 6 0.8
20 3/4 80 80 109 121 8 1.07
25 1 100 90 122 132 10 1.8
32 11/4 140 128 180 191 15 5.0
40 11/2 160 148 200 215 18 7.2

上一篇:没有了 下一篇:没有了


CATEGORIES

CONTACT US

QQ: 769693943

Phone: 13816746668

Tel: 021-31001158

Email: 769693943

Add: 上海市金山区沪杭公路4169号