021-31001158  mmvalves@126.com

J61W,J61Y焊接式针型截止阀

更新时间:2024-04-13 10:04:45

J61W,J61Y焊接式针型截止阀

  • 1、产品形号:J61W,J61Y。
  • 2、公称通径:DN3~DN25。
  • 3、公称压力:16.0MPa~32.0MPa。
  • 4、适用温度:-29ºC~+550ºC。
  • 5、阀体材质:WCB、铸钢、碳钢、不锈钢。
  • 6、适用介质:水、油、蒸汽、气体、液体。
  • 7、结构形式:截止式。
  • 8、连接方式:焊接式。
  • 9、驱动方式:手轮。
  • 10、制造标准:国标GB、德国DIN、美国API、ANSI。

产品说明

J61W,J61Y焊接式针型截止阀密封性良好,一般用于较小流量,适用于较高压力的气体或液体(如蒸汽、油品)介质的密封。使用寿命长,即使密封面损坏后,也只需要更换易损零件,即可继续使用。广泛用于石油、化工、电厂、冶金等行业。

主要零件材料

零件名称 阀杆、阀盖、螺栓 阀杆、阀瓣密封圈 填料 垫片 手柄
J61Y-170V 铬镍不锈钢 不锈钢 聚四氧乙稀、柔性石墨PTEF 橡胶石棉板 优质碳钢

 

主要性能规范

型号
Type
公称压力
(MPa)
试验压力PS(MPs) 工作压力(MPa) 工作温度(℃) 适用介质
壳体Shell 密封
(液)
密封
(气)Seal
J61Y-170V 24.0 7.0 17.6 0.6 17.0 V≤570℃ 电站、石油气、水、油品等
FJ61Y-160p 24.0 16.0 17.6 0.6 16.0 P≤200℃
T61Y-320 24.0 16.0 17.6 0.6 16.0 C≤200℃
24.0 16.0 17.6 0.6 16.0 C≤200℃

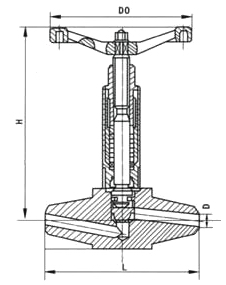
外形结构图

 

主要外型及连接尺寸

公称直径(mm) 尺寸(mm) 重量(Kg)
Do L H H1 D
6 80 100 100 110 8 1.20
10 80 120 100 110 8 1.50
15 100 130 120 130 12 1.70
20 120 145 150 165 15 2.60
25 140 170 165 190 18 4.30

上一篇:没有了 下一篇:没有了


CATEGORIES

CONTACT US

QQ: 769693943

Phone: 13816746668

Tel: 021-31001158

Email: 769693943

Add: 上海市金山区沪杭公路4169号