021-31001158  mmvalves@126.com

YZ11X全铜支管减压阀

更新时间:2024-04-13 10:04:24

YZ11X全铜支管减压阀

  • 1、YZ11X。
  • 2、公称通径:DN15~DN50。
  • 3、工作压力:1.0MPa~1.6MPa。
  • 4、适用温度:-20ºC~+80ºC。
  • 5、阀体材质:黄铜。
  • 6、适用介质:水、饱和蒸汽。
  • 7、结构形式:活塞式。
  • 8、连接方式:内螺纹。
  • 9、功能作用:减压后稳压。
  • 10、制造标准:国标GB、德国DIN、美国API、ANSI。

产品说明

YZ11X全铜支管减压阀主要用于各种建筑给水系统、消防系统、中央空调系统、采暖系统等。它用于支管减压,可使供水压力分配更加均衡,避免部分供水超压,优化高层建筑给水分区。它可代替分区调频变速水泵,在消防给水系统上可代替分区水泵,用于家用给水系统,可保护所有的水龙头和其它水器具。

结构特点

1、采用直接作用隔膜式结构,内部结构非常简单,无卡阻,性能可靠,经久耐用。
2、耐脏防水垢,不需过滤器,不需旁通管,配管极其简单,能节省大量空间和配管成本。
3、极佳的水力特性,压力损失小,减压比可达成10:1以上。
4、可满足多种减压要求,特别适用于支管减压系统。
5、出口压力精密可调,在一般场合下,可以认为出口压力不受进口压力的影响(出口压力的变化量是△P1的8%)。

工作原理

出口压力作用在隔膜底面和阀瓣底面,当它超过弹簧设定值时,压缩弹簧,使阀瓣关闭。只要下游无水流动,出口压力将基本保持在设定值(其变化量仅为入口压力变化量的8%);当下游用水时,出口压力下降,弹簧推开隔膜,打开减压阀。水流连续流通一阵后,减压阀的开启产生自阻尼效应,使启闭动作趋于平稳。

技术参数

类型 型号 公称压力
PN(MPa)
公称通径
DN(MPa)
连接形式 阀体材料 出口压力(MPa) 工作℃
全铜支管减压阀 YZ11X-16T
YZ11X-25T
1.6,2.5 15~50 内螺纹 青钢 0.05~0.6(可调) 80
YZ11X-16P
YZ11X-25P
不锈钢

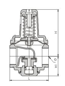
外形结构图

 

主要外形尺寸

公称通径DN(MPa) 尺寸(MM) 重量(Kg)
MM in H1 L H φG
15 1/2 31 60 76.5 59 1.2
20 3/4 31 75 76.5 73 1.2
25 1 36 88 85 81 1.4
32 11/4 42 93 98 81 1.5
40 11/2 45 98 102 85 2
50 2 54 130 117 98 2.65

上一篇:没有了 下一篇:没有了


CATEGORIES

CONTACT US

QQ: 769693943

Phone: 13816746668

Tel: 021-31001158

Email: 769693943

Add: 上海市金山区沪杭公路4169号