
服务热线021-31001158
您的位置:德国托马斯阀门(Thomas) - 公司新闻

产品信息
产品型号:ML849
产品口径:DN50-DN1200
产品压力:1.6Mpa
产品材质:铸铁 碳钢 不锈钢
进口电动对夹蝶阀是由高精度电动执行器与对夹式蝶阀组成,执行器采用一体化结构,开关型有输入AC220V(常压)电压, 输出无源触点信号(或开关到位灯信号),调节型有输入(DC4-20mA或DC1-5V)的控制信号及单相电源即可控制运转,精小型电动蝶阀具有功能强,体积小,轻便宜人,性能可靠,配套简单,流通能力大,特别适合于介质是粘稠,含颗粒,纤维性质的场合。电动对夹蝶阀可广泛应用于食品、环保、轻工、石油、化工、教学设备、造纸、电力等行业的工业过程自动控制系统中。
进口对夹式电动蝶阀参数: |
| 阀体材质 | 执行器参数 |
| 公称通径:DN40-DN1200 | 传动方式:电动(带手动) |
| 公称压力:1.0Mpa-1.6Mpa | 控制电源:110/220V AC;50/60Hz |
| 适用温度:-20℃~120℃ | 动作时间:10s;30s;45s;135s |
| 适用介质:水、气、油 | 防护等级:IP65;IP67可定制IP68 |
| 阀体材质:铸铁、球墨铸铁、铸钢、不锈钢 | 保护装置:内置过热保护、过载保护 |
| 连接方式:对夹连接 | 控制方式:开关型、无源触点信号、开度信号、智能型 |
进口对夹式电动蝶阀特性: |
①功能强劲:智能型、调节型、开关式;
②体积小巧:体积仅相当于同类产品的35%左右;
③使用方便:采用单相电源,接线简单;采用独创的球型凸出结构,使观察更方便;免加油免点检、防水防锈、任意角度安装;
④保护装置有双重限位、过热保护、过载保护。全行程时间15秒、30秒、45秒、60秒。及带手动功能;
⑤智能数控:内置模块采用先进计算机单片及智能控制软件直接接收计算机或工业仪表等输出的标准信号(4-20mA DC/1-5VDC)实现阀门开度的智能控制和精确定位。
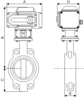
进口对夹式电动蝶阀尺寸: |
![]() |
| 主要连接外形和尺寸 |
单位:mm
|
| 通径 | 40 | 50 | 60 | 80 | 100 | 125 | 150 | 200 | 250 | 300 | 350 | 400 | 450 | 500 |
| E | 32 | 43 | 46 | 46 | 52 | 56 | 56 | 60 | 68 | 78 | 78 | 102 | 114 | 127 |

联系电话
微信扫一扫