
服务热线021-31001158
您的位置:德国托马斯阀门(Thomas) - 公司新闻

产品信息
产品型号:ml-896
产品口径:DN15-DN50
产品压力:1.6Mpa
产品材质:碳钢 不锈钢
进口热静力膜盒式蒸汽疏水阀根据阀腔内温度的变化使得波纹管内感温液体的汽化或冷凝,波纹管的内压产生变化而驱使波纹管带动阀芯作位移启闭阀座孔,达到阻汽排水。
进口疏水阀作用:当蒸汽冷凝时释放蒸发焓形成冷凝水,冷凝水中只含有饱和水焓,为了确保系统的较大传热效率,冷凝水必须从系统中排除。蒸汽中所携带的空气和其它不凝性气体在蒸汽和换热面上形成热阻层同样也必须从系统中排除。疏水阀的基本作用是将蒸汽系统中的凝结水、空气和二氧化碳气体尽快排出;同时较大限度地自动防止蒸汽的泄漏。

热静力膜盒式蒸汽疏水阀原理图
进口膜盒式蒸汽疏水阀参数: |
公称通径:DN15-DN50
公称压力:1.0Mpa-2.5Mpa
适用温度:-20℃≤T≤425 ℃
适用介质:水、蒸汽、油品
阀体材质:铸钢、碳钢、不锈钢
连接方式:丝扣螺纹
进口膜盒式蒸汽疏水阀特性: |
①结构简单,维护方便;
②部件全部采用合金处理不锈钢,耐磨耐气蚀;
③排空能力强,排水迅速,安装方式随意;
④可以实现多个膜盒组合,使用于大的排量场合;
⑤零泄漏,背压率达到75%以上。

a/图中曲线标注的编号(4、8、12等)代表相应工作压差下的排量及阀座代号
b/压差是指疏水阀的入口端与出口端的压力差
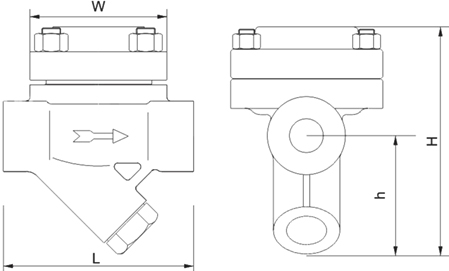
进口膜盒式蒸汽疏水阀尺寸: |
![]() |
主要连接外形和尺寸 |
单位:mm
|
| DN | 15 | 20 | 25 | 32 | 40 | 50 |
| L | 100 | 100 | 120 | 150 | 160 | 160 |

联系电话
微信扫一扫