
服务热线021-31001158
您的位置:德国托马斯阀门(Thomas) - 公司新闻
产品信息
产品型号:ml-4564
产品口径:DN15-DN100
产品压力:1.6Mpa
产品材质:碳钢 不锈钢
进口汽水分离器利用蒸汽流向急剧转换方式,将蒸汽和蒸汽中含有的悬浮状水滴分离开,提高了产品质量和生产效率。
工作原理:大量含水的蒸汽进入汽水分离器,并在其中以离心向下倾斜式运动,夹带的水份由于速度降低而被分离出来,被分离的液体流经疏水阀排出,干燥清洁的蒸汽从分离器出口排出。
进口疏水阀作用:当蒸汽冷凝时释放蒸发焓形成冷凝水,冷凝水中只含有饱和水焓,为了确保系统的较大传热效率,冷凝水必须从系统中排除。蒸汽中所携带的空气和其它不凝性气体在蒸汽和换热面上形成热阻层同样也必须从系统中排除。疏水阀的基本作用是将蒸汽系统中的凝结水、空气和二氧化碳气体尽快排出;同时较大限度地自动防止蒸汽的泄漏。
公称通径:DN15-DN200
公称压力:1.0Mpa-2.5Mpa
适用温度:-20℃≤T≤425 ℃
适用介质:水、蒸汽、油品
阀体材质:铸钢、碳钢、不锈钢
连接方式:丝扣螺纹、法兰连接
①为蒸汽设备提供高干度蒸汽,送往用汽设备,提高设备的热效率,降低管道内的冲击力;
②并止水击,而分离出来的凝结水,有分离器下部的疏水阀排出;
③CF41型汽水分离器也适用于压缩空气中分离凝结水。
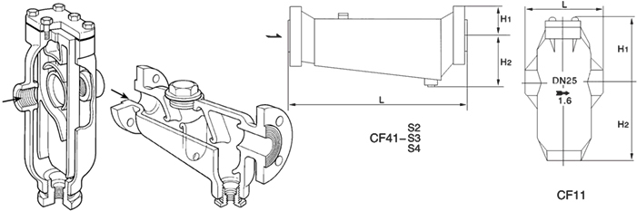
| 主要连接外形和尺寸 |
单位:mm
|
| DN | 15 | 20 | 25 | 32 | 40 | 50 | 65 | 80 | 100 | 125 | 150 |
| L(CF11) | 130 | 130 | 150 | ||||||||
| L(CF41) | 320 | 320 | 320 | 320 | 460 | 460 | 490 | 510 | 510 | 590 | 590 |
注:此外形尺寸为1.6Mpa压力疏水阀。
进口疏水阀根据原理作用的不同,可分为以下三种类型:机械型、依靠蒸汽疏水阀内凝结水液位高度的变化而动作;热静力型、依靠液体温度的变化而动作;热动力型、依靠液体的热动力学性质的变化而动作,一个蒸汽疏水阀的排水能力不能满足要求时,可并联安装几个蒸汽疏水阀。
订货须知:请您尽量了解口径、压力、使用介质及工况条件,以便我公司提供更准确、更有针对性的服务。以上阀门产品电子样本所涵盖的参数表、性能表、尺寸表、图片、文字描述等信息,仅为阀门说明书的一部分,供选型参考之用。为了方便我公司生产及技术人员为您准确选型。如您对本文中的阀门产品内容有任何疑问.您可以致电给我们,我们一定会尽心尽力为您提供优质的服务!

联系电话
微信扫一扫