FA460不锈钢法兰浮球阀由曲臂和浮球制动控制水塔或水池的液面,保养简单,灵活耐用,液位控制准确度高,水位不受水压干扰且开闭紧密不漏水。
工作原理
法兰不锈钢浮球阀主要应用于水箱系统,作为控制水箱水位高低的阀门产品之一。阀门采用液位杠杆原理,通过水位的高低作用于浮球,来实现浮球阀的开启与关闭。浮球始终都要漂在水上,当水面上涨时,浮球也跟着上升。浮球上升就带动连杆也上升。不锈钢浮球阀连杆与另一端的阀门相连,当上升到一定位置时,连杆支起橡胶活塞垫,封闭水源。当水位下降时,浮球也下降,连干又带动活塞垫开启。
特点
①采用不锈钢压铸技术,使各部件间精良配合,不存在腐蚀松脱或紧卡现象,确保球阀长时间稳定工作,同时不锈钢构件设计使球阀在高湿环境中工作无化学腐蚀反应,使食用水清纯、健康;
②杠杆式力学构思:本产品独创杠杆式杆浮力传动,使球体浮力传动得到倍数增长,密封压力高达6kg以上,大大高于6kg密封压力的国家标准。并配合垂直阀蕊稳定传动,全面解决浮球阀因阀蕊受力不平衡易失效现象,确保浮球阀的工作可靠性。
不锈钢法兰浮球阀与黄铜法兰浮球阀区别
(1)不锈钢法兰浮球阀具有耐腐蚀,耐高温,黄铜法兰浮球阀比不锈钢法兰浮球阀差。
(2)不锈钢法兰浮球阀工作压力最大可达1.6MPA,黄铜法兰浮球阀最大压力控制在0.8MPA.
(3)不锈钢法兰浮球阀在杠长度大小、球直径大小可根据客户要求特殊订做,黄铜法兰浮球阀不易于订做。
(4)不锈钢法兰浮球阀可加入液位调节齿轮杆组(即方向可调),使水池液面在调节杆长度范围内可任意调整,以满足不同情况的需要。黄铜法兰浮球阀不带有方向可调节功能。
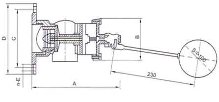
技术参数
| 公称通径DN(mm) | 40(1-1/2")~300(12") |
| 公称压力PN(Mpa) | 1.0~1.6 |
| 使用温度(℃) | -10~85 |
| 适用介质 | 清水 |
| 零件名称 | 材质属性 |
| 阀体 | 不锈钢 |
| 杠杆 | 不锈钢 |
| 浮球 | 不锈钢 |

| 口径 | DN40 | DN50 | DN65 | DN80 | DN100 | DN150 | DN200 | DN250 | DN300 |
| A | 164 | 178 | 210 | 236 | 262 | 270 | 330 | 520 | 600 |
| B | 63 | 63 | 112 | 117 | 130 | 159 | 211 | 350 | 425 |
| C | 110 | 125 | 145 | 160 | 180 | 240 | 295 | 350 | 400 |
| D | 145 | 160 | 180 | 195 | 215 | 280 | 335 | 390 | 440 |
| n | 4 | 4 | 4 | 4 | 8 | 8 | 8 | 12 | 12 |
| E | 18 | 18 | 18 | 18 | 18 | 23 | 23 | 23 | 23 |


QQ: 769693943
Phone: 13816746668
Tel: 021-31001158
Email: 769693943
Add: 上海市金山区沪杭公路4169号